Котел Ariston GENUS PREMIUM HP 85 - инструкция пользователя по применению, эксплуатации и установке на русском языке. Мы надеемся, она поможет вам решить возникшие у вас вопросы при эксплуатации техники.
Если остались вопросы, задайте их в комментариях после инструкции.
"Загружаем инструкцию", означает, что нужно подождать пока файл загрузится и можно будет его читать онлайн. Некоторые инструкции очень большие и время их появления зависит от вашей скорости интернета.

32
instrukcja obsługi
руководство пользователя
Uruchomienie jednego z programów ustawionych fabrycznie
Aby aktywować jeden z tygodniowych programów ustawionych fabrycznie,
należy wykonać następujące czynności:
- nacisnąć przycisk M
ENU
/O
K
miga cyfra menu
0
0
00
- obracać encoder
aż do wyboru menu
1
1
00
- nacisnąć przycisk M
ENU
/O
K
, aby wejść w parametry
- obracać encoder
zgodnie z ruchem wskazówek zegara, dopóki na
wyświetlaczu nie ukaże się napis
“
Wybór strefy do programowania
”
105
- nacisnąć przycisk M
ENU
/O
K
, aby dokonać wyboru strefy ogrzewania
- obracać encoder
i wybrać
“Strefa 1” lub “Strefa 2” ( jeśli obecna)
- nacisnąć przycisk M
ENU
/O
K
, aby potwierdzić wybór strefy
- obracać encoder
aż do wyboru opcji
“Programy fabryczne”
106
- nacisnąć przycisk M
ENU
/O
K
, aby wejść w programy ustawione fabrycznie
- obracać enkoder wybierając jeden z 3 wprowadzonych programów (np:
Prog Ustaw Fabr 2)
- nacisnąć przycisk M
ENU
/O
K
, aby potwierdzić wybór
- Nacisnąć przycisk Esc, aby wyjść z menu.
Выбор одной из предварительно заданных программ
Для активации одной из предварительно заданных программ работы
котла на неделю:
- нажмите кнопку Menu/Ok; на дисплее отобразится 000;
- поворачивая ручку-регулятор, перейдите к нужному меню;
- для входа в выбранное меню нажмите кнопку Menu/Ok;
- поворачивая ручку-регулятор по часовой стрелке, выберите
параметр 105 “Зона, для которой будет задана программа”;
- для выбора нужной зоны нажмите кнопку Menu/Ok;
- поворачивая ручку-регулятор, выберите параметр “Обогрев зоны
1” или “Обогрев зоны 2” (если она есть);
- для подтверждения выбранной зоны нажмите кнопку Menu/Ok;
-
поворачивая ручку-регулятор, выберите параметр 106
“Предварительно заданные программы”;
-
для подтверждения выбранного параметра нажмите кнопку
Menu/Ok;
-
поворачивая ручку-регулятор, выберите одну из трех
предварительно заданных программ (например, “Предварительно
заданная программа 2”);
-
для подтверждения выбранной программы нажмите кнопку
Menu/Ok;
- для выхода из меню и восстановления нормального состояния
дисплея нажмите кнопку Esc.
Zmiana programu ustawionego fabrycznie
Aby dostosować programowanie godzinowe do własnych potrzeb,
można zmienić program ustawiony fabrycznie.
Wejść w menu 1, zgodnie ze wskazówkami zawartymi na poprzedniej
stronie, i obracać enkoder aż do wyświetlenia dni lub dnia, dla których
zamierza się zmienić program ustawiony fabrycznie.
Przykład:
109
“sabato -> domenica” do zmiany jak określono
poniżej
I PRZEDZIAŁ CZASOWY
od 00.00 do 07.00
Okres OFF
II PRZEDZIAŁ CZASOWY
od 07.00 do 22.00
Okres ON
III PRZEDZIAŁ CZASOWY
od 22.00 do 23.59
Okres OFF
Nacisnąć przycisk M
ENU
/O
K
aby wejść w
tryb wprowadzania zmian.
Na wyświetlaczu pojawi się napi
“Przeuń
“Przeuń
kursor”
kursor”, obracając enkoder należy ustawić
kursor na przedziale czasowym, jaki ma
być zmieniony – kursor miga, a na zegarze
wskazywana jest godzina, ustawiana w
modułach 15 minutowych.
Wyświetlanie na wyświetlaczu ustawionego programu
Wyświetlanie na wyświetlaczu ustawionego programu
Aby wyświetlić na wyświetlaczu wybrany program należy ponownie wejść
w menu 1, zgodnie z powyższymi wskazówkami, i obracać enkoder aż do
wyświetlenia się komunikatu
“Wyświetl ustawienie stref ”
104
.
Nacisnąć przycisk M
ENU
/O
K
aby dokonać wyboru programu godzinowego,
który ma być wyświetlony. Obracając enkoder
wybiera się żądaną strefę
ogrzewania (np.:
“Strefa 1”).
Naciskając ponownie przycisk M
ENU
/O
K
, potwierdza się wybór i program
ukazuje się na wyświetlaczu.
Aby aktywować program należy po
wyjściu z menu nacisnąć przycisk O
ROLOGIO
,
na wyświetlaczu pojawi się symbol .
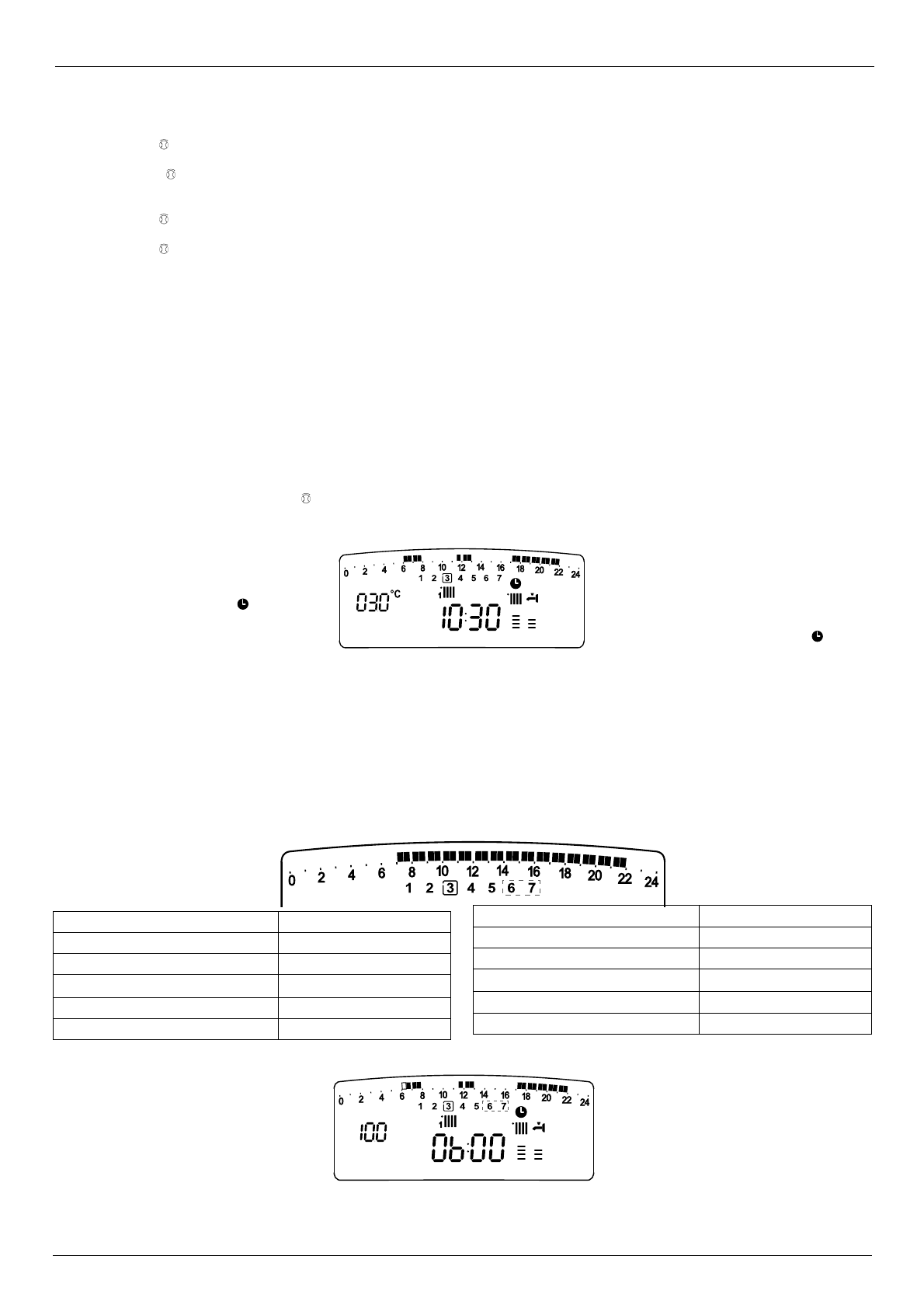
Изменение предварительно заданной программы
Для того чтобы программа работы котла в точности соответствовала
Вашим требованиям, ее можно изменить.
Войдите в меню 1, как описано выше, и, поворачивая ручку-регулятор,
выберите программу, которую Вы хотите изменить.
Например, Вы выбрали параметр
109
“Программа с субботы по
воскресенье”
ИНТЕРВАЛ ВРЕМЕНИ 1
c 00.00 до 07.00
ВЫКЛ.
ИНТЕРВАЛ ВРЕМЕНИ 2
c 07.00 до 22.00
ВКЛ.
ИНТЕРВАЛ ВРЕМЕНИ 3
c 22.00 до 23.59
ВЫКЛ.
Для входа в режим изменения программы
нажмите кнопку Menu/Ok.
На дисплее появится текст “Перемещение
курсора”. Поворачивая ручку-регулятор,
установите курсор в конце интервала
времени, в котором необходимо
произвести изменения.
Курсор начнет мигать, а выбранное время
будет указано на часах (с шагом 15 минут).
Отображение на дисплее выбранной программы
Для того чтобы отобразить на дисплее выбранную программу,
войдите в меню 1, как описано выше, и, поворачивая ручку-
регулятор, выберите параметр 104 “Отображение на дисплее
выбранной программы”.
Для подтверждения выбранного параметра нажмите кнопку Menu/
Ok.
Поворачивая ручку-регулятор, выберите соответствующую зону
(например, зону 1).
Для подтверждения выбора нажмите кнопку
Menu/Ok.
Выбранная программа отобразится на
дисплее.
Для активации выбранной программы
выйдите из меню и нажмите кнопку “Таймер-
программатор”;
на дисплее отобразится индикатор .
Przeuń kursor
Перемещение
курсора
Inverno
bar
Muovi Cursore
Содержание
- 20 Z wyrazami szacunku
- 21 Oznakowanie CE; dotyczącej urządzeń zasilanych gazem; Normy bezpieczeństwa; Aby skorzystać z gwarancji należy skontaktować; Техника безопасности
- 22 UWAGA; Дисплей
- 23 Wyświetlacz; tylko z podłączonym urządzeniem BUS); Kontrola otoczenia i zdalne sterowanie; Режим работы; Индикация внешних устройств контроля и управления
- 24 Первый пуск
- 25 Przy pomocy przycisku M; wybrać działanie; zniknie symbol
- 26 symbol; WAŻNE; Нет пламени; Ausencia de llama
- 28 Přístup do Menu Nastavování a Regulace; Wejście do Menu Ustawień i Regulacji; zapewnia dostęp do serii menu, które; lub przycisk
- 29 menu; “Język”; Меню; Настройка языка
- 31 Предварительно заданная программа 3; Предварительно заданная программа 2; Программа с понедельника по воскресенье; Предварительно заданная программа 1; Программа с понедельника по воскресенье
- 32 Przeuń kursor
- 33 Okres ON; Stiskněte tlačítko M; za účelem aktivace; ВКЛ
- 34 “Temp podwyższona”; “Ustaw okres Party”; Funkcja OBNIŻONA TEMPERATURA -; “Temp obniżona”; “Ustaw okres temp obniżonej”; “Wakacje”; Режим “Вечеринка”; Temp podwyższona
- 35 “Stała temp CO”; Ustawienie temperatury Dziennej -; “Ustawienia strefy 1”; Задание дневной температуры; - для входа в подменю нажмите кнопку Menu/; t в помещении днем
- 36 Задание фиксированной температуры; Задание ночной температуры; t в помещении ночью
- 37 Prycisk; Naciskając Przycisk I; Lista wyświetlanych informacji; Godzina dzień; Przycisk A; Funkcja A; umożliwia dostosowanie działania kotła do zewnętrznych; przejmuje ”comando”; Czujnik zewnętrzny; Информация, выводимая на дисплей
- 38 Zmiana rodzaju gazu












