Кондиционеры Green GRI/GRO-09IG1 - инструкция пользователя по применению, эксплуатации и установке на русском языке. Мы надеемся, она поможет вам решить возникшие у вас вопросы при эксплуатации техники.
Если остались вопросы, задайте их в комментариях после инструкции.
"Загружаем инструкцию", означает, что нужно подождать пока файл загрузится и можно будет его читать онлайн. Некоторые инструкции очень большие и время их появления зависит от вашей скорости интернета.

Установка снегозащитного ограждения
2
Высота фундамента с учетом снега
(более 50 см)
Высота фундамента с учетом снега
(более 50 см)
более 50 с
м
Сезонный
ветер
Сезонный
ветер
Правильно
Неправильно
Снегозащитное
ограждение
(устанавливается на
наветренной стороне)
Снегозащитное
ограждение
(обеспечить
на местах)
Наветренная сторона
более 1 м
более 20 см
более 50 см
Снегозащитное
ограждение должно
быть шире чем
кондиционер
Снегозащитное
ограждение должно
быть шире чем
кондиционер
.
Стена
Стена
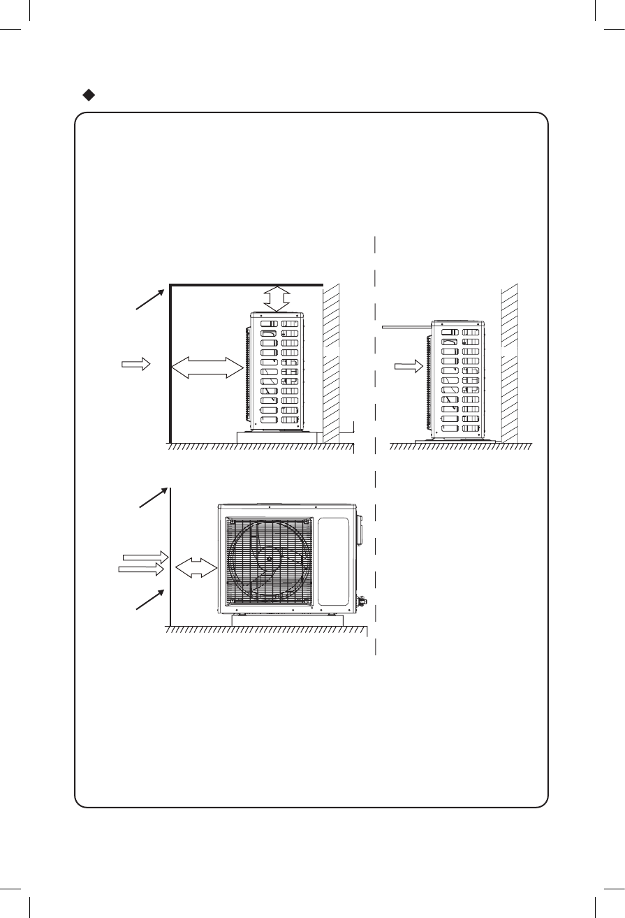
Способ установки снегозащитного ограждения с учетом присутствия снега во время
установки наружных блоков.
Примечание: Необходимо устанавливать снегозащитное ограждение и высокую подошву
фундамента, чтобы предотвратить закупоривание воздухозаборника.
Содержание
- 3 Правила эксплуатации
- 4 компрессора и защитит прибор.; Принцип работы и специальные функции при нагреве; другими отопительными приборами.
- 5 После окончания автоматического размораживания.; Мягкий и слабый воздушный поток; а жалюзи - поворачиваться в определенное положение:; для модели IG1
- 6 Названия и функции каждой детали; Внутренний блок; Наружный блок; Пульт; Вход воздуха
- 7 Названия и функции на пульте дистанционного управления; Кнопка включения/выключения; РАБОТА ПУЛЬТА ДИСТАНЦИОННОГО УПРАВЛЕНИЯ
- 9 ON
- 10 AUT; CK”
- 11 есть подсветка индикатора.; Работа в чрезвычайных ситуациях; Открыв панель, ручной выключатель можно найти на коробке дисплея.; Ручной
- 12 Чистка и уход за прибором; Внимание; Снимите воздушный фильтр
- 13 Проверка перед началом работы; Проверьте надежность соединения провода заземления.; Обслуживание после окончания работы; Очистите наружный блок от пыли и мусора.
- 14 ТЕХНИЧЕСКИЕ ХАРАКТЕРИСТИКИ
- 16 Устранение неисправностей; Проблема; пункты, это поможет сэкономить время и деньги.
- 18 Из внутреннего блока не выходит воздух; В следующих ситуациях немедленно остановите работу
- 19 Правила установки; Важные замечания
- 20 Схема установке с размерами
- 21 Схема установки с размерами
- 22 Внутренняя
- 24 Рама
- 26 Правильно
- 27 Установка снегозащитного ограждения; установки наружных блоков.
- 28 Электрическая схема подключения












