Hansa FCCW 530001 - Инструкция по эксплуатации

Hansa FCCW 530001

Плита Hansa FCCW 530001 - инструкция пользователя по применению, эксплуатации и установке на русском языке. Мы надеемся, она поможет вам решить возникшие у вас вопросы при эксплуатации техники.

Если остались дополнительные вопросы — свяжитесь с нами через контактную форму.

1 Страница 1
2 Страница 2
3 Страница 3
4 Страница 4
5 Страница 5
6 Страница 6
7 Страница 7
8 Страница 8
9 Страница 9
10 Страница 10
11 Страница 11
12 Страница 12
13 Страница 13
14 Страница 14
15 Страница 15
16 Страница 16
17 Страница 17
18 Страница 18
19 Страница 19
20 Страница 20
21 Страница 21
22 Страница 22
23 Страница 23
24 Страница 24
25 Страница 25
26 Страница 26
27 Страница 27
28 Страница 28
29 Страница 29
30 Страница 30
31 Страница 31
32 Страница 32
33 Страница 33
34 Страница 34
35 Страница 35
36 Страница 36
37 Страница 37
38 Страница 38
39 Страница 39
40 Страница 40
41 Страница 41
42 Страница 42
43 Страница 43
44 Страница 44
45 Страница 45
46 Страница 46
47 Страница 47
48 Страница 48
49 Страница 49
50 Страница 50
51 Страница 51
52 Страница 52
53 Страница 53
54 Страница 54
55 Страница 55
56 Страница 56
57 Страница 57
58 Страница 58
Страница: / 58

Содержание:

  • Страница 6 – УКАЗАНИЯ ПО ТЕХНИКЕ БЕЗОПАСНОСТИ
  • Страница 7 – Для исключения возможности поражения
  • Страница 8 – ОПИСАНИЕ УСТРОЙСТВА
  • Страница 9 – МОНТАЖ
  • Страница 10 – ЭКСПЛУАТАЦИЯ
  • Страница 11 – ПРИГОТОВЛЕНИЕ ПИЩИ В ДУХОВКЕ - ПРАКТИЧЕСКИЕ СОВЕТЫ
  • Страница 12 – ТЕСТОВЫЕ БЛЮДА В соответствии со стандартом EN 60350-1.
  • Страница 14 – ОБСЛУЖИВАНИЕ И УХОД
  • Страница 16 – ТЕХНИЧЕСКИЕ ДАННЫЕ; Производитель свидетельствует
  • Страница 21 – ҚҰРАСТЫРУ
  • Страница 28 – ЯК ЗАОЩАДЖУВАТИ ЕЛЕКТРОЕНЕРГІЮ
  • Страница 40 – CUM SA ECONOMISITI ENERGIE
Загрузка инструкции

FCCW5*

IO-CFS-1555 / 8508582

(10.2019 / v1)

ИНСТРУКЦИЯ ПО ЭКСПЛУТАЦИИ / ЭЛЕКТРИЧЕСКАЯ ПЛИТА

RU

ПАЙДАЛАНУ БОЙЫНША НҰСҚАУЛЫҚ / ЭЛЕКТР ПЛИТА

KK

ІНСТРУКЦІЯ З ЕКСПЛУАТАЦІЇ / ЕЛЕКТРИЧНА ПЛИТА

UA

MANUAL DE UTILIZARE / ARAGAZ ELECTRIC

RO

GEBRAUCHSANWEISUNG / ELEKTROHERD

DE

"Загрузка инструкции" означает, что нужно подождать пока файл загрузится и можно будет его читать онлайн. Некоторые инструкции очень большие и время их появления зависит от вашей скорости интернета.

Краткое содержание

Страница 6 - УКАЗАНИЯ ПО ТЕХНИКЕ БЕЗОПАСНОСТИ

6 УКАЗАНИЯ ПО ТЕХНИКЕ БЕЗОПАСНОСТИ Внимание! Оборудование и его доступные части на - греваются во время эксплуатации. Всегда следует пом - нить, что существует опасность травмы, при прикосно - вении к нагревательным элементам. Поэтому, во время работы оборудования - быть особо бдительными! Дети млад...

Страница 7 - Для исключения возможности поражения

7  Особое внимание следует обратить на де - тей около плиты. Прямой контакт с работаю - щей плитой грозит ожогом!  Необходимо следить, чтобы мелкое ку - хонное оборудование и провода не сопри - касались с нагретой духовкой и варочной поверхностью, поскольку изоляция этого оборудования не рассчитан...

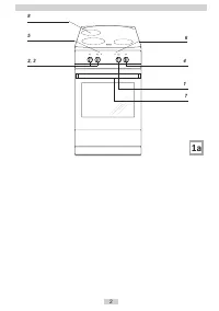
Страница 8 - ОПИСАНИЕ УСТРОЙСТВА

8 Конфорки керамическoй плиты FCC* - Рис 2a 1a Оснащение плиты - перечень:3a Поддон для выпечки* 3b Решетка для гриля (решетка для сушки) 3c Поддон для жарки* 3e Боковые лестнички *для определенных моделей ОПИСАНИЕ УСТРОЙСТВА 1 Ручка регулятора температуры духовки / Ручка выбора функции духовки 2, 3...

Характеристики

Другие модели - Плиты Hansa

Все плиты Hansa