Hansa FCCM 58203 - Инструкция по эксплуатации

Hansa FCCM 58203

Плита Hansa FCCM 58203 - инструкция пользователя по применению, эксплуатации и установке на русском языке. Мы надеемся, она поможет вам решить возникшие у вас вопросы при эксплуатации техники.

Если остались дополнительные вопросы — свяжитесь с нами через контактную форму.

1 Страница 1
2 Страница 2
3 Страница 3
4 Страница 4
5 Страница 5
6 Страница 6
7 Страница 7
8 Страница 8
9 Страница 9
10 Страница 10
11 Страница 11
12 Страница 12
13 Страница 13
14 Страница 14
15 Страница 15
16 Страница 16
17 Страница 17
18 Страница 18
19 Страница 19
20 Страница 20
21 Страница 21
22 Страница 22
23 Страница 23
24 Страница 24
25 Страница 25
26 Страница 26
27 Страница 27
28 Страница 28
29 Страница 29
30 Страница 30
31 Страница 31
32 Страница 32
33 Страница 33
34 Страница 34
35 Страница 35
36 Страница 36
37 Страница 37
38 Страница 38
39 Страница 39
40 Страница 40
41 Страница 41
42 Страница 42
43 Страница 43
44 Страница 44
45 Страница 45
46 Страница 46
47 Страница 47
48 Страница 48
49 Страница 49
50 Страница 50
51 Страница 51
52 Страница 52
53 Страница 53
54 Страница 54
55 Страница 55
56 Страница 56
57 Страница 57
58 Страница 58
59 Страница 59
60 Страница 60
61 Страница 61
62 Страница 62
63 Страница 63
64 Страница 64
65 Страница 65
66 Страница 66
67 Страница 67
68 Страница 68
69 Страница 69
70 Страница 70
71 Страница 71
72 Страница 72
73 Страница 73
74 Страница 74
75 Страница 75
76 Страница 76
77 Страница 77
78 Страница 78
79 Страница 79
80 Страница 80
Страница: / 80

Содержание:

  • Страница 8 – УКАЗАНИЯ ПО ТЕХНИКЕ БЕЗОПАСНОСТИ
  • Страница 9 – Для исключения возможности поражения
  • Страница 10 – ОПИСАНИЕ УСТРОЙСТВА
  • Страница 11 – МОНТАЖ
  • Страница 12 – ЭКСПЛУАТАЦИЯ
  • Страница 13 – Возможные положения ручки
  • Страница 17 – ПРИГОТОВЛЕНИЕ ПИЩИ В ДУХОВКЕ - ПРАКТИЧЕСКИЕ СОВЕТЫ
  • Страница 20 – ОБСЛУЖИВАНИЕ И УХОД
  • Страница 21 – ПОВЕДЕНИЕ В АВАРИЙНЫХ СИТУАЦИЯХ
  • Страница 22 – ТЕХНИЧЕСКИЕ ДАННЫЕ; Производитель свидетельствует
  • Страница 39 – ЯК ЗАОЩАДЖУВАТИ ЕЛЕКТРОЕНЕРГІЮ
  • Страница 55 – CUM SA ECONOMISITI ENERGIE
Загрузка инструкции

FCCW5*

FCCX5*

FCCM5*

IO-CFS-1135 / 8504413

(10.2018 / v2)

ИНСТРУКЦИЯ ПО ЭКСПЛУТАЦИИ / ЭЛЕКТРИЧЕСКАЯ ПЛИТА

RU

ПАЙДАЛАНУ БОЙЫНША НҰСҚАУЛЫҚ / ЭЛЕКТР ПЛИТА

KK

ІНСТРУКЦІЯ З ЕКСПЛУАТАЦІЇ / ЕЛЕКТРИЧНА ПЛИТА

UA

MANUAL DE UTILIZARE / ARAGAZ ELECTRIC

RO

GEBRAUCHSANWEISUNG / ELEKTROHERD

DE

"Загрузка инструкции" означает, что нужно подождать пока файл загрузится и можно будет его читать онлайн. Некоторые инструкции очень большие и время их появления зависит от вашей скорости интернета.

Краткое содержание

Страница 8 - УКАЗАНИЯ ПО ТЕХНИКЕ БЕЗОПАСНОСТИ

8 УКАЗАНИЯ ПО ТЕХНИКЕ БЕЗОПАСНОСТИ Внимание! Оборудование и его доступные части на- греваются во время эксплуатации. Всегда следует пом- нить, что существует опасность травмы, при прикосно- вении к нагревательным элементам. Поэтому, во время работы оборудования - быть особо бдительными! Дети младше ...

Страница 9 - Для исключения возможности поражения

9  Особое внимание следует обратить на де- тей около плиты. Прямой контакт с работаю- щей плитой грозит ожогом!  Необходимо следить, чтобы мелкое ку- хонное оборудование и провода не сопри- касались с нагретой духовкой и варочной поверхностью, поскольку изоляция этого оборудования не рассчитана на...

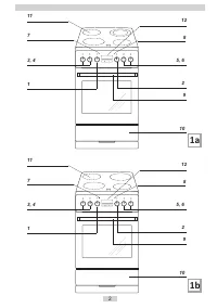
Страница 10 - ОПИСАНИЕ УСТРОЙСТВА

10 Конфорки керамическoй плиты FCC* - Рис 2a / 2b 1 Ручка регулятора температуры духовки 2 Ручка выбора функции духовки 3, 4, 5, 6 Ручки управления конфорками 7 Контрольная лампа терморегулятора L 8 Контрольная лампа работы плиты R 9 Крепление дверцы духовки 10 Ящик* 11 Конфорки керамическoй панели ...

Характеристики

Другие модели - Плиты Hansa

Все плиты Hansa