Генераторы Кратон IGG-1500 3 08 04 013 - инструкция пользователя по применению, эксплуатации и установке на русском языке. Мы надеемся, она поможет вам решить возникшие у вас вопросы при эксплуатации техники.
Если остались вопросы, задайте их в комментариях после инструкции.
"Загружаем инструкцию", означает, что нужно подождать пока файл загрузится и можно будет его читать онлайн. Некоторые инструкции очень большие и время их появления зависит от вашей скорости интернета.

www.kraton.ru
Генератор бензиновый инверторный IGG-1500, артикул 3 08 04 013
24
29
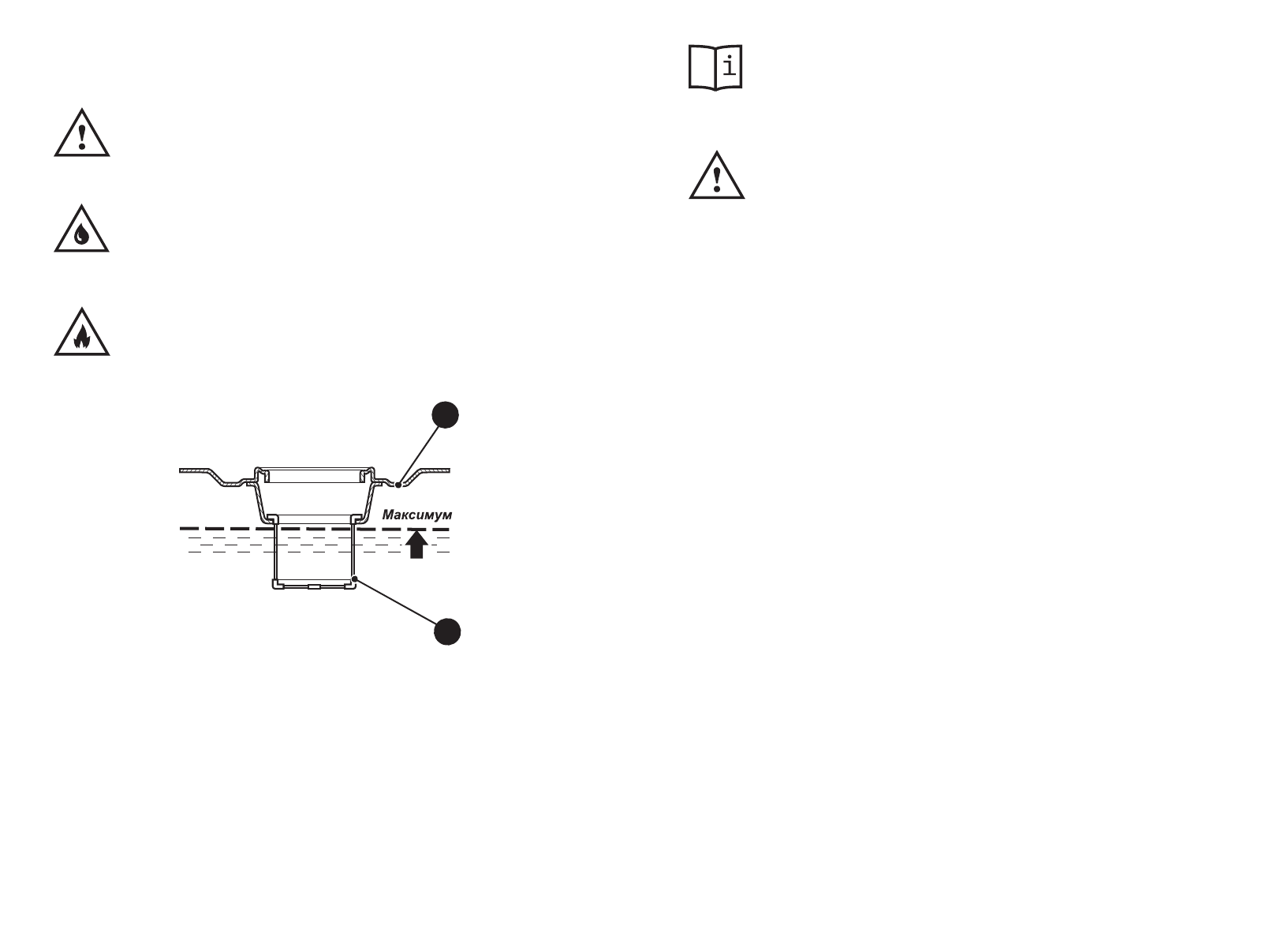
Заправка топливного бака
При заправке топливного бака соблюдайте
меры противопожарной безопасности. Не до-
пускайте попадания в топливо пыли, грязи,
воды и других посторонних материалов и жид-
костей. Не переливайте топливо выше уста-
новленного уровня заправки топливного бака.
Перед запуском двигателя тщательно удалите
обтирочным материалом случайно пролитое
топливо. При заливке топлива рядом с гене-
ратором не должно быть источников огня. Не
допускайте появления разрядов статического
электричества и образования искр.
Рисунок 7
— Максимальный уровень топлива в топливном баке генератора
25
7
7. Топливный бак
25. Сетчатый фильтр
—
дайте двигателю 20 поработать без нагрузки в течение трех
минут, для его охлаждения;
—
установите клавишу 12 цепи зажигания двигателя в положе-
ние «
ВЫКЛ
.»;
—
установите рычаг 26 топливного крана 6 (см. рис. 1 и 8) в по-
ложение «
ЗАКР.
».
•
Не допускается остановка генератора под нагрузкой.
•
Медленно потяните за рукоятку 2 ручного стартера 1 (см. рис.
1) до тех пор, пока не почувствуете сопротивление (в данный
момент такта сжатия закрыты впускной и выпускной клапаны
газораспределительного механизма двигателя). Оставьте руко-
ятку 2 в этом положении, это позволит предотвратить коррозию
узлов двигателя.