Факсы Panasonic UF-595 - инструкция пользователя по применению, эксплуатации и установке на русском языке. Мы надеемся, она поможет вам решить возникшие у вас вопросы при эксплуатации техники.
Если остались вопросы, задайте их в комментариях после инструкции.
"Загружаем инструкцию", означает, что нужно подождать пока файл загрузится и можно будет его читать онлайн. Некоторые инструкции очень большие и время их появления зависит от вашей скорости интернета.

59
Передача
документов◄
Резервирование
передачи
Вы
можете
выполнить
следующие
действия
во
время
отправки
документа
из
памяти
или
во
время
приема
документа
:
•
Зарезервировать
в
памяти
следующую
передачу
до
10
различных
документов
.
•
Зарезервировать
приоритетную
передачу
.
Резервирование
передачи
из
памяти
(
двойной
доступ
)
Если
Ваш
аппарат
занят
(on-line)
в
режиме
передачи
из
памяти
,
происходит
прием
или
распечатка
документов
,
Вы
можете
зарезервировать
передачу
,
выполнив
следующую
процедуру
.
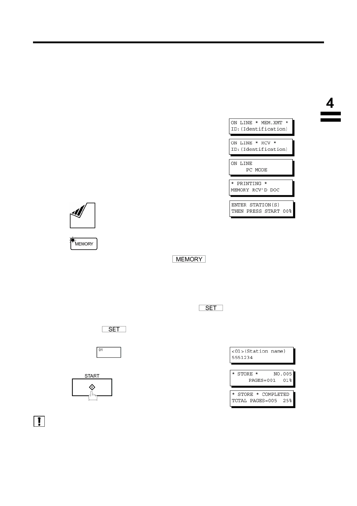
1
Ваш
аппарат
занят
,
мигает
индикатор
ON-LINE
или
идет
распечатка
принятых
документов
.
2
Положите
документ
(
или
документы
)
лицевой
стороной
вниз
.
3
Убедитесь
в
том
,
что
индикатор
MEMORY
(
Память
)
горит
.
Если
он
не
горит
,
нажмите
клавишу
для
установки
положения
“On” (
Вкл
.).
4
Наберите
номер
,
используя
любой
из
следующих
методов
:
•
Сенсорный
набор
номера
•
Сокращенный
набор
номера
•
Ручной
набор
номера
;
нажимайте
клавишу
после
ввода
каждой
станции
(
до
12
станций
)
•
Набор
номера
с
поиском
в
каталоге
;
нажимайте
клавишу
после
ввода
каждой
станции
(
Подробную
информацию
см
.
на
стр
. 48-51).
Пример
:
5
Ваш
аппарат
сохранит
документы
в
памяти
.
Примечания
:
Порядок
отмены
резервирования
передачи
из
памяти
см
.
на
стр
. 88
.
Содержание
- 3 Содержание
- 7 ПРИЛОЖЕНИЕ; Установка
- 8 WARNING
- 9 ВАЖНОЕ
- 10 CAUTION
- 11 Введение◄; Panafax
- 12 Примечание
- 21 Внимание
- 22 Letter; 3 RECORDING PAPER SIZE (
- 28 Пример
- 31 Примечания
- 33 Ввод
- 37 Распечатка
- 39 Таблица
- 44 Как
- 45 Контрастность; RESOLUTION=Standard RESOLUTION=Fine RESOLUTION=Super Fine
- 46 Полутон
- 47 Журнал; Примечани
- 48 Сохранение; Передача
- 50 Ручной; MEMORY
- 51 Сенсорный
- 52 Сокращенный
- 53 Набор
- 54 Многостанционная
- 55 Прямая
- 59 Речевой
- 61 Резервирование
- 63 Повторный
- 64 Режимы; Условия; START
- 65 Режим
- 68 TEL
- 70 Уменьшение; Автоматическое; Выбор; 4 Print Reduction; ПРИМЕР
- 71 Прием; Переданный
- 72 5 PRINT COLLATION
- 73 Копирование◄
- 75 Отсроченная
- 76 Отсроченный
- 78 Подготовка; 7 (POLLED FILE SAVE –
- 79 Запрос
- 80 ABBR
- 86 Печать; “INCOMP”
- 87 Просмотр
- 90 Удаление
- 92 Добавление
- 93 Повторное
- 98 “DRD”
- 99 Общие
- 100 PANASONIC
- 104 “ON”; ON; Совместимость; Модель
- 108 XMT; Использование
- 111 Конфиденц; почтовый; ящик
- 117 Ретрансляционная; Рис
- 119 “Yes”
- 123 Отправка
- 124 Распечатки
- 126 ►Подадресация
- 127 Подадресация◄
- 130 Индивидуальный
- 132 Пояснения
- 133 Образец
- 138 Список
- 144 Информационные; Инф
- 149 Очистка
- 151 Регулировка; Положение
- 152 Штамп
- 153 Замена; ЗАМЕНИТЕ
- 154 Проверка
- 159 Flash
- 161 Panasonic
- 162 ►Словарь
- 163 Словарь◄; Federal Communications Commission -
- 170 Название
- 171 Matsushita Graphic Communication Systems, Inc.
- 173 РАТКОЕ