Факсы Panasonic UF-595 - инструкция пользователя по применению, эксплуатации и установке на русском языке. Мы надеемся, она поможет вам решить возникшие у вас вопросы при эксплуатации техники.
Если остались вопросы, задайте их в комментариях после инструкции.
"Загружаем инструкцию", означает, что нужно подождать пока файл загрузится и можно будет его читать онлайн. Некоторые инструкции очень большие и время их появления зависит от вашей скорости интернета.

44
►Основные
установки
для
передачи
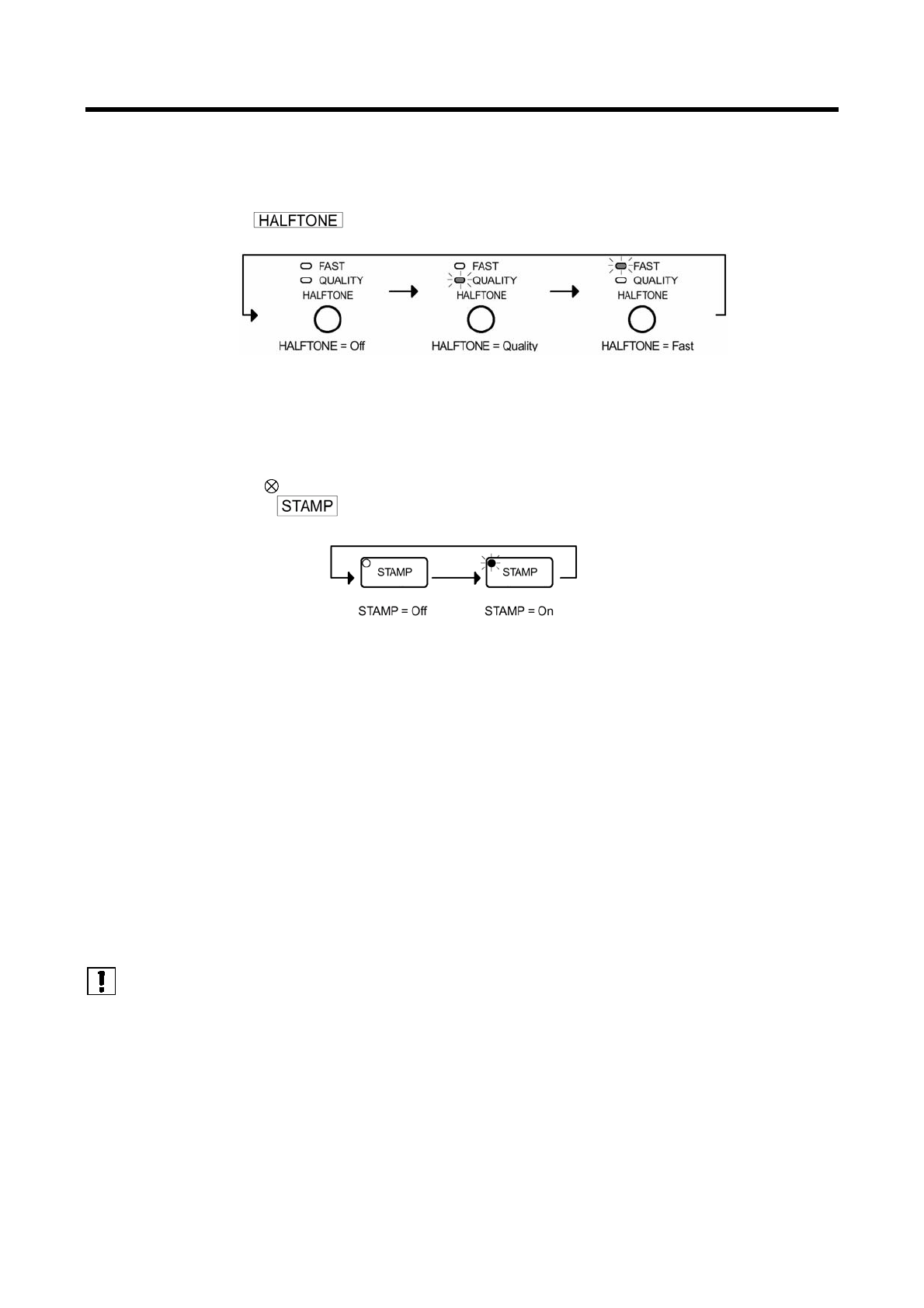
Полутон
Установка
полутона
полезна
при
передаче
черно
-
белых
фотографий
или
иллюстраций
.
Полутон
в
Вашем
аппарате
предварительно
установлен
в
положение
HALFTONE = Off (
Выкл
.).
Вы
можете
выбрать
режим
Fast (
Ускоренный
)
или
Quality (
Качественный
).
Нажмите
клавишу
(
Полутон
),
чтобы
:
Штамп
подтверждения
Штамп
подтверждения
помогает
Вам
контролировать
правильность
передачи
,
штампуя
маленькую
отметку
внизу
каждой
успешно
переданной
страницы
.
Нажмите
на
клавишу
(
Штамп
),
чтобы
:
Примечания
:
1.
Когда
Вы
выбираете
для
HALFTONE
значения
FAST
или
QUALITY,
Ваш
аппарат
автоматически
устанавливает
для
RESOLUTION
значение
Fine.
2.
Когда
Вы
сохраняете
документ
в
памяти
,
штамп
подтверждения
будет
ставиться
на
документе
при
условии
его
успешного
сохранения
в
памяти
.
В
этом
случае
штамп
подтверждения
не
является
признаком
успешной
передачи
документа
.
Если
Вы
хотите
отключить
штамп
подтверждения
во
время
сохранения
документа
в
памяти
,
измените
установку
параметра
телефакса
№
28. (
См
.
стр
. 38)
3.
Для
изменения
предварительно
установленного
положения
штампа
подтверждения
измените
установку
параметра
телефакса
№
04. (
См
.
стр
. 37)
Содержание
- 3 Содержание
- 7 ПРИЛОЖЕНИЕ; Установка
- 8 WARNING
- 9 ВАЖНОЕ
- 10 CAUTION
- 11 Введение◄; Panafax
- 12 Примечание
- 21 Внимание
- 22 Letter; 3 RECORDING PAPER SIZE (
- 28 Пример
- 31 Примечания
- 33 Ввод
- 37 Распечатка
- 39 Таблица
- 44 Как
- 45 Контрастность; RESOLUTION=Standard RESOLUTION=Fine RESOLUTION=Super Fine
- 46 Полутон
- 47 Журнал; Примечани
- 48 Сохранение; Передача
- 50 Ручной; MEMORY
- 51 Сенсорный
- 52 Сокращенный
- 53 Набор
- 54 Многостанционная
- 55 Прямая
- 59 Речевой
- 61 Резервирование
- 63 Повторный
- 64 Режимы; Условия; START
- 65 Режим
- 68 TEL
- 70 Уменьшение; Автоматическое; Выбор; 4 Print Reduction; ПРИМЕР
- 71 Прием; Переданный
- 72 5 PRINT COLLATION
- 73 Копирование◄
- 75 Отсроченная
- 76 Отсроченный
- 78 Подготовка; 7 (POLLED FILE SAVE –
- 79 Запрос
- 80 ABBR
- 86 Печать; “INCOMP”
- 87 Просмотр
- 90 Удаление
- 92 Добавление
- 93 Повторное
- 98 “DRD”
- 99 Общие
- 100 PANASONIC
- 104 “ON”; ON; Совместимость; Модель
- 108 XMT; Использование
- 111 Конфиденц; почтовый; ящик
- 117 Ретрансляционная; Рис
- 119 “Yes”
- 123 Отправка
- 124 Распечатки
- 126 ►Подадресация
- 127 Подадресация◄
- 130 Индивидуальный
- 132 Пояснения
- 133 Образец
- 138 Список
- 144 Информационные; Инф
- 149 Очистка
- 151 Регулировка; Положение
- 152 Штамп
- 153 Замена; ЗАМЕНИТЕ
- 154 Проверка
- 159 Flash
- 161 Panasonic
- 162 ►Словарь
- 163 Словарь◄; Federal Communications Commission -
- 170 Название
- 171 Matsushita Graphic Communication Systems, Inc.
- 173 РАТКОЕ