Факсы Panasonic UF-595 - инструкция пользователя по применению, эксплуатации и установке на русском языке. Мы надеемся, она поможет вам решить возникшие у вас вопросы при эксплуатации техники.
Если остались вопросы, задайте их в комментариях после инструкции.
"Загружаем инструкцию", означает, что нужно подождать пока файл загрузится и можно будет его читать онлайн. Некоторые инструкции очень большие и время их появления зависит от вашей скорости интернета.

159
Дополнительное
оборудование
и
принадлежности◄
Установка
карты
памяти
Перед
началом
установки
убедитесь
в
том
,
что
в
памяти
аппарата
не
хранятся
документы
.
Вы
можете
распечатать
для
этого
список
файлов
(
См
.
стр
. 84).
Когда
карта
памяти
будет
установлена
,
аппарат
автоматически
инициализирует
память
документов
и
все
содержимое
памяти
будет
утрачено
.
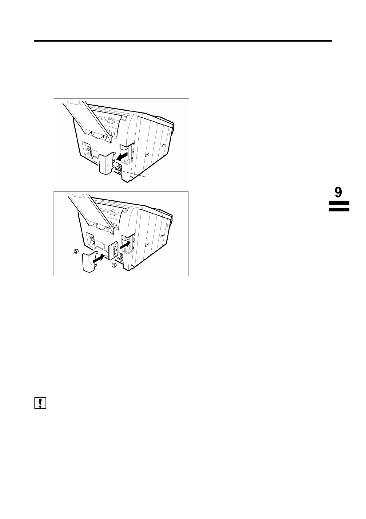
1
(1)
Выньте
из
розетки
сетевой
шнур
.
(2)
Снимите
крышку
отсека
карты
памяти
.
2
(1)
Аккуратно
вставьте
карту
памяти
в
гнездо
так
,
чтобы
логотип
Panasonic
был
обращен
наружу
аппарата
.
Внимание
:
Неправильная
ориентация
при
вставке
карты
может
привести
к
повреждению
контактов
разъема
внутри
аппарата
.
(2)
Установите
на
место
крышку
отсека
карты
памяти
3
Включите
в
розетку
шнур
питания
аппарата
.
Распечатайте
список
параметров
телефакса
(
см
.
стр
. 137)
и
проверьте
значение
параметра
№
99 –
размер
памяти
. (
См
.
стр
. 40)
Примечания
:
При
удалении
карты
памяти
документы
,
хранящиеся
в
памяти
,
будут
утрачены
.
Крышка
отсека
карты
памяти
Содержание
- 3 Содержание
- 7 ПРИЛОЖЕНИЕ; Установка
- 8 WARNING
- 9 ВАЖНОЕ
- 10 CAUTION
- 11 Введение◄; Panafax
- 12 Примечание
- 21 Внимание
- 22 Letter; 3 RECORDING PAPER SIZE (
- 28 Пример
- 31 Примечания
- 33 Ввод
- 37 Распечатка
- 39 Таблица
- 44 Как
- 45 Контрастность; RESOLUTION=Standard RESOLUTION=Fine RESOLUTION=Super Fine
- 46 Полутон
- 47 Журнал; Примечани
- 48 Сохранение; Передача
- 50 Ручной; MEMORY
- 51 Сенсорный
- 52 Сокращенный
- 53 Набор
- 54 Многостанционная
- 55 Прямая
- 59 Речевой
- 61 Резервирование
- 63 Повторный
- 64 Режимы; Условия; START
- 65 Режим
- 68 TEL
- 70 Уменьшение; Автоматическое; Выбор; 4 Print Reduction; ПРИМЕР
- 71 Прием; Переданный
- 72 5 PRINT COLLATION
- 73 Копирование◄
- 75 Отсроченная
- 76 Отсроченный
- 78 Подготовка; 7 (POLLED FILE SAVE –
- 79 Запрос
- 80 ABBR
- 86 Печать; “INCOMP”
- 87 Просмотр
- 90 Удаление
- 92 Добавление
- 93 Повторное
- 98 “DRD”
- 99 Общие
- 100 PANASONIC
- 104 “ON”; ON; Совместимость; Модель
- 108 XMT; Использование
- 111 Конфиденц; почтовый; ящик
- 117 Ретрансляционная; Рис
- 119 “Yes”
- 123 Отправка
- 124 Распечатки
- 126 ►Подадресация
- 127 Подадресация◄
- 130 Индивидуальный
- 132 Пояснения
- 133 Образец
- 138 Список
- 144 Информационные; Инф
- 149 Очистка
- 151 Регулировка; Положение
- 152 Штамп
- 153 Замена; ЗАМЕНИТЕ
- 154 Проверка
- 159 Flash
- 161 Panasonic
- 162 ►Словарь
- 163 Словарь◄; Federal Communications Commission -
- 170 Название
- 171 Matsushita Graphic Communication Systems, Inc.
- 173 РАТКОЕ