Страница 6 - ОГЛАВЛЕНИЕ; ЭКСПЛУАТАЦИЯ
6 ОГЛАВЛЕНИЕ КАК ПОЛЬЗОВАТЬСЯ РУКОВОДСТВОМ ........................................................................ 9 ВАЖНЫЕ УКАЗАНИЯ ПО МЕРАМ БЕЗОПАСНОСТИ .................................................. 10 ССЫЛКИ , ИЛЛЮСТРАЦИИ И ТЕХНИЧЕСКИЕ ХАРАКТЕРИСТИКИ ...........................................
Страница 9 - ОПАСНОСТЬ
9 КАК ПОЛЬЗОВАТЬСЯ РУКОВОДСТВОМ Настоящее Руководство является неотъемлемой ча - стью комплектации подвесного мотора Evinrude Е - ТЕС . Оно содержит информацию , необходимую для пра - вильной эксплуатации , технического обслуживания , а главное — для безопасного использования Вашего подвесного мотор...
Страница 10 - ПРЕДОСТЕРЕЖЕНИЕ; ОБЩИЕ
10 ВАЖНЫЕ УКАЗАНИЯ ПО МЕРАМ БЕЗОПАСНОСТИ Данное Руководство содержит информацию , необходи - мую для того , чтобы предотвратить возможные травмы или повреждение имущества . Предупредительные со - общения находятся в тексте Руководства . Будьте внимательны ! Ошибка человека может быть вызвана различн...
Страница 18 - ОСНОВНЫЕ
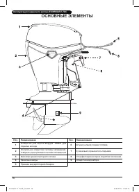
18 Эксплуатация подвесного мотора EVINRUDE E-TEC ОСНОВНЫЕ ЭЛЕМЕНТЫ Поз . Наименование Поз . Наименование 1 Отверстие для впуска воздуха , захват для подъёма мотора 6 Штуцер шланга подачи топлива 2 Контрольное отверстие системы охлаждения , отверстие для промывки системы охлаждения 7 Кулачковый огран...
Страница 20 - МАСЛО; ТРЕБОВАНИЯ; СИСТЕМА
20 Эксплуатация подвесного мотора EVINRUDE E-TEC МАСЛО И ТОПЛИВО ТРЕБОВАНИЯ К МАСЛАМ М асла марки Evinrude/Johnson Масла марки Evinrude/Johnson обеспечивают наи - более эффективную работу двигателя , не дают на - гара на поршне и в камере сгорания , имеют высокие смазывающие качества , продлевают ср...
Страница 22 - Минима льное; ПРИСАДКИ
22 Эксплуатация подвесного мотора EVINRUDE E-TEC ТРЕБОВАНИЯ К ТОПЛИВУ ПРЕДОСТЕРЕЖЕНИЕ Бензин при определённых условиях является легковоспламеняющимся и взрывоопасным п р од у к том . С т р о го с ле д у й т е и н с т ру к ц и я м данного ра здела . Неправильное обращение с то п л и вом может п р и в...
Страница 23 - ТОПЛИВНАЯ
23 ►М АСЛО И ТОПЛИВО ТОПЛИВНАЯ СИСТЕМА ПРЕДОСТЕРЕЖЕНИЕ Е с л и д в и г а т е л ь о б о р у д о в а н т о п л и в н ы м шлангом с быстрора зъемными соединения - ми , СЛЕД УЕТ отсоединять его от двигателя и топливного бака , чтобы предотвратить утечку топлива : • Если двигатель не используется ; • При...
Страница 24 - ЗАПУСК; А ва р и й н ы й
24 МЕРЫ БЕЗОПАСНОСТИ ПРЕДОСТЕРЕЖЕНИЕ НЕ ЗАПУСКАЙТЕ двигатель в закрытом по - мещении без надлеж ащей вентиляции либо о б ес п еч ьт е н а д ё ж н ы й от вод от р а б от а в ш и х га зов . В выхлопных га зах содержится монок - с и д у гле р од а ( у г а р н ы й г а з ) , кото р ы й п р е д - ставляет...
Страница 27 - ЭКСТРЕННЫЙ
27 ►Э КСПЛУАТАЦИЯ ЭКСТРЕННЫЙ ЗАПУСК ДВИГАТЕЛЯ Если запуск двигателя закончился неудачно , Вы можете завести двигатель с помощью шнура толщиной 6 мм и длиной около 1,2 м . ПРЕДОСТЕРЕЖЕНИЕ П р еж д е ч ем в ы п ол н и т ь э кс т р е н н ы й за п ус к двигателя , установите рукоятку перек люче - н и я ...
Страница 28 - ОСТОРОЖНО; ДИСТАНЦИОННОЕ; Бортовой
28 Эксплуатация подвесного мотора EVINRUDE E-TEC 5) Поверните ключ зажигания в положение ON ( вкл .). 6) Сидя в лодке , дёрните шнур , чтобы запустить мотор . ОСТОРОЖНО Убедитесь , что рядом с Вами и особенно по - зади Вас никого нет , перед тем как дёргать шнур для аварийного запуска двигателя . По...
Страница 30 - Перек лючение; Регулирование
30 Эксплуатация подвесного мотора EVINRUDE E-TEC ПЕРЕКЛЮЧЕНИЕ РЕЖИМОВ И РЕГУ - ЛИРОВАНИЕ ОБОРОТОВ ДВИГАТЕЛЯ ВАЖНО : Проверьте работу всех органов управления и систем мотора , перед тем как покидать причал . НЕ включайте режим ПЕРЕДНЕГО или ЗАДНЕГО ХОДА , пока мотор не работает . ПРЕДОСТЕРЕЖЕНИЕ Во и...
Страница 31 - ПОДЪЁМ
31 ►Э КСПЛУАТАЦИЯ ПОДЪЁМ МОТОРА И РЕГУЛИРОВКА ТРИМА ПРЕДОСТЕРЕЖЕНИЕ Любая неисправность системы автоматического подъёма и трима делает мотор незащищён - ным от удара при столкновении с подводным объектом . Кроме того , наличие неисправности значительно сниж ает тягу двигателя в режиме заднего хода ....
Страница 34 - Фиксирующий
34 Эксплуатация подвесного мотора EVINRUDE E-TEC Крепко возьмитесь за захват на крышке мотора и под - нимите мотор на всю высоту . 1. Захват для подъёма мотора Упоры самостоятельно встанут в требуемое положение . ПРЕДОСТЕРЕЖЕНИЕ К о гд а м от о р п о д н я т , р у к о я т к а П О Д Ъ Е М / ДВИЖЕНИЕ ...
Страница 35 - Регулировк а
35 ►Э КСПЛУАТАЦИЯ Регулировк а трима ПРЕДОСТЕРЕЖЕНИЕ Остойчивость судна и усилие , прикладываемое для поворота при рулении , зависят от состояния акватории . Если ск ладываются условия , неблагоприятные для нормального движения судна , прикройте дроссельную заслонку и / или установите угол нак лона ...
Страница 36 - ПЕРЕВОЗКА
36 Эксплуатация подвесного мотора EVINRUDE E-TEC ПЕРЕВОЗКА НА ТРЕЙЛЕРЕ Моде ли с автоматиче ским и ручным подъемом ПРЕДОСТЕРЕЖЕНИЕ Во избеж ание травм и несчастных случаев следите , чтобы никто не подходил к корме , когда Вы поднимаете или опускаете мотор . Контакт с движущимися частями подвесно - г...
Страница 38 - ОСОБЫЕ
38 Эксплуатация подвесного мотора EVINRUDE E-TEC ОСОБЫЕ УСЛОВИЯ ЭКСПЛУАТАЦИИ ЭКСПЛУАТАЦИЯ ПОДВЕСНОГО МОТО - РА В СОЛЕНОЙ ВОДЕ Для защиты мотора , эксплуатируемого в соленой или жёсткой воде , предусмотрена анодная защита . Подняв мотор из соленой воды , оставьте его в верти - кальном положении до те...
Страница 40 - КОНТРОЛЬ; ПРИБОРЫ; Работа; АМОДИАГНОСТИКА
40 Эксплуатация подвесного мотора EVINRUDE E-TEC КОНТРОЛЬ СОСТОЯНИЯ ДВИГАТЕЛЯ ВАЖНО : Подвесной мотор может быть оснащён си - стемой контроля состояния двигателя , например I-Command , SystemCheck ( или аналогичной ). Система предупреждает водителя о возникновении ситуаций , которые могут привести к...
Страница 41 - «CHECK ENGINE»
41 ►К ОНТРОЛЬ СОСТОЯНИЯ ДВИГАТЕЛЯ На дисплее контрольного прибора могут появляться следующие сообщения . «LOW OIL» ( низкий уровень масла ) Причина В баке остался только резервный запас масла (1/4 ёмкости бака ) Действие системы EMM включает световой индикатор или подаёт предупредительный сигнал Ваш...
Страница 42 - ПЕРЕГРЕВ
42 Эксплуатация подвесного мотора EVINRUDE E-TEC ПЕРЕГРЕВ ДВИГАТЕЛЯ ВАЖНО ВАЖНО Не запускайте двигатель даже на короткое время без подачи воды в систему охлаждения . См . ра здел « промывка системы охлаждения » на странице 44. Отверстия водозабора должны быть чистыми и во время работы мотора постоян...
Страница 43 - ПЕРЕЧЕНЬ
43 ►К ОНТРОЛЬ СОСТОЯНИЯ ДВИГАТЕЛЯ Общая проверк а состояния мотора ( пере д к аждым спуском лодки на воду ) Проверьте уровень топлива . Проверьте уровень масла . Проверьте работоспособность систем рулевого управления , переключения режимов и управления дроссельной заслонкой ; проверьте работоспособн...
Страница 46 - ИНФОРМАЦИЯ
46 Техническое обслуживание ИНФОРМАЦИЯ О ВЫБРОСАХ ВРЕДНЫХ ВЕЩЕСТВ Техническое обслуживание , замену и ремонт устройств и систем защиты от выбросов вредных веществ в атмосферу можно производить в любой мастерской по обслуживанию морских двигателей с искровым зажиганием (SI) или самостоятельно . Ответ...
Страница 48 - РЕКОМЕНДАЦИИ
48 Техническое обслуживание РЕКОМЕНДАЦИИ ПО ТЕХНИЧЕСКОМУ ОБСЛУЖИВАНИЮ ПРОМЫВКА СИСТЕМЫ ОХЛАЖДЕНИЯ Подвесной мотор желательно промывать после каждой поездки , поставив лодку на трейлер или у причала . 1) Расположите мотор в вертикальном положении в ме - сте с хорошим стоком воды . 2) Подсоедините сад...
Страница 49 - ПРЕДОХРАНИТЕЛЬ; ТРАНСПОРТИРОВКА
49 СВЕЧИ ЗАЖИГАНИЯ ОСТОРОЖНО Система зажигания представляет собой се - рьёзную опасность поражения электрическим током . Будьте предельно осторожны , чтобы не допустить травм , вызванных поражени - ем электрическим током или Вашей реакцией на удар тока . Не дотрагивайтесь до элемен - тов системы заж...
Страница 50 - ХРАНЕНИЕ; КОНСЕРВАЦИЯ
50 Техническое обслуживание ХРАНЕНИЕ ПОДВЕСНОГО МОТОРА ОПАСНОСТЬ НЕ ЗАПУСКАЙТЕ двигатель в закрытом по - мещении без надлеж ащей вентиляции либо о б ес п еч ьт е н а д ё ж н ы й от вод от р а б от а в ш и х га зов . В выхлопных га зах содержится монок - с и д у гле р од а ( у г а р н ы й г а з ) , к...
Страница 53 - П о с ле; ПРЕДСЕЗОННОЕ
53 ►Х РАНЕНИЕ ПОДВЕСНОГО МОТОРА 4) Дайте мотору поработать некоторое время , пока он автоматически не остановится ( обычно менее минуты ). После автоматического выключения мотора консер - вация считается выполненной . • Если мотор НЕ ВЫКЛЮЧАЕТСЯ самостоятель - но , то , возможно , Вы не дали ему про...
Страница 54 - ДИАГНОСТИКА
54 Техническое обслуживание ДИАГНОСТИКА И УСТРАНЕНИЕ НЕИСПРАВНОСТЕЙ НЕИСПРАВНОСТЬ ВОЗМОЖНАЯ ПРИЧИНА , МЕРЫ ПО УСТРАНЕНИЮ Электростартер не работает • Рукоятка переключения режимов не находится в НЕЙТРАЛЬНОМ по - ложении . • Перегорел предохранитель . • Разряжена аккумуляторная батарея Двигатель не з...
Страница 56 - УСТАНОВКА; ВЫСОТА
56 Информация об изделии УСТАНОВКА ПРЕДОСТЕРЕЖЕНИЕ Не устанавливайте мотор , мощность которого превышает технические характеристики Ва - шего судна , ука занные в заводской табличке . В противном случае судно может выйти из - под контроля . Если заводская табличка от - су тствует или у теряна , обра...
Страница 57 - ВИНТ; Установк а
57 УСТАНОВКА ПОДВЕСНОГО МОТОРА ПРЕДОСТЕРЕЖЕНИЕ Очень важно — правильно установить под - весной мотор . Неправильная установка может привести к серьёзным травмам , гибели лю - дей или причинению ущерба имуществу . Для установки мотора настоятельно рекомендуем обратиться к Вашему дилеру . ВАЖНО : Ради...
Страница 58 - Ремонт; АККУМУЛЯТОРНАЯ; Техниче ские
58 Информация об изделии Установите втулку на вал и введите её в зацепление со шлицами вала . Установите деревянный блок между лопастью винта и антикавитационной плитой . Установите гайку вала и затяните её с усилием 13,6— 16,3 Н • м . Установите стопорную гайку на гайку винта и совме - стите шлицы ...
Страница 59 - Обслу живание; ДАВЛЕНИЕ
59 ►У СТАНОВКА 1. Основной кабель аккумуляторной батареи 2. Зубчатая шайба 3. Провода других потребителей тока Затяните все соединения и нанесите смазку Triple Guard. ПРЕДОСТЕРЕЖЕНИЕ С од е рж и т е ко н т а к т ы б а т а р е и в ч и с том с о - стоянии , а также , надёжно затяну тыми , для предотвр...
Страница 60 - РЕГУЛИРОВКИ
60 Информация об изделии РЕГУЛИРОВКИ Холостые обороты в режиме хода Если это необходимо , возможна регулировка оборотов холостого хода в режиме хода , чтобы обеспечить луч - ший контроль оборотов холостого хода , управляемость и тишину в определенных условиях эксплуатации . ВАЖНО : Регулировка оборо...
Страница 61 - МОДЕЛИ
61 ►Т ЕХНИЧЕСКИЕ ХАРАКТЕРИСТИКИ ТЕХНИЧЕСКИЕ ХАРАКТЕРИСТИКИ МОДЕЛИ 75, 90 Рабочий объём , куб . см . 1296 Тип двигателя Рядный , двухтактный , 3- цилиндровый , E-TEC Рабочие обороты при полностью открытом дросселе , об / мин 75 HP: 4500 — 5500 90 HP: 4500 — 5500 Мощность (1) , л . с ./ кВт ( при об /...
Страница 62 - EVINRUDE
62 СВЕДЕНИЯ О ГАРАНТИИ Информация об изделии МЕЖДУНАРОДНАЯ ОГРАНИЧЕННАЯ ГАРАНТИЯ НА ПОДВЕСНЫЕ МОТОРЫ EVINRUDE 2011*, ИСПОЛЬЗУЕМЫЕ В АФРИКЕ , НА БЛИЖНЕМ ВОСТОКЕ , ЛА - ТИНСКОЙ АМЕРИКЕ , ОСТРОВАХ ТИХОГО ОКЕАНА , АЗИИ , АЛБАНИИ , БЫВШЕЙ ЮГОСЛАВСКОЙ РЕСПУБЛИКИ МАКЕДОНИИ , СЕРБИИ И ЧЕРНОГОРИИ , БОСНИИ И ...
Страница 64 - ПЕРЕПРОДАЖА
64 d. Подвесные моторы Evinrude должны быть приобретены в стране или союзе стран проживания владельца . e. Продукт должен своевременно и регулярно проходить технический осмотр и обслуживание в порядке , уста - новленном данным Руководством по эксплуатации . Компания BRP оставляет за собой право на и...
Страница 65 - ПРОВЕРКА
65 ПРОВЕРКА ►П РОВЕРКА Готовы ли Вы к управлению лодкой ? 1. Прочитали ли Вы это Руководство от начала до конца ? 2. Готовы ли Вы взять на себя ответственность за безопасную эксплуатацию лодки и мотора ? 3. Понятны ли Вам все предупреждения о безопасности , указанные в этом Руководстве ? 4. Понимает...
Страница 69 - ТЕХНИЧЕСКОЕ; Предпродажная
69 ОТМЕТКИ О ПРОХОЖДЕНИИ РЕГЛАМЕНТНЫХ РАБОТ Проведение регулярного и квалифицированного технического обслуживания изделия является очень важным фактором для поддержания его в технически исправном и безопасном для экс - плуатации состоянии . Периодически проверяйте техническое состояние изделия и сле...
Страница 71 - Прежний адрес/предыдущий владелец
71 Гарантия на технику BRP распространяется на последующих владельцев в течение всего срока действия гарантии . Прилагаемая форма заполняется в случае смены владельца и передается дилеру . Смена адреса Номер модели Серийный номер Смена владельца Прежний адрес/предыдущий владелец Новый адрес/новый вл...
Страница 73 - ПОДТВЕРЖДЕНИЕ
73 Остается у дилера Остается у владельца Имя: Имя: Адрес: Адрес: Подпись: Дата: После получения нового подвесного мотора Evinrude/Johnson заполните и подпишите приведенную ниже форму. Эта информация нужна дилеру. Номер модели: Серийный номер: (заполняется дилером или владельцем) С правилами эксплуа...