Духовые шкафы Lex EDP 4571 - инструкция пользователя по применению, эксплуатации и установке на русском языке. Мы надеемся, она поможет вам решить возникшие у вас вопросы при эксплуатации техники.
Если остались вопросы, задайте их в комментариях после инструкции.
"Загружаем инструкцию", означает, что нужно подождать пока файл загрузится и можно будет его читать онлайн. Некоторые инструкции очень большие и время их появления зависит от вашей скорости интернета.

9
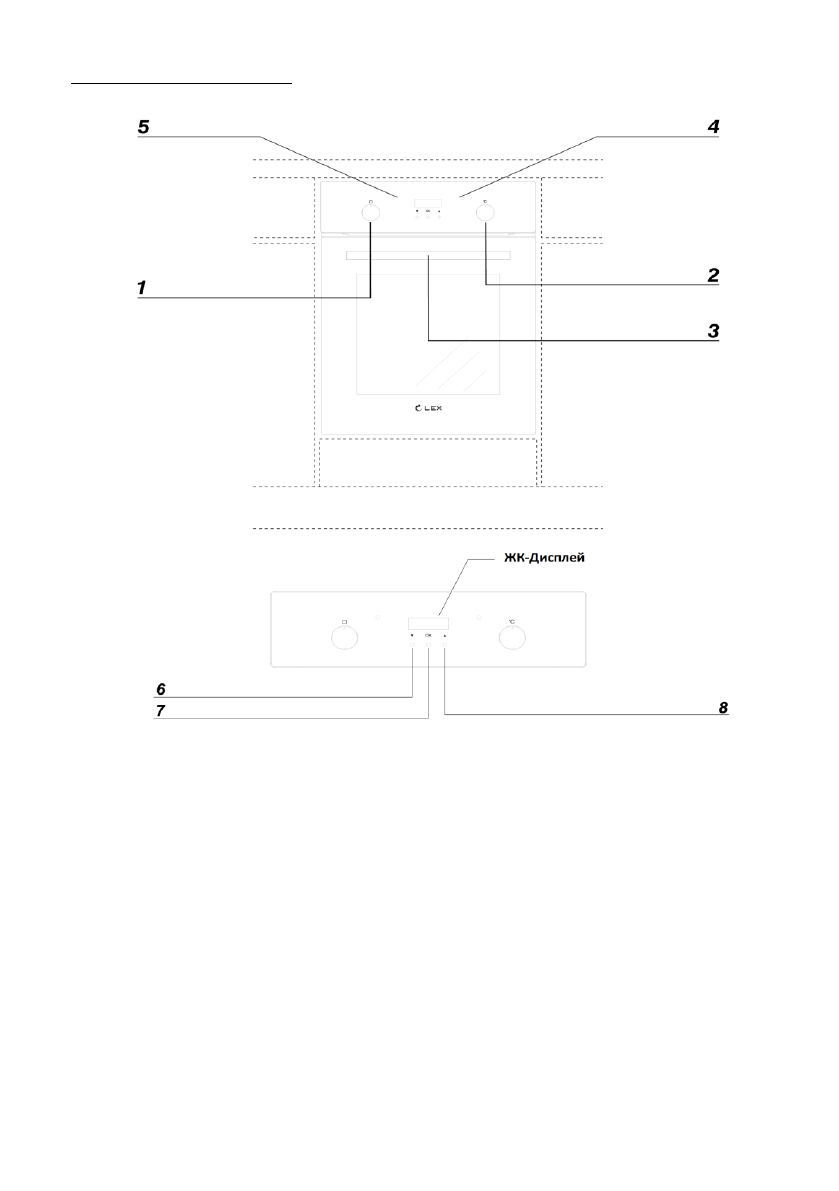
Описание устройства
1 Переключатель режимов духового шкафа
2 Регулятор температуры
3 Ручка дверцы
4 Красный световой индикатор регулятора температуры
5 Желтый световой индикатор выбора режима
6 Кнопка уменьшения заданных параметров (-)
7 Кнопка подтверждения
8 Кнопка увеличения заданных параметров (+)
Характеристики
Остались вопросы?Не нашли свой ответ в руководстве или возникли другие проблемы? Задайте свой вопрос в форме ниже с подробным описанием вашей ситуации, чтобы другие люди и специалисты смогли дать на него ответ. Если вы знаете как решить проблему другого человека, пожалуйста, подскажите ему :)