Духовые шкафы Electrolux OPEB 6641 X - инструкция пользователя по применению, эксплуатации и установке на русском языке. Мы надеемся, она поможет вам решить возникшие у вас вопросы при эксплуатации техники.
Если остались вопросы, задайте их в комментариях после инструкции.
"Загружаем инструкцию", означает, что нужно подождать пока файл загрузится и можно будет его читать онлайн. Некоторые инструкции очень большие и время их появления зависит от вашей скорости интернета.

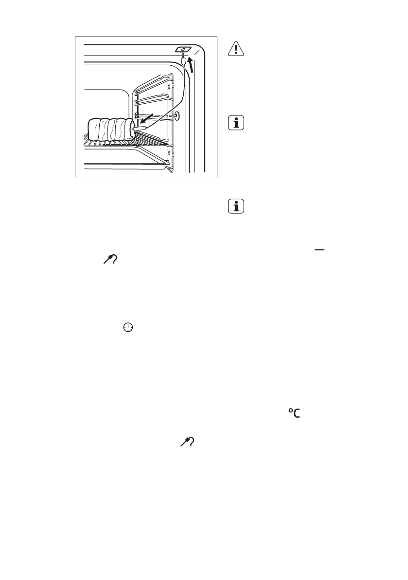
Убедитесь, что в ходе
приготовления термощуп
находится внутри куска мяса, а его
штекер вставлен в гнездо.
По умолчанию при первом
использовании термощупа
заданная температура внутри
продукта составляет 60°C. Пока
мигает
, можно изменить
заданную по умолчанию
температуру внутри продукта при
помощи ручки.
На дисплее отображается символ
термощупа и температура внутри
продукта.
4. Нажмите на для сохранения
новой температуры внутри
продукта или подождите 10 секунд,
и новое значение будет сохранено
автоматически.
Новое значение температуры внутри
продукта высветится на дисплее при
следующем использовании
термощупа.
При достижении заданной
температуры внутри продукта
значение температуры внутри
продукта и символ термощупа
начнут мигать. В течение двух минут
будет звучать звуковой сигнал.
5. Для отключения звукового сигнала
нажмите любую кнопку.
6. Извлеките штекер термощупа из
его гнезда. Выньте мясо из
прибора.
7. Выключите прибор.
ВНИМАНИЕ!
Будьте осторожны при
извлечении наконечника и
штекера термощупа.
Термощуп сильно
нагревается. Существует
риск получения ожогов.
При каждой установке
штекера термощупа в его
гнездо необходимо снова
задать значение
температуры. Выбрать
продолжительность и
время окончания
невозможно.
В то время как прибор
впервые рассчитывает
приблизительную
продолжительность хода
приготовления, на дисплее
мигает символ . По
окончании вычисления на
дисплее отобразится
продолжительность
приготовления.
Вычисления производятся
в многозадачном режиме в
ходе всего процесса
приготовления, и, при
необходимости, значение
продолжительности
обновляется на экране
прибора.
В ходе приготовления можно в любой
момент изменить значение
температуры:
1. Нажмите на
:
• одно нажатие вызывает
отображение заданной
температуры внутри продукта,
которое каждые 10 секунд
сменяется значением
фактической температуры
внутри продукта.
• два нажатия вызывают
отображение текущей
температуры духового шкафа,
которое каждые 10 секунд
www.electrolux.com
16












