Духовые шкафы Electrolux EOG 92100 AX - инструкция пользователя по применению, эксплуатации и установке на русском языке. Мы надеемся, она поможет вам решить возникшие у вас вопросы при эксплуатации техники.
Если остались вопросы, задайте их в комментариях после инструкции.
"Загружаем инструкцию", означает, что нужно подождать пока файл загрузится и можно будет его читать онлайн. Некоторые инструкции очень большие и время их появления зависит от вашей скорости интернета.

ВНИМАНИЕ!
Параметры настройки данного прибо‐
ра указаны на наклейке или табличке
с техническими данными.
ВНИМАНИЕ!
Изготовитель снимает с себя всякую
ответственность в случае проведе‐
ния установки с нарушением инструк‐
ций, приведенных в настоящем руко‐
водстве.
Среда установки:
• Данный прибор не соединяется с вытяж‐
ным устройством.
• Установка прибора разрешена только в по‐
мещении с достаточной вентиляцией.
• Держите открытыми отверстия для есте‐
ственной вентиляции или установите под‐
весную вытяжку.
• В мебели, куда встраивается прибор, дол‐
жна быть предусмотрена прорезь пло‐
щадью не менее 130 см².
Использование газового прибора для
приготовления пищи приводит к выделению
тепла и влаги в помещении, в котором он ус‐
тановлен. Обеспечьте надлежащую вентиля‐
цию кухни: держите открытыми отверстия для
естественной вентиляции или установите ус‐
тройство механической вытяжки (вытяжной
вентилятор). При продолжительной и интен‐
сивной эксплуатации прибора необходима до‐
полнительная вентиляция (например, откры‐
тое окно или переключение механической вы‐
тяжки, если она имеется, на более более вы‐
сокий уровень мощности).
13.2 Подключение к газовой
магистрали
Линия подвода газа находится на задней сто‐
роне панели управления.
ВНИМАНИЕ!
Не используйте гибкие резиновые
подводки!
ВНИМАНИЕ!
Перед подключением газа необходи‐
мо отключить вилку шнура питания
от розетки питания либо отключить
предохранитель на электрощите. За‐
кройте основной вентиль линии под‐
вода газа.
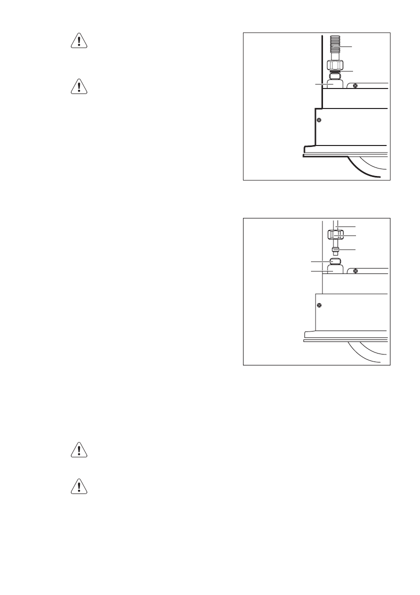
A
B
C
A)
Гибкая металлическая подводка
B)
Прокладка
C)
Подвод газа
A
B
C
D
E
A)
Жесткая металлическая подводка
B)
Гайка
C)
Уплотнительная линза
D)
Штуцер/муфта с внутренней резьбой
E)
Подвод газа
1.
Не задвигайте духовой шкаф на его ме‐
сто во встроенной мебели до отказа (ос‐
тавьте около 30 см).
Существует два вида подключения.
a)
Подключение гибкой металлической
подводкой (не более 2 м):
• Поместите прокладку из комплек‐
та поставки между подводкой и
трубой подачи газа.
• Подключите подводку к трубе под‐
вода газа диаметром 1/2 дюйма.
b)
Подключение жесткой металличе‐
ской подводкой (мягкая медь, диа‐
метр не менее 8 мм):
22 www.electrolux.com