Страница 2 - Ваши замечания и предложения присылайте по адресу; СОДЕРЖАНИЕ
2 Паспорт сделан в соответствии с ГОСТ 2.601, 2.105 Ваши замечания и предложения присылайте по адресу 195279, Санкт- Петербург, а /я 132, шоссе Революции, 90 Тел. (812) 301-99-40, тел./факс (812) 327-63-82 Сервис-центр: (812) 493-35-98 www.teplomash.ru СОДЕРЖАНИЕ 1 НАЗНАЧЕНИЕ ..........................
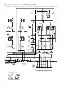
Страница 4 - П р о д о л ж е н и е т а б л и ц ы 1; УСТРОЙСТВО И ПОРЯДОК РАБОТЫ; струи воздуха из сопла.
4 П р о д о л ж е н и е т а б л и ц ы 1 Завесы c электрическим источником тепла КЭВ-24П5060Е арт.125035 КЭВ-36П5060Е арт.125036 КЭВ-48П5060Е арт.125037 Параметры питающей сети, В/Гц 380/50 Режимы мощности 1 , кВт */12/24 */18/36 */24/48 Расход воздуха, м 3 /ч 6800/7500/8500 Скорость воздуха на выход...
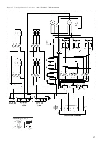
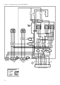
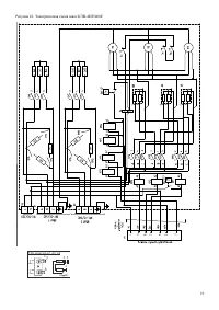
Страница 5 - - Трубчатые электронагревательные; Вид А; Блок управления
5 Рисунок 1. Воздушно-тепловая завеса Выносной пульт управления IR03 Дистанционный пульт управления Светодиоды режимов нагрева Светодиоды режимов расхода воздуха Приемное устройство инфракрасного сигнала Кнопка выбора режима нагрева Кнопки установки требуемой температуры Кнопка выбора режима расхода...
Страница 9 - Примечание – использовать кабели с многопроволочными жилами; УЗО; PE; Электрощитовая
9 Таблица 2. Номинальные токи автоматических выключателей и сечение медных проводов подводящих кабелей. Модель завесы Параметры питающей сети Номинальные токи автоматических выключателей QF1 и QF2 Кабель 1 (2шт.) КЭВ-18П5050Е 380В/50Гц 20А 4х2,5 КЭВ-24П5050Е 25А 4х4,0 КЭВ-36П5050Е 40А 4х6,0 КЭВ-24П5...
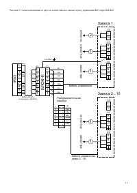
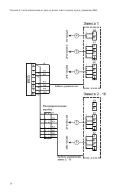
Страница 10 - Завеса 1; Кабель управления; IR
10 4 4 3 3 6 6 7 7 2 2 5 5 1 1 1 1 1 1 1 2 2 2 2 2 3 3 3 3 4 4 4 4 A A L L A A B B N N B B C C C C X1 X1 X3 X3 X2 X2 Завеса 1 Завеса 2...10 1N~50/220 3PE~50/380 3PE~50/380 3PE~50/380 3PE~50/380 кр кр кор кор ж/з ж/з белсер сер бел син син черн черн Кабель управления Распределительная коробка Кабели ...
Страница 12 - ТЕХНИЧЕСКОЕ ОБСЛУЖИВАНИЕ
12 7.5 В в о д з а в е с ы в э к с п л у а т а ц и ю 7.5.1 При вводе завесы в эксплуатацию необходимо: – убедиться в отсутствии препятствий для всасывания воздуха; – проверить напряжение питания; – при первом включении заполнить свидетельство о подключении п.14 настоящего паспорта. 7.5.2 При первом ...
Страница 13 - Использование непригодной завесы ЗАПРЕЩЕНО!; ВОЗМОЖНЫЕ НЕИСПРАВНОСТИ И СПОСОБЫ ИХ УСТРАНЕНИЯ
13 ВНИМАНИЕ! ПОСЛЕ ТРАНСПОРТИРОВАНИЯ ИЗДЕЛИЯ ПРИ ОТРИЦАТЕЛЬНЫХ ТЕМПЕРАТУРАХ, СЛЕДУЕТ ВЫДЕРЖАТЬ ИЗДЕЛИЕ В ПОМЕЩЕНИИ, ГДЕ ПРЕДПОЛАГАЕТСЯ ЕГО ЭКСПЛУАТАЦИЯ, БЕЗ ВКЛЮЧЕНИЯ В СЕТЬ НЕ МЕНЕЕ 2 ЧАСОВ. Установочныекрепежные отверстия Транспортировочныекрепежные отверстия 9 ПРАВИЛА ХРАНЕНИЯ И ТРАНСПОРТИРОВАНИЯ...
Страница 14 - ГАРАНТИЙНЫЕ ОБЯЗАТЕЛЬСТВА; П р о д о л ж е н и е т а б л и ц ы 4
14 Снизилась сила струи с уменьшением расхода воздуха Произошло сильное загрязнение решетки вентилятора Прочистить решетку (раздел 8) Завеса работает, но не обеспечивает требуемую температуру воздуха в помещении Наружные условия (температура воздуха и скорость ветра) оказались более «жесткими», чем ...
Страница 15 - Рисунок 6. Габаритные и присоединительные размеры
15 А Б А Б 30 0 m in 1466 1520,8 660 30 0 m in L 1 L l A 71 0 74 3 77 0 105 75 Место ввода силового кабеля ; место вывода кабеля управления 99 0 65 0 100 30° 100 97 5 64 5 429,8 103,3 75 Всасывание Всасывание Нагнетание Нагнетание A 2 A 3 1238 Модель завесы Размеры , мм n L L 1 l A A 1 A 2 A 3 КЭВ -...
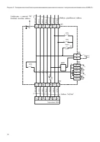
Страница 20 - ÍÏÎ «Òåïëîìàø»; Êàáåëü óïðàâëåíèÿ çàâåñû
20 Áëîê ïîäêëþ÷åíèÿ êîíöåâîãî âûêëþ÷àòåëÿ ê çàâåñàì ñ ýëåêòðè÷åñêèì èñòî÷íèêîì òåïëà. Ëèòåðà O1 Ëèñò 1 Ëèñòîâ 1 Ìàññà Ìàñøòàá Èíâ.¹ ïîäë. Âçàèì Èíâ.¹ Èíâ.¹ äóáë. Ñïðàâ.¹ Ïåðâîå ïðèìåíåíèå Ïîäïèñü è äàòà Ïîäïèñü è äàòà ÍÏÎ «Òåïëîìàø» L 7 5 N 6 1 2 L 7 5 N 6 1 2 L 7 5 N 6 1 2 Êîíö.âûêë. Ï1 Ï2 Ò1 ° Ñ Ò...
Страница 21 - ДЛЯ ЗАМЕТОК
21 ДЛЯ ЗАМЕТОК _____________________________________________________________________________________ _____________________________________________________________________________________ _____________________________________________________________________________________ ___________________________...
Страница 24 - СВИДЕТЕЛЬСТВО О ПРИЕМКЕ; Дата изготовления; СВИДЕТЕЛЬСТВО О ПОДКЛЮЧЕНИИ; Подключена к сети в соответствии с п.7 Паспорта; СБ
24 13 СВИДЕТЕЛЬСТВО О ПРИЕМКЕ Воздушно-тепловая завеса модели: (нужное отметить) КЭВ-18П5050Е КЭВ-24П5060Е КЭВ-24П5050Е КЭВ-36П5060Е КЭВ-36П5050Е КЭВ-48П5060Е Заводской номер №_______________________ Воздушно-тепловая завеса изготовлена и принята в соответствии с требованиями ТУ 4864-036-54365100-20...