Ballu BHC-B15W15-PS НС-1136128 - инструкции и руководства

model-name

Обогреватель Ballu BHC-B15W15-PS НС-1136128 - инструкции пользователя по применению, эксплуатации и установке на русском языке читайте онлайн в формате pdf

1 Page 1
2 Page 2
3 Page 3
4 Page 4
5 Page 5
6 Page 6
7 Page 7
8 Page 8
9 Page 9
10 Page 10
11 Page 11
12 Page 12
13 Page 13
14 Page 14
15 Page 15
16 Page 16
17 Page 17
18 Page 18
19 Page 19
20 Page 20
21 Page 21
22 Page 22
23 Page 23
24 Page 24

Краткое содержание

Страница 2 - Используемые обозначения; ПРИ МЕ ЧА НИЕ; Свидетельство о приемке; Содержание

Используемые обозначения ВНИМАНИЕ! Требования, несоблюдение которых может при-вести к тяжелой травме или серьезному по-вреждению оборудования. ОС ТО РОЖ НО! Требования, несоблюдение которых может при-вести к серьезной травме или летальному исходу. ПРИ МЕ ЧА НИЕ 1. В тексте данной инструкции тепловые...

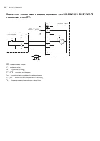
Страница 4 - Устройство и принцип работы прибора; Устройство и принцип работы

4 Устройство и принцип работы прибора ях с температурой окружающего воздуха от -30 °С до +60  °С и относительной влажности воздуха не более 80% (при температуре +25  °С) в условиях, исключающих попадание на нее капель и брызг, а также атмосферных осадков (климатическое ис-полнение УХЛ4 по ГОСТ 15150...

Страница 5 - Технические характеристики

5 Технические характеристики Технические характеристики Параметр/Модель** BHC-B10W10-PS ВНС-B15W15-PS Напряжение питания, В~Гц 220 ~ 50 220 ~ 50 Номинальная тепловая мощность при t 95/70/15, кВт 8,0 14,0 Мощность в режиме вентиляции, Вт 100 120 Номинальный ток, А 0,4 0,5 Максимальное количество заве...

Ballu Обогреватели Инструкции