Бензопилы DGM GS-232 - инструкция пользователя по применению, эксплуатации и установке на русском языке. Мы надеемся, она поможет вам решить возникшие у вас вопросы при эксплуатации техники.
Если остались вопросы, задайте их в комментариях после инструкции.
"Загружаем инструкцию", означает, что нужно подождать пока файл загрузится и можно будет его читать онлайн. Некоторые инструкции очень большие и время их появления зависит от вашей скорости интернета.

Gasoline chainsaw DGM GS-232
7
СБОРКА
Для сборки цепной пилы Вам понадобится свечной ключ, поставляемый в комплекте. А
также защитные перчатки, во время работы с цепью (перчатки в комплект не входят).
Внимание! Не запускайте двигатель пилы, не собрав ее полностью!
Новая пила требует:
✓
Установки направляющей шины и цепи.
✓
Регулировки натяжения цепи.
✓
Заправки топливного бака топливной смесью. (см. пункт ТОПЛИВО И СМАЗКА).
✓
Заправки масляного бака смазки цепи смазочным маслом. (см. пункт ТОПЛИВО
И СМАЗКА).
Внимание! Только после этого пила будет готова к работе!
Прежде чем приступать к работе, полностью ознакомьтесь с содержанием данного
руководства. Особое внимание следует уделять правилам техники безопасности.
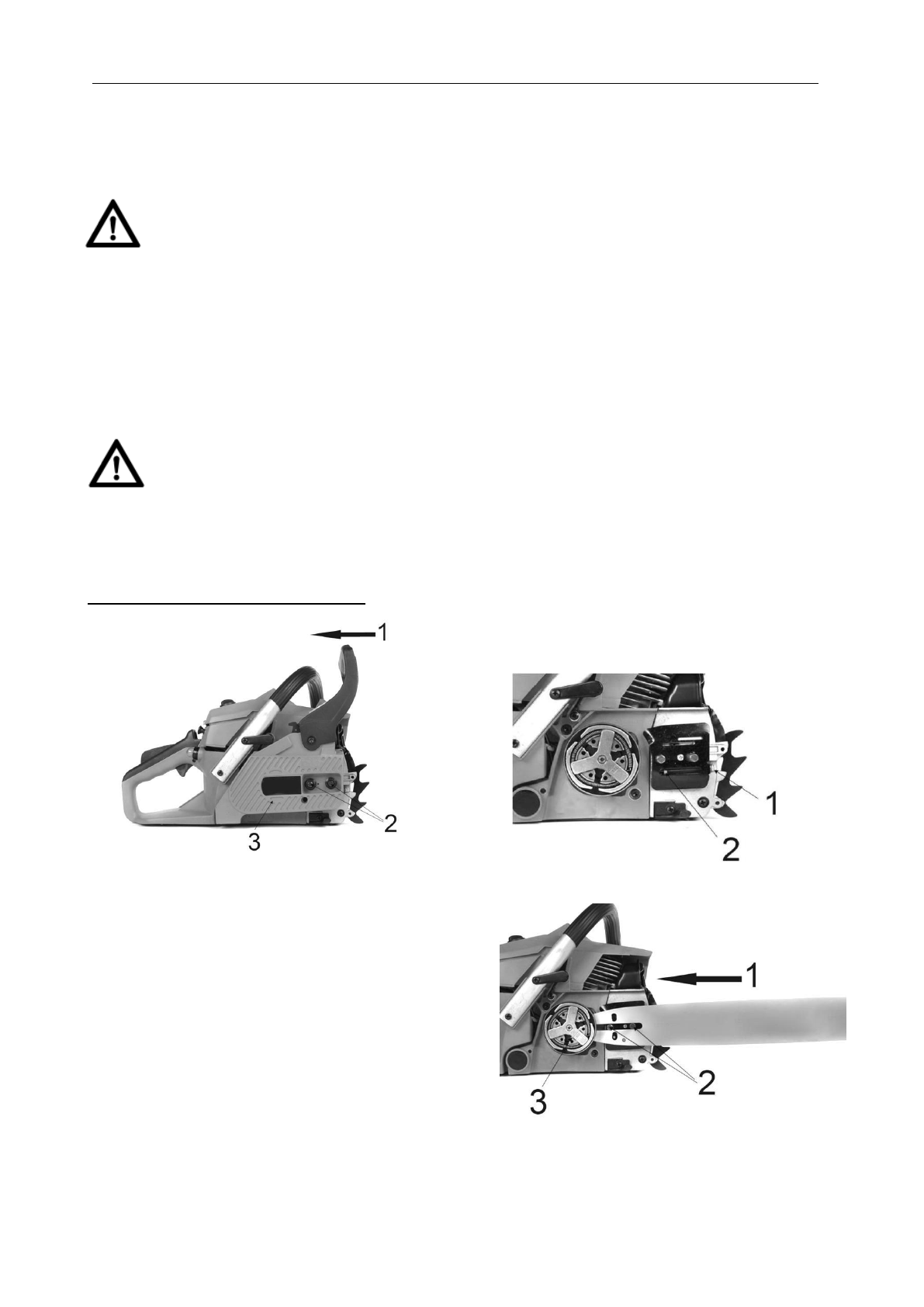
Монтаж направляющей шины
Рис. 2.
Рис. 3.
Убедитесь, что ручка тормоза цепи (1)
сдвинута в положение ВЫКЛ, и тормоз
разблокирован (см. Рис. 2).
Отвинтите предохранительные гайки шины
(2). Снимите крышку тормоза цепи (3),
потянув ее вверх. Возможно, потребуется
приложить усилие
С
помощью
отвертки
поверните
регулировочный
винт
(1),
установите
выравнивающий штифт (2) (выступающий
вал) в среднее положения (см. Рис.3).
Рис. 4.
Установите пазовую часть пильной шины (1) на шинные болты (2). Передвигайте шину
за муфту сцепления (3) до тех пор, пока отверстие для регулировочного штифта не
совпадёт с положением штифта (см. Рис. 4).









