Автомобили Renault KOLEOS 2013 - инструкция пользователя по применению, эксплуатации и установке на русском языке. Мы надеемся, она поможет вам решить возникшие у вас вопросы при эксплуатации техники.
Если остались вопросы, задайте их в комментариях после инструкции.
"Загружаем инструкцию", означает, что нужно подождать пока файл загрузится и можно будет его читать онлайн. Некоторые инструкции очень большие и время их появления зависит от вашей скорости интернета.

Jaune
Noir
Noir texte
1.53
RUS_UD31418_9
Ordinateur de bord (X45 - H45 - Renault)
RUS_NU_1057-2_H45_Ph3_Renault_1
ОРТОВО
КО П
ТЕР
(4/10)
Индикация
перечисленной
ниже
информации
на
щитке
приборов
ЗАВИСИТ
ОТ
КО П ЕКТА ИИ
АВТО О И
И
СТРАН
ПОСТАВКИ
.
Примеры
выбора
показаний
на
дисплее
Пояснения
к
выбранным
показаниям
дисплея
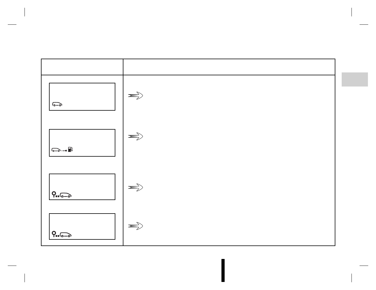
гновенный
расход
топлива
Текущий
расход
топлива
отображается
на
дисплее
после
достижения
автомоби
-
лем
скорости
30
км
/
ч
.
ТЕ
9.2 L/100
Расчетный
запас
хода
на
оставшемся
в
баке
топливе
При
расчете
запаса
хода
учитывается
средний
расход
топлива
с
момента
послед
-
него
обнуления
расчетных
показателей
.
начение
отображается
на
дисплее
после
прохождения
автомобилем
500
м
.
П С
Д
160 km
Пройденный
путь
с
момента
последнего
обнуления
показаний
.
ПР
Е
275.5 km
Средняя
скорость
с
момента
последнего
обнуления
показателей
.
начение
отображается
на
дисплее
после
прохождения
автомобилем
500
м
.
СРЕД
58.9 km/h
Содержание
- 3 Главы
- 4 Глава
- 5 КАРТ; RENAULT
- 6 Встроенный
- 8 Использование; КАРТА; Разблокировка
- 9 локировка
- 12 ОТКР ТИЕ
- 13 езопасность
- 14 ЗАПИРАНИЕ
- 17 ПОДГО ОВНИКИ
- 18 ПЕРЕДНИЕ
- 19 Сиденья
- 20 РЕ НИ
- 24 Преднатяжители
- 26 Запуск; Неисправности
- 28 СИСТЕ А; Ограничитель
- 29 ОКОВ Е; оковые
- 31 ЕЗОПАСНОСТ; Перевозка
- 37 Графическое
- 39 Отключение
- 42 ПОКАЗАНИ
- 47 СИГНА
- 51 ИТОК
- 53 ОРТОВО
- 58 Данные
- 60 Сообщения
- 61 Предупредительные
- 63 РУЛ ВО
- 64 ЗЕРКА А
- 65 ЗВ КОВА
- 66 ПРИ ОР
- 70 О ИСТИТЕ
- 71 Стеклоомыватель
- 72 СТЕК ОО ИСТИТЕ
- 73 ТОП ИВН; Качество
- 74 Заправка
- 75 Нарушение
- 76 ИД
- 77 лава
- 78 О КАТКА
- 79 АПУСК
- 81 ОСТАНОВКА
- 82 ОСО ЕННОСТИ; Затруднения
- 84 Включение
- 85 АВТО АТИ ЕСКИ
- 86 Особые
- 87 АВТО АТИ СКИ
- 88 Разблокирование
- 90 Вождение
- 91 Советы
- 92 О РА А
- 94 Перестановка
- 96 СИСТ
- 97 ПО Н; «4WD Lock»
- 98 Особенности
- 100 СТРО СТВА; антиблокировочная
- 102 Система
- 105 ПРЕД ПРЕЖДЕНИЕ; Индикатор
- 106 ПР ДУПР
- 107 Органы
- 108 Р УЛ ТОР
- 121 ДЕ
- 123 РУ
- 126 АВТО АТИ СКА
- 127 АВТО АТИ ЕСКА; Автоматический
- 130 Распределение
- 133 ЕКТРОСТЕК ОПОД Е НИКИ
- 134 Импульсные
- 135 КР
- 138 ОСВЕ ЕНИЕ
- 140 ОТДЕ ЕНИ
- 147 НК ИОНА
- 148 Для
- 149 АГАЖНОЕ; Дверь
- 153 Крепежные
- 154 ПОПЕРЕ ИН; Поперечины
- 155 ТИ ЕДИ НОЕ
- 157 Открытие; КАПОТ; Закрытие
- 158 УРОВ
- 159 РОВЕН
- 161 Замена
- 162 РОВНИ; Охлаждающая
- 163 УРОВ И
- 164 ачок
- 165 ДАВ ЕНИЕ
- 166 АКК
- 167 ОД
- 168 то
- 172 ПРОКО; Запасное
- 173 КО П ЕКТ
- 175 еры
- 176 НА ОР
- 177 ЗА ЕНА
- 179 ИН
- 182 ГА ОГЕНН Е
- 183 АР
- 184 Противотуманные; Дополнительные
- 185 ЗАДНИЕ; Снятие
- 188 ампа; Плафон
- 191 ПРЕДО РАНИТЕ И; лок
- 192 ПР ДО РА ИТ ЛИ
- 193 Во
- 196 ДОПО НИТЕ
- 197 ЕТКИ
- 198 КСИРОВКА; Порядок
- 199 УКСИРОВКА
- 200 Автомобили
- 202 НАР
- 205 АРУ
- 208 TENXB
- 211 АРАКТЕРИСТИКИ
- 212 АССОВ Е
- 213 ЗАПАСН Е
- 220 ПРОВЕРКА
- 225 АВИТН