Автомобили Ford S MAX 2013 - инструкция пользователя по применению, эксплуатации и установке на русском языке. Мы надеемся, она поможет вам решить возникшие у вас вопросы при эксплуатации техники.
Если остались вопросы, задайте их в комментариях после инструкции.
"Загружаем инструкцию", означает, что нужно подождать пока файл загрузится и можно будет его читать онлайн. Некоторые инструкции очень большие и время их появления зависит от вашей скорости интернета.

WARNUNGEN
Das Dichtmittel enthält natürliches
Naturkautschuk. Kontakt mit Haut
und Kleidung vermeiden. Sollte dies
trotzdem geschehen, spülen Sie die
betreffenden Stellen sofort mit viel Wasser
und suchen Sie einen Arzt auf.
Beträgt der Reifenluftdruck innerhalb
von sieben Minuten nicht 1,8 bar
(26 psi), ist der Reifen
möglicherweise zu stark beschädigt, so
dass eine behelfsmäßige Reparatur nicht
möglich ist. In diesem Fall mit diesem
Reifen nicht weiterfahren.
VORSICHT
Durch das Aufschrauben der Flasche
auf den Flaschenhalter wird das
Siegel der Flasche durchstoßen.
Schrauben Sie die Flasche nicht vom
Halter ab, da hierbei Dichtmittel austritt.
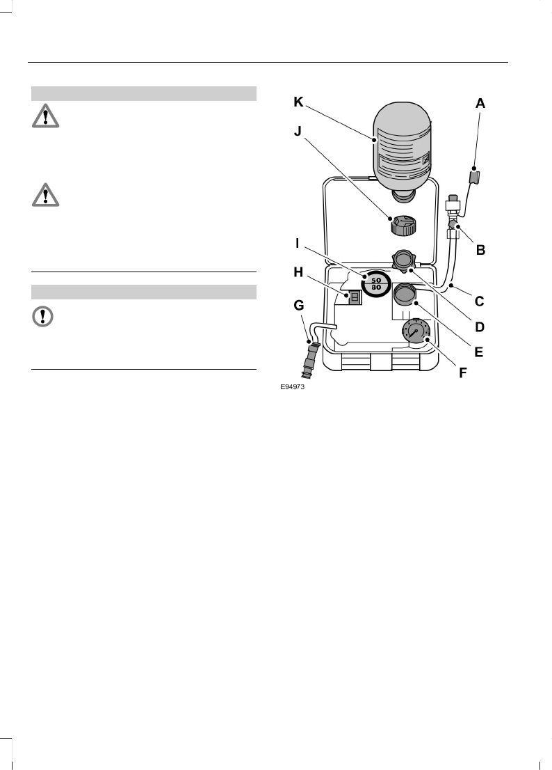
Schutzkappe
A
Überdruckventil
B
Schlauch
C
Orangefarbene Kappe
D
Flaschenhalter
E
Manometer
F
Spannungsversorgungsleitung
mit Stecker
G
Kompressorschalter
H
Aufkleber
I
Behälterdeckel
J
Dichtmittelflasche
K
1.
Öffnen Sie den Deckel des
Reifen-Reparaturkits.
268
Galaxy/S-MAX (CA1) Vehicles Built From: 25-11-2013, Vehicles Built Up To: 18-12-2014, CG3533deDEU deDEU, Edition date: 11/2013, Second Printing
Räder und Reifen
