Вытяжки Smeg KV26N - инструкция пользователя по применению, эксплуатации и установке на русском языке. Мы надеемся, она поможет вам решить возникшие у вас вопросы при эксплуатации техники.
Если остались вопросы, задайте их в комментариях после инструкции.
"Загружаем инструкцию", означает, что нужно подождать пока файл загрузится и можно будет его читать онлайн. Некоторые инструкции очень большие и время их появления зависит от вашей скорости интернета.

DA
4
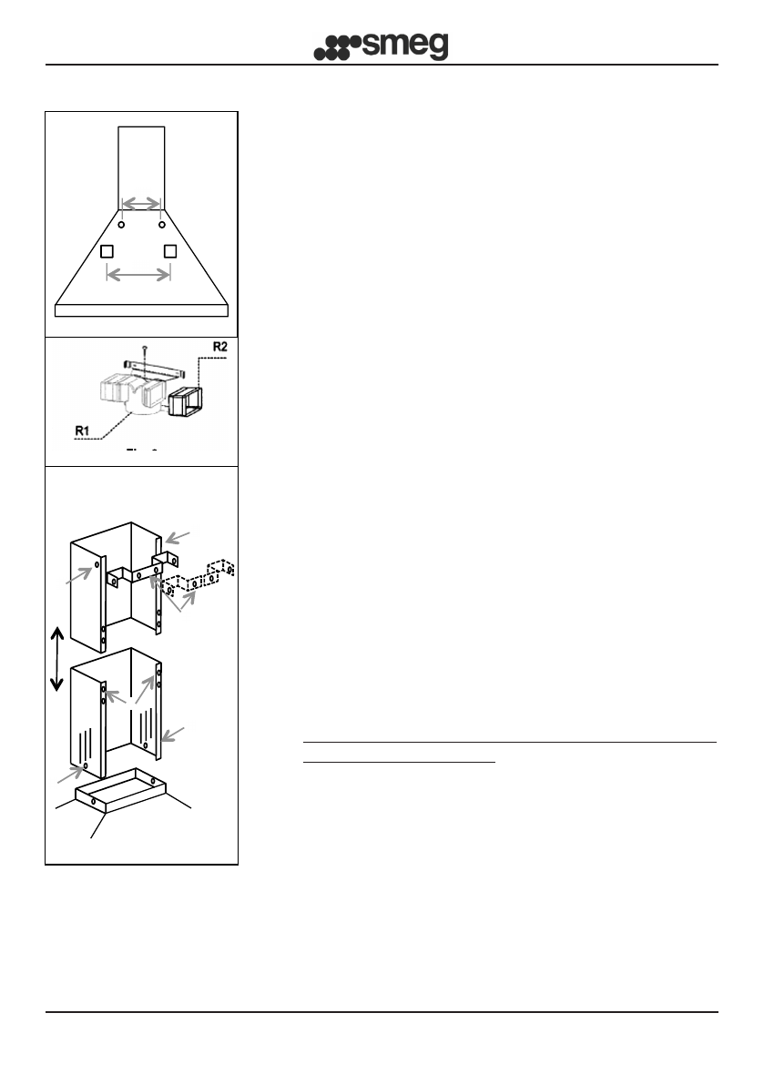
Fig. 5
Fig. 6
Fig. 7
L2
L1
K
Z
Z
L
L
Z
Version FILTRERING:
Åbningen til motoren skal holdes fri. De aktive kulfiltre
installeres som vist på side 8.
Hvis emhætten ikke er udstyret med aktive kulfiltre er det
nødvendigt separat at anskaffe sådanne ved henvendelse
til nærmeste autoriserede Smeg-forhandler.
På visse modeller medfølger som standard et sæt af rørstykker
(fig.6) der skal monteres på væggen med ekspansionsdyvler
i en sådan højde at luften fra emhætten ledes korrekt ud
mod ristene på rørkappens sider. Forlængerne R2 monteres
på siden af samlestykket R1. Forbind samlestykket R1 i
udgangen på emhætten ved hjælp af et rør med diameter
D. 150mm.
• MONTERING AF RØRKAPPE (fig. 7):
Kappens beslag, (K), enten i en eller to dele, placeres
i den ønskede højde. Sæt mærker til de to huller til
fastgørelse af beslaget. Der bores huller på væggen
for montering af beslaget. Beslaget fastgøres med de
medfølgende skruer og ekspansionsdyvler.
Rørkappens dele placeres forsigtigt på emhætten. Den
nederste del af kappen monteres på emhætten med
skruerne Z. Den øverste del af kappen trækkes forsigtigt
ud indtil den ønskede længde.
Den øverste del af kappen fastgøres med skruerne L til
kappens vægbeslag K.
• ELEKTRISK TILSLUTNING
• Det anbefales at de elektriske installationer udføres
af autoriseret installatør.
Hvor det er nødvendigt at forbinde emhættens elektriske
kabel direkte til strømforsyningen skal der indsættes
en dobbeltpolet afbryder, med minimal åbning mellem
kontakterne på 3 mm, med passende spændingsstyrke
og som overholder gældende normer og standarder.
Содержание
- 122 РУС; МЕРЫ ПРЕДОСТОРОЖНОСТИ!; УСТАНОВКА; • Перед установкой и/или использованием вытяжки, внимательно; ЭКСПЛУАТАЦИЯ
- 123 • ВНИМАНИЕ; ТЕХОБСЛУЖИВАНИЕ; • В СЛУЧАЕ НЕВЫПОЛНЕНИЯ ВЫШЕУКАЗАННЫХ ПРЕДПИСАНИЙ,
- 124 ИНСТРУКЦИИ ПО УСТАНОВКЕ:
- 125 Вариант с ФИЛЬТРАЦИЕЙ ВОЗДУХА:
- 126 ЭЛЕКТРОМЕХАНИЧЕСКАЯ КНОПОЧНАЯ ПАНЕЛЬ:; ИНСТРУКЦИИ ПО ЭКСПЛУАТАЦИИ:
- 127 ЕМКОСТНАЯ КНОПОЧНАЯ ПАНЕЛЬ 2 DIGIT НА 10 КНОПОК:
- 128 ЕМКОСТНАЯ КНОПОЧНАЯ ПАНЕЛЬ 1 DIGIT:
- 129 отключите вытяжку от электрического питания; УХОД И ТЕХНИЧЕСКОЕ ОБСЛУЖИВАНИЕ:; (только для варианта с фильтрацией воздуха)
- 130 Перед проведением любых работ по техническому
- 131 Согласно ст. 26 Законодательного декрета No 49 от 14