Вытяжки Smeg KV26N - инструкция пользователя по применению, эксплуатации и установке на русском языке. Мы надеемся, она поможет вам решить возникшие у вас вопросы при эксплуатации техники.
Если остались вопросы, задайте их в комментариях после инструкции.
"Загружаем инструкцию", означает, что нужно подождать пока файл загрузится и можно будет его читать онлайн. Некоторые инструкции очень большие и время их появления зависит от вашей скорости интернета.

IT
4
Versione
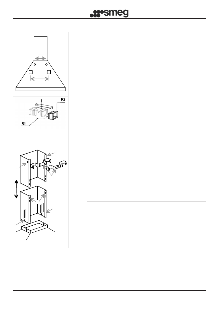
FILTRANTE:
Lasciare libero l’imbocco motore. Installare i filtri al carbone
attivo come illustrato a pag.8.
Se la cappa non è provvista di filtro al carbone attivo è
necessario acquistarlo separatamente rivolgendosi presso
il centro Smeg autorizzato più vicino.
Per alcuni modelli è previsto di serie un gruppo raccordi
(Fig.6) da fissare a parete mediante tasselli ad espansione
ad una altezza opportuna in modo da canalizzare il flusso
dell’aria in corrispondenza delle feritoie camino. Inserire
lateralmente le prolunghe R2 sui raccordo R1. Collegare il
raccordo R1 all’uscita del corpo cappa per mezzo di un tubo
di diametro D.150mm.
• MONTAGGIO CAMINI (fig. 7):
Posizionare la staffa camino, unica o in due pezzi (K) al
limite superiore desiderato.
Tracciare i due fori sulla parete per il fissaggio della staffa.
Forare e fissare la staffa con i tasselli ad espansione in
dotazione.
Posizionare con cura il gruppo camini sulla cappa.
Fissare il camino inferiore mediante le viti Z alla cappa.
Estendere con attenzione il camino superiore fino al
limite superiore.
Bloccare mediante le viti L il camino superiore alla staffa
camino K.
• CONNESSIONE ELETTRICA
• Si raccomanda che le operazioni di collegamento
elettrico vengano eseguite da un installatore
qualificato.
Nel caso di collegamento elettrico diretto alla rete
è necessario interporre tra l’apparecchio e la rete un
interruttore bipolare con apertura minima tra i contatti di
3mm, dimensionato al carico e rispondente alle norme
in vigore.
Fig. 5
Fig. 6
Fig. 7
L2
L1
K
Z
Z
L
L
Z
Содержание
- 122 РУС; МЕРЫ ПРЕДОСТОРОЖНОСТИ!; УСТАНОВКА; • Перед установкой и/или использованием вытяжки, внимательно; ЭКСПЛУАТАЦИЯ
- 123 • ВНИМАНИЕ; ТЕХОБСЛУЖИВАНИЕ; • В СЛУЧАЕ НЕВЫПОЛНЕНИЯ ВЫШЕУКАЗАННЫХ ПРЕДПИСАНИЙ,
- 124 ИНСТРУКЦИИ ПО УСТАНОВКЕ:
- 125 Вариант с ФИЛЬТРАЦИЕЙ ВОЗДУХА:
- 126 ЭЛЕКТРОМЕХАНИЧЕСКАЯ КНОПОЧНАЯ ПАНЕЛЬ:; ИНСТРУКЦИИ ПО ЭКСПЛУАТАЦИИ:
- 127 ЕМКОСТНАЯ КНОПОЧНАЯ ПАНЕЛЬ 2 DIGIT НА 10 КНОПОК:
- 128 ЕМКОСТНАЯ КНОПОЧНАЯ ПАНЕЛЬ 1 DIGIT:
- 129 отключите вытяжку от электрического питания; УХОД И ТЕХНИЧЕСКОЕ ОБСЛУЖИВАНИЕ:; (только для варианта с фильтрацией воздуха)
- 130 Перед проведением любых работ по техническому
- 131 Согласно ст. 26 Законодательного декрета No 49 от 14