Водонагреватели Hyundai H-GW2-ARW-UI307 - инструкция пользователя по применению, эксплуатации и установке на русском языке. Мы надеемся, она поможет вам решить возникшие у вас вопросы при эксплуатации техники.
Если остались вопросы, задайте их в комментариях после инструкции.
"Загружаем инструкцию", означает, что нужно подождать пока файл загрузится и можно будет его читать онлайн. Некоторые инструкции очень большие и время их появления зависит от вашей скорости интернета.

7.
Газовый проточный водонагреватель
RU
ПРаВИла БЕЗОПаСНОй эКСПлУаТацИИ
И УСТаНОВКИ ПРОТОчНОгО гаЗОВОгО
ВОДОНагРЕВаТЕля
При эксплуатации водонагревателя соблюдайте правила безопасности. Неправильная
эксплуатация в силу игнорирования данных правил может привести к причинению
вреда здоровью пользователя и других людей, а также нанесения ущерба их имуществу.
Производитель не несёт ответственности за причинённый вред здоровью и повреждение
имущества в результате неправильной установки и эксплуатации прибора
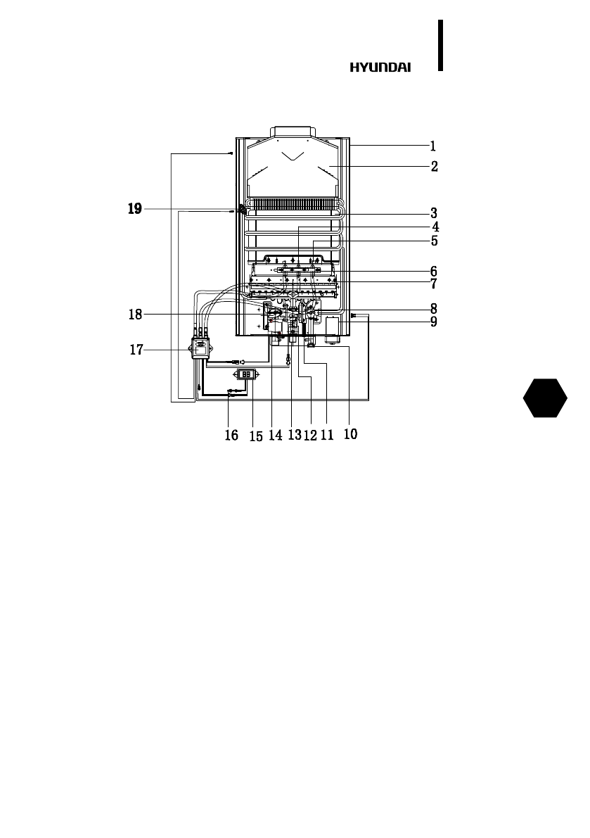
1. Задняя панель
2. Коллектор отвода сгоревших газов
3. Теплообменник
4. Электрод розжига
5. Ионизационный электрод
6. Крепежная планка
7. Газовая горелка
8. Кран регулировки протока воды
9. Отсек для батареек
10. Патрубок входа холодной воды
11. Клапан слива воды
12. Датчик протока воды
13. Патрубок подвода природного газа
14. Патрубок выхода горячей воды
15. LED - дисплей
16. Датчик температуры
17. Электронный блок
18. Кран регулировки подачи газа
19. Датчик защиты от перегрева
Модель H-GW2-ARW-UI307
Рис. 4
Содержание
- 3 Расшифровка артикула; ВВЕДЕНИЕ; Описание
- 4 Комплектация; Модель; Внешний вид, габаритные и установочные размеры
- 6 Размер соединения; Устройство
- 7 ПРаВИла БЕЗОПаСНОй эКСПлУаТацИИ
- 8 ВНИМАНИЕ!
- 9 УСТаНОВКа
- 10 эКСПлУаТацИя; Управление водонагревателем
- 11 Описание панели управления
- 12 Получение горячей воды
- 13 ПРИМЕЧАНИЕ; Выключение; ТЕхНИчЕСКОЕ ОБСлУжИВаНИЕ; Защита от замерзания.
- 14 Рекомендации по техническому обслуживанию
- 15 Неисправность; ПОИСК И УСТРаНЕНИЕ НЕИСПРаВНОСТЕй
- 16 элЕКТРИчЕСКая ПРИНцИПИалЬНая СхЕМа; Код ошибки
- 18 УВажаЕМый ПОКУПаТЕлЬ!
- 21 гарантийные обязательства
- 22 гарантийный срок действителен для изделий,
- 23 Досрочное прекращение гарантийного обслуживания.
- 24 гарантийные обязательства не распространяются на
- 28 гарантийный талон; Сведения об установке изделия
- 32 Вниманию покупателей!