Водонагреватели Gorenje GWH-10 NNBW - инструкция пользователя по применению, эксплуатации и установке на русском языке. Мы надеемся, она поможет вам решить возникшие у вас вопросы при эксплуатации техники.
Если остались вопросы, задайте их в комментариях после инструкции.
"Загружаем инструкцию", означает, что нужно подождать пока файл загрузится и можно будет его читать онлайн. Некоторые инструкции очень большие и время их появления зависит от вашей скорости интернета.

11
ИНСТРУКЦИИ
ПО
УСТАНОВКЕ
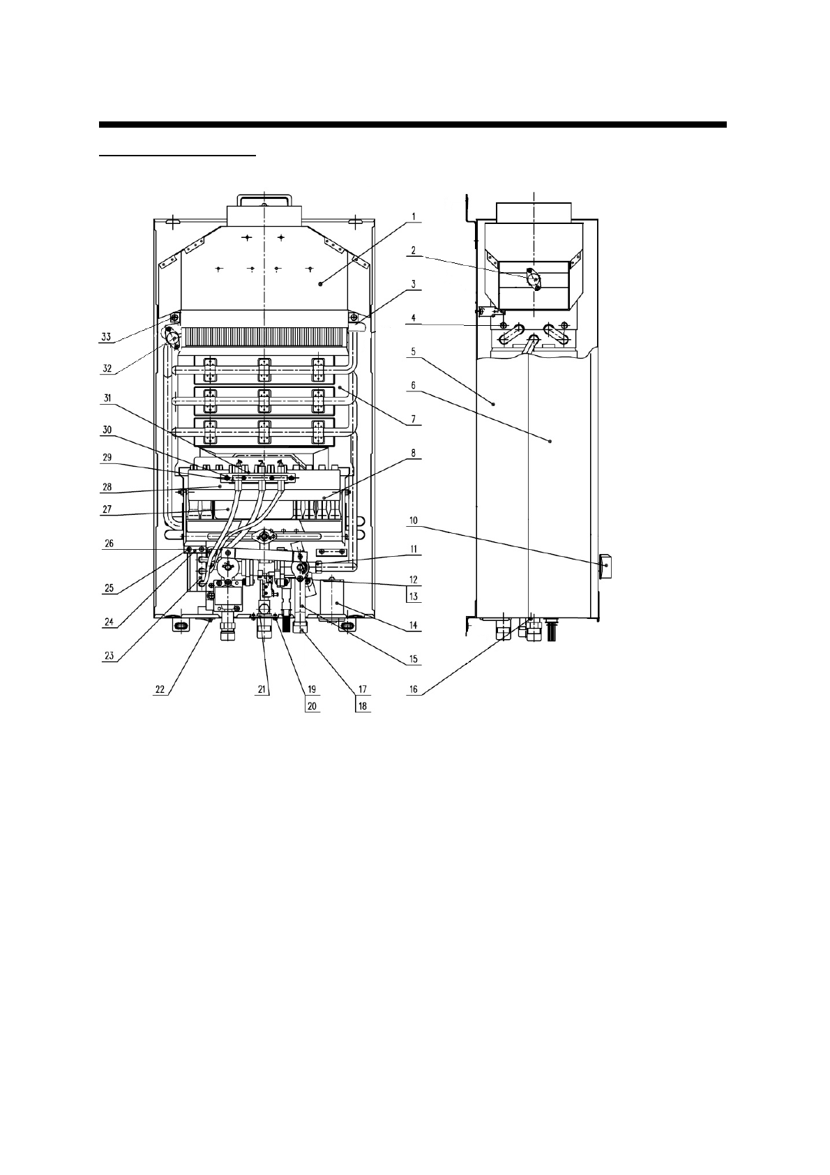
Описание
прибора
1.
Дивертер
2.
Термостат
горячего
газа
3.
Труба
подвода
воды
4.
Крепление
5.
Задняя
панель
6.
Передняя
панель
7.
Теплообменник
в
сборе
8.
Горелка
в
сборе
10.
Панель
управления
11.
Кольцо
уплотнения
для
трубы
подвода
воды
12.
Крепление
13.
Скрепляющее
кольцо
5
14.
Аккумуляторный
ящик
15.
Водяной
и
газовый
соединительный
вентиль
16.
Крепление
17.
Пыленепроницаемый
затвор
18.
Кольцо
уплотнения
19.
Крепление
20.
Скрепляющее
кольцо
4
21.
Крепеж
выхода
воды
22.
Выключатель
On / off
23.
Система
розжига
24.
Перегородка
запального
устройства
25.
Крепление
26.
Крепеж
передней
панели
27.
Теплозащита
горелки
28.
Поверхность
теплообмена
29.
Крепеж
запального
устройства
30.
Крепление
31.
Вспомогательный
фиксатор
32.
Термостат
горячей
воды
33.
Крепление