Водонагреватели Gorenje GWH-10 NNBW - инструкция пользователя по применению, эксплуатации и установке на русском языке. Мы надеемся, она поможет вам решить возникшие у вас вопросы при эксплуатации техники.
Если остались вопросы, задайте их в комментариях после инструкции.
"Загружаем инструкцию", означает, что нужно подождать пока файл загрузится и можно будет его читать онлайн. Некоторые инструкции очень большие и время их появления зависит от вашей скорости интернета.

11
INSTALLATION INSTRUCTIONS
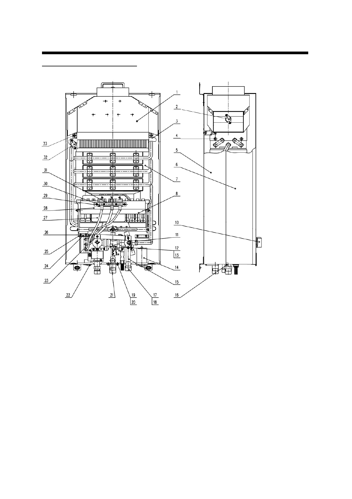
Description of the appliance
1. Drought diverter
2. Thermostat hot gas
3. Water pipe
4. Screw
5. Back cover
6. Front cover
7. Heat exchanger assembly
8. Burner assembly
10. Knob assembly
11. Seal ring for water pipe
12. Screw
13. Spring ring 5
14. Battery box
15. Water and gas linkage valve
16. Screw
17. Dust proof shutter
18. Seal ring
19. Screw
20. Spring ring 4
21. Water outlet holder
22. On / off switch
23. Ignition system
24. Igniter baffle
25. Screw
26. Front cover holder
27. Heat shield for burner
28. Heat transferring sheet
29. Igniter holder
30. Screw
31. Pilot holder
32. Thermostat hot water
33. Screw