Водонагреватели Gorenje GWH-10 NNBW - инструкция пользователя по применению, эксплуатации и установке на русском языке. Мы надеемся, она поможет вам решить возникшие у вас вопросы при эксплуатации техники.
Если остались вопросы, задайте их в комментариях после инструкции.
"Загружаем инструкцию", означает, что нужно подождать пока файл загрузится и можно будет его читать онлайн. Некоторые инструкции очень большие и время их появления зависит от вашей скорости интернета.

11
ІНСТРУКЦІЇ
З
МОНТАЖУ
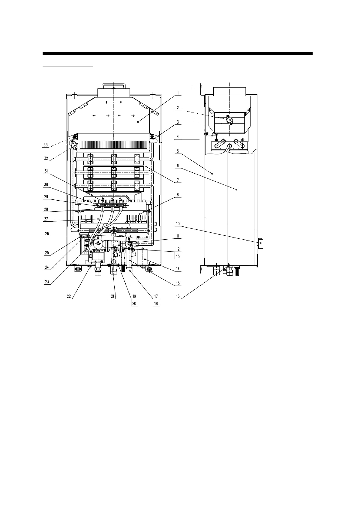
Опис
приладу
1.
Дивертор
2.
Термостат
гарячого
газу
3.
Труба
підводу
води
4.
Кріплення
5.
Задня
панель
6.
Лицьова
панель
7.
Теплообмінник
у
зборі
8.
Пальник
у
зборі
10.
Панель
управління
11.
Кільце
ущільнення
для
труби
підводу
води
12.
Кріплення
13.
Кільце
скріплення
5
14.
Відсік
для
батарейок
15.
Водний
та
газовий
сполучний
вентиль
16.
Кріплення
17.
Пилонепроникний
затвор
18.
Кільце
ущільнення
19.
Кріплення
20.
Кільце
скріплення
4
21.
Кріплення
виходу
води
22.
Вимикач
On / off
23.
Система
підпалу
24.
Перетинка
розпального
пристрою
25.
Кріплення
26.
Кріплення
лицьової
панелі
27.
Теплозахист
пальника
28.
Поверхня
теплообміну
29.
Кріплення
розпального
пристрою
30.
Кріплення
31.
Допоміжний
фіксатор
32.
Термостат
гарячої
води
33.
Кріплення