Видеокамеры Sony DCR-SX45E - инструкция пользователя по применению, эксплуатации и установке на русском языке. Мы надеемся, она поможет вам решить возникшие у вас вопросы при эксплуатации техники.
Если остались вопросы, задайте их в комментариях после инструкции.
"Загружаем инструкцию", означает, что нужно подождать пока файл загрузится и можно будет его читать онлайн. Некоторые инструкции очень большие и время их появления зависит от вашей скорости интернета.

RU
Повторите описанные выше шаги для регистрации элементов меню в МОЕ МЕНЮ и
наслаждайтесь использованием “Handycam”.
Советы
Если подключено внешнее запоминающее устройство, появляется соответствующее МОЕ МЕНЮ.
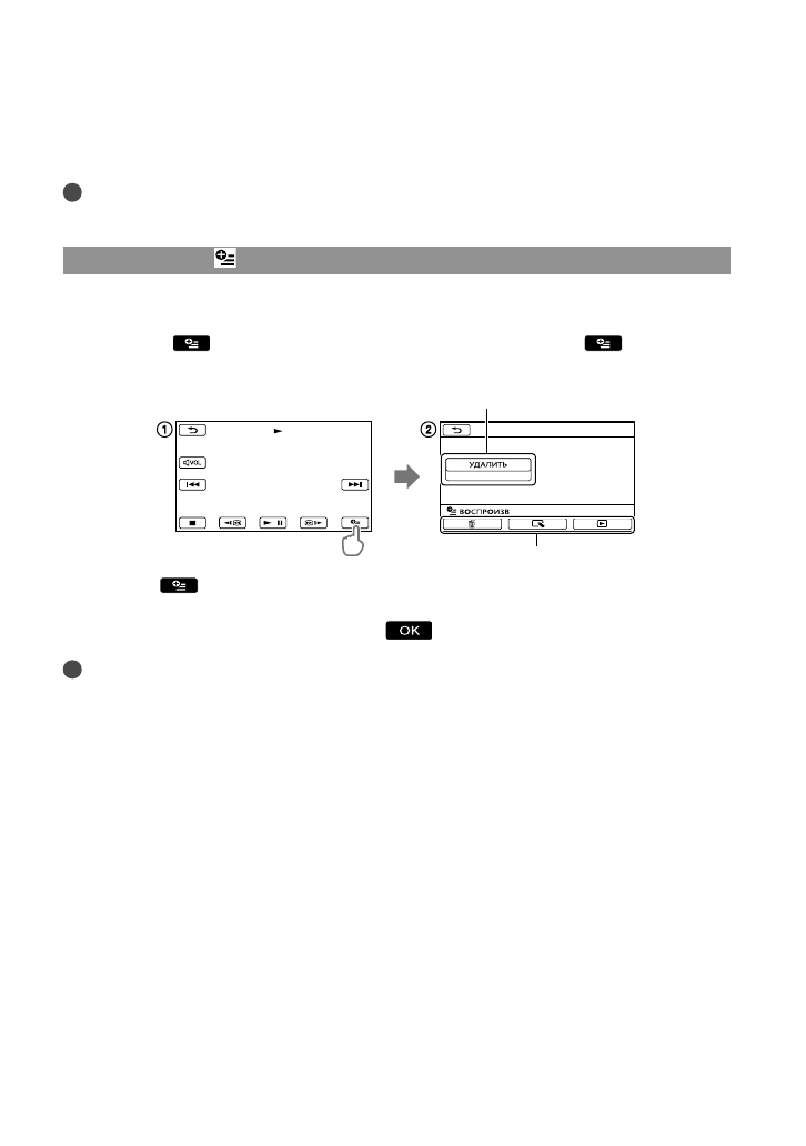
Использование
OPTION MENU
OPTION MENU отображается подобно всплывающему окну, которое появляется при
нажатии правой кнопкой мыши компьютера. Если в нижней правой части экрана
отображается
, можно использовать OPTION MENU. Нажмите
, после чего
отобразятся элементы меню, содержание которых можно изменить.
Нажмите
(OPTION).
Нажмите нужную вкладку
элемент для изменения настройки.
После завершения настройки нажмите
.
Примечания
Элементы меню или настройки, затененные серым, недоступны.
Если требуемый элемент не отображается, нажмите другую вкладку. (Может не отображаться ни
одной кладки.)
Вкладки и элементы, которые отображаются на экране, зависят от состояния записи/
воспроизведения видеокамеры в данный момент.
Элемент меню
Вкладка
Содержание
- 2 Батарейный блок
- 3 Дата изготовления изделия.; буквенно-цифровых символов; ДЛЯ ПОЛЬЗОВАТЕЛЕЙ В ЕВРОПЕ; Внимание
- 5 Прилагаемые принадлежности; Перезаряжаемый батарейный блок; Использование видеокамеры; Экран ЖКД
- 7 Объектив Carl Zeiss
- 8 Примечания по эксплуатации
- 9 Последовательность операций; Воспроизведение фильмов и фотографий
- 10 Содержание
- 11 Краткий справочник; Индикаторы экрана
- 12 Начало работы; Шаг 1: зарядка батарейного блока
- 13 Зарядка с помощью компьютера
- 14 Зарядка батарейного блока за границей; Примечания о батарейном блоке
- 15 Примечания относительно адаптера переменного тока
- 16 Откройте экран ЖКД видеокамеры.; Видеокамера включена и крышка объектива открыта.; Выберите нужный географический регион с помощью кнопки
- 17 Запускается отсчет времени.; Отключение питания; Изменение настройки языка
- 18 Шаг 3: подготовка носителя записи; Носитель записи изменяется.; Носитель записи изменяется.
- 19 Проверка параметров носителя записи; Типы карт памяти, которые можно использовать с видеокамерой; Размеры карт памяти, которые можно использовать с видеокамерой
- 20 Извлечение карты памяти; Откройте крышку и однократно слегка нажмите на карту памяти.
- 21 Запись/воспроизведение; Запись; Закрепите наручный ремешок.; Видеокамера включена, и крышка объектива открыта.
- 22 Запись фильмов
- 23 Код данных во время записи; нужная настройка; Фотосъемка
- 25 Воспроизведение; на видеокамере; Видеокамера включится.; Через несколько секунд появляется экран VISUAL INDEX.; ) для воспроизведения; Фильмы отображаются и сортируются по дате записи.
- 26 Воспроизведение фильмов; Видеокамера начнет воспроизведение выбранного фильма.
- 27 Регулировка громкости фильмов; Во время воспроизведения фильмов нажмите; Просмотр фотографий; На экране видеокамеры отображается выбранная фотография.
- 28 Воспроизведение изображений на телевизоре; или соединительного кабеля A/V с разъемом
- 29 Подключите видеокамеру к входному гнезду телевизора.
- 30 Эффективное использование видеокамеры
- 32 Сохранение фильмов и фотографий на компьютере; При использовании Macintosh
- 33 Появится экран установки.; Выберите страну или регион.
- 35 Запуск PMB; Использование “Справка PMB”
- 36 Нажмите “PMB Portable”.
- 37 Сохранение изображений с помощью внешнего устройства
- 38 на экране
- 43 Отсоедините кабель USB.; или; Соединительный кабель A/V
- 46 Настройка видеокамеры; Использование меню; РУЧНАЯ НАСТР. (Элементы, настраиваемые для соответствия условиям; Более подробное описание элементов см. в Руководство по “Handycam”.; Рабочие меню; Нажмите элемент меню, который нужно изменить.
- 47 Использование МОЕ МЕНЮ
- 48 Использование
- 49 Списки меню
- 53 Дополнительная информация; Устранение; осмотрите видеокамеру.
- 56 Время воспроизведения
- 58 Использование и уход
- 61 Система
- 62 О товарных знаках
- 63 Левый верхний угол
- 67 Алфавитный указатель












