Видеокамеры Sony DCR-SX45E Red - инструкция пользователя по применению, эксплуатации и установке на русском языке. Мы надеемся, она поможет вам решить возникшие у вас вопросы при эксплуатации техники.
Если остались вопросы, задайте их в комментариях после инструкции.
"Загружаем инструкцию", означает, что нужно подождать пока файл загрузится и можно будет его читать онлайн. Некоторые инструкции очень большие и время их появления зависит от вашей скорости интернета.

RU
Повторите описанные выше шаги для регистрации элементов меню в МОЕ МЕНЮ и
наслаждайтесь использованием “Handycam”.
Советы
Если подключено внешнее запоминающее устройство, появляется соответствующее МОЕ МЕНЮ.
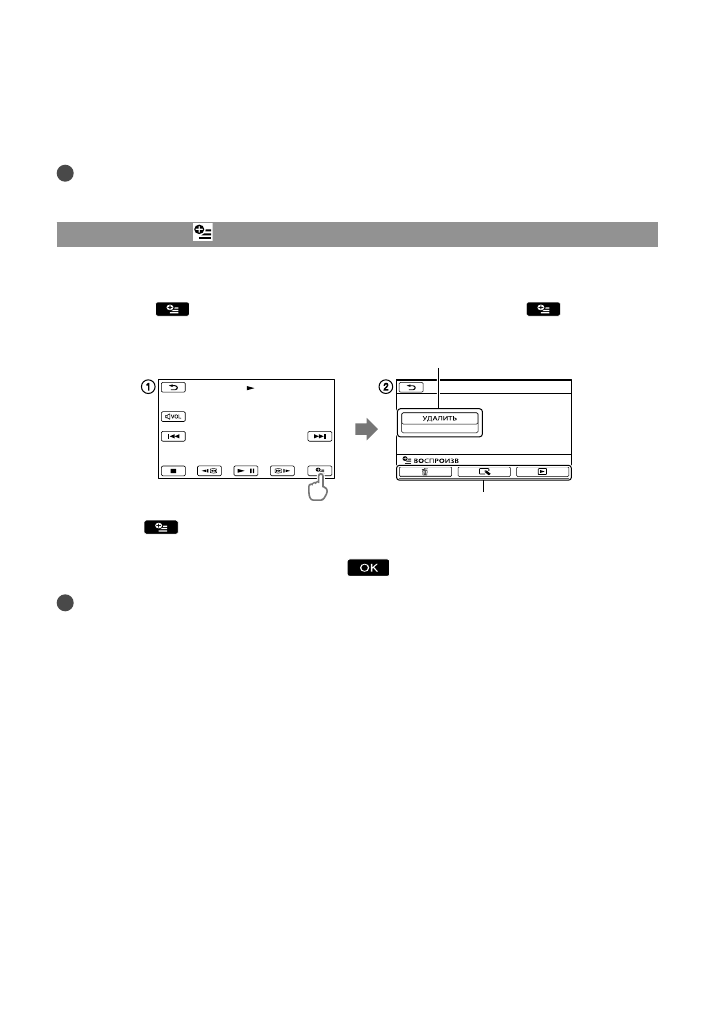
Использование OPTION MENU
OPTION MENU отображается подобно всплывающему окну, которое появляется при
нажатии правой кнопкой мыши компьютера. Если в нижней правой части экрана
отображается
, можно использовать OPTION MENU. Нажмите
, после чего
отобразятся элементы меню, содержание которых можно изменить.
Нажмите
(OPTION).
Нажмите нужную вкладку
элемент для изменения настройки.
После завершения настройки нажмите
.
Примечания
Элементы меню или настройки, затененные серым, недоступны.
Если требуемый элемент не отображается, нажмите другую вкладку. (Может не отображаться ни
одной кладки.)
Вкладки и элементы, которые отображаются на экране, зависят от состояния записи/
воспроизведения видеокамеры в данный момент.
Элемент меню
Вкладка
Содержание
- 2 ПРЕДУПРЕЖДЕНИЕ; Батарейный блок
- 3 Дата изготовления изделия.; ДЛЯ ПОЛЬЗОВАТЕЛЕЙ В ЕВРОПЕ; Примечание для покупателей в; Внимание
- 5 Прилагаемые принадлежности; обозначают прилагаемое количество; Использование видеокамеры; Экран ЖКД; Элементы меню, панель ЖКД и
- 8 Примечания по эксплуатации
- 9 Последовательность операций; Воспроизведение фильмов и фотографий
- 10 Содержание
- 11 Краткий справочник; Индикаторы экрана
- 12 Начало работы; Шаг 1: зарядка батарейного блока
- 13 Зарядка с помощью компьютера
- 14 Зарядка батарейного блока за границей; Примечания о батарейном блоке
- 15 Примечания относительно адаптера переменного тока
- 16 Откройте экран ЖКД видеокамеры.; Видеокамера включена и крышка объектива открыта.; Выберите нужный географический регион с помощью кнопки
- 17 Запускается отсчет времени.; Отключение питания; Изменение настройки языка
- 18 Шаг 3: подготовка носителя записи; видеокамеры отображаются следующие значки.; Носитель записи изменяется.; Носитель записи изменяется.
- 19 Проверка параметров носителя записи; Установка карты памяти; Типы карт памяти, которые можно использовать с видеокамерой; Размеры карт памяти, которые можно использовать с видеокамерой
- 20 Извлечение карты памяти; Откройте крышку и однократно слегка нажмите на карту памяти.; Копирование фильмов и фотографий с внутреннего носителя записи
- 21 Запись/воспроизведение; Запись; По умолчанию фильмы записываются на следующий носитель записи.; Закрепите наручный ремешок.; Видеокамера включена, и крышка объектива открыта.
- 22 Запись фильмов
- 23 Код данных во время записи; Для отображения элемента нажмите; Фотосъемка
- 25 Воспроизведение; на видеокамере; следующие носители записи.; Видеокамера включится.; Через несколько секунд появляется экран VISUAL INDEX.; ) для воспроизведения; Фильмы отображаются и сортируются по дате записи.
- 26 Воспроизведение фильмов; Видеокамера начнет воспроизведение выбранного фильма.
- 27 Регулировка громкости фильмов; Во время воспроизведения фильмов нажмите; Просмотр фотографий; На экране видеокамеры отображается выбранная фотография.
- 28 Воспроизведение изображений на телевизоре; входа видеокамеры, к которому будет выполняться подключение.
- 29 Подключите видеокамеру к телевизору с помощью соединительного; Подключите видеокамеру к входному гнезду телевизора.
- 30 Эффективное использование видеокамеры; Удаление фильмов и; Можно освободить пространство на; Одновременное удаление всех
- 32 Сохранение фильмов и фотографий на компьютере; Подготовка; При использовании Macintosh
- 33 Появится экран установки.; Выберите страну или регион.; На дисплее видеокамеры
- 34 Отключение видеокамеры от
- 35 Запуск PMB; Использование “Справка PMB”
- 36 Нажмите “PMB Portable”.
- 37 Сохранение изображений с помощью внешнего устройства; Сохранение; Можно сохранить фильмы и
- 38 на экране; При подключении внешнего
- 39 Воспроизведение изображений с; Завершение соединения внешнего
- 41 Настройка диска с помощью ФУНК.
- 43 Отсоедините кабель USB.; Соединительный кабель A/V; Соединительный кабель A/V для
- 46 Настройка видеокамеры; Использование меню; РУЧНАЯ НАСТР. (Элементы, настраиваемые для соответствия условиям; Рабочие меню
- 47 Использование МОЕ МЕНЮ
- 48 Использование OPTION MENU
- 49 Списки меню
- 53 Дополнительная информация; Устранение; В случае возникновения неполадок
- 56 Время записи; Приблизительное время работы при
- 57 Можно записать не более 9999
- 58 Использование и уход
- 61 Технические; Система
- 62 Аккумуляторный батарейный блок; О товарных знаках
- 63 Левый верхний угол
- 65 Детали и элементы
- 67 Алфавитный указатель

 
  
  
  
  
  
  
  
  
  
  
  
  
  
  
  
  
  
  
  
  
  
  
  
  
  
  
  
  
  
  
  
  
  
  
  
  
  
  
  
  
  
  
  
  
  
  
  
  
  
  
  
  
  
  
  
  
  
  
  
  
  
  
  
  
  
  
  
  
  
  
  
  
  
  
  
  
  
  
  
  
  
  
  
  
  
  
  
  
  
  
  
  
  
  
  
  
  
  
  
  
  
  
  
  
  
  
  
  
  
  
  
  
  
  
  
  
  
  
  
  
  
  
  
  
  
  
  
  
  
  
  
  
  
  
  
  
  
  
 











