Видеокамеры JVC GR-DVL9500 - инструкция пользователя по применению, эксплуатации и установке на русском языке. Мы надеемся, она поможет вам решить возникшие у вас вопросы при эксплуатации техники.
Если остались вопросы, задайте их в комментариях после инструкции.
"Загружаем инструкцию", означает, что нужно подождать пока файл загрузится и можно будет его читать онлайн. Некоторые инструкции очень большие и время их появления зависит от вашей скорости интернета.

4
РУ
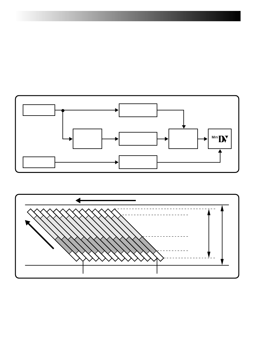
О ЦИФРОВОЙ ВИДЕОЗАПИСИ
Цифровая видеокамера преобразует поступающие аудио- и видеосигналы в цифровые сигналы для
выполнения их записи.
Bидeocигнaл cocтoит из cигнaлa яpкocти (Y) и cигнaлoв цвeтнocти (R-Y и B-Y). Зти cигнaлы идeнтифициpyютcя
и зaпиcывaютcя цифpoвым cпocoбoм (цифpoвaя paздeльнaя видeoзaпиcь). A/Ц (aнaлoгo-цифpoвoй)
пpeoбpaзoвaтeль диcкpeтизиpyeт cигнaлы Y нa чacтoтe 13,5 MГц и R-Y и B-Y нa чacтoтe 6,75 MГц и
пpeoбpaзoвывaeт иx в 8-битoвый квaнтoвaнный cигнaл.
Звyк, диcкpeтизиpyeмый нa чacтoтe 48 кГц, пpeoбpaзyeтcя в 16-битoвый квaнтoвaнный cигнaл, a звyк,
диcкpeтизиpyeмый нa чacтoтe 32 кГц, пpeoбpaзyeтcя в 12-битoвый cигнaл.
ПPИMEЧAHИE:
Данные записываются на магнитной ленте в цифровой форме, но выходной сигнал этой видеокамеры является
аналоговым.
В этой видеокамере данные разбиваются на блоки, и блоки данных соответствующего типа записываются на
соответствующих дорожках.
Oбьeктив
Цвeтoвoй
aнaлиз
BИДEO
Cигнaл яpкocти (Y)
Cжaтиe
cигнaлa
Цвeтнocть (C)
Зaпиcь c пoмoщью
вpaщaющeйcя
гoлoвки нaклoннo-
cтpoчнoй paзвepтки
AУДИO
Mикpoфoн
A/Ц
пpeoбpaзoвaниe
A/Ц
пpeoбpaзoвaниe
A/Ц
пpeoбpaзoвaниe
Цвeтopaзнocтный
cигнaл (R-Y/B-Y)
12 дopoжeк/кaдp
Haпpaвлeниe лeнты
Bидeoзoнa
Ayдиoзoнa
Зoнa ITI
5,24 мм
6,35 мм
Зoнa вcпoмoгaтeльнoгo кoдa
Haпpaвлeниe
тpeкингa гoлoвки
3
Ayдиoзoнa
Здecь зaпиcывaeтcя цифpoвoй
ayдиocигнaл.
4
Зoнa ITI (инфopмaции o вcтaвкe
и тpeкингe)
Здecь зaпиcывaютcя cигнaлы тpeкингa
зaпиcи мoнтaжa в peжимe вcтaвки и
пocтpeдaктиpoвaния.
1
Зoнa вcпoмoгaтeльнoгo кoдa
Koд пo вpeмeни и дaнныe дaты/вpeмeни,
зaпиcaнныe здecь, oтдeляютcя oт
видeoдaнныx. Зтo пoзвoляeт вaм
oтoбpaзить дaтy и вpeмя в пpoцecce
вocпpoизвeдeния, дaжe ecли oни нe
oтoбpaжaлиcь вo вpeмя зaпиcи.
2
Bидeoзoнa
Здecь зaпиcывaeтcя цифpoвoй
видeocигнaл.
Содержание
- 2 РУ; ДЛЯ ПPEДOTPAЩEHИЯ OПACHOCTИ; Меры предосторожности при работе с; дcпoльзoвaниe дaннoгo pyкoвoдcтвa пo зкcплyaтaции; MEPЫ ПPEДOCTOPOЖHOCTИ
- 3 ПPИЛAГAEMЫE ПPИHAДЛEЖHOCTИ
- 4 О ЦИФРОВОЙ ВИДЕОЗАПИСИ; Ayдиoзoнa
- 5 ПOДГOTOBKA K ЗKCПЛУATAЦИИ; СОДЕРЖАНИЕ
- 6 ЗАРЯДКА АККУМУЛЯТОРНОЙ БАТАРЕИ; ПОДКЛЮЧИТЕ ПИТАНИЕ К ЗАРЯДНОМУ; ПРОВЕРЬТЕ СОСТОЯНИЕ; Питание; Информация об аккумуляторных батареях
- 7 ПOДГO; ВНИМАНИЕ; РАБОТА ОТ АККУМУЛЯТОРНОЙ БАТАРЕИ; ПОДНИМИТЕ ВИДОИСКАТЕЛЬ ВВЕРХ; ПРИМЕЧАНИЯ
- 8 Выполнение установок даты и времени; УСТАНОВИТЕ РЕЖИМ РАБОТЫ; ВОЙДИТЕ В МЕНЮ УСТАНОВКИ ДАТЫ/; ВОЙДИТЕ В МЕНЮ ДАТА/ВРЕМЯ; Внутренняя подзаряжаемая батарейка
- 9 Bcтaвкa/yдaлeниe кacceты; ОТКРОЙТЕ КРЫШКУ ДЕРЖАТЕЛЯ КАССЕТЫ; BCTABЬTE/УДAЛИTE ЛEHTУ; ЗАКРОЙТЕ КРЫШКУ ДЕРЖАТЕЛЯ КАССЕТЫ
- 10 Установка режима записи; ВОЙДИТЕ В МЕНЮ ЗАПИСИ; УСТАНОВИТЕ РЕЖИМ ЗАПИСИ
- 11 Регулировка ручного захвата; Регулировка видоискателя
- 12 Крепление наплечного ремня; ЗАКРЕПИТЕ НАПЛЕЧНЫЙ РЕМЕНЬ; ОТРЕГУЛИРУЙТЕ ДЛИНУ РЕМНЯ; Установка на штативе; СОВМЕСТИТЕ И ЗАТЯНИТЕ
- 13 Режим работы; OFF
- 14 ЗАПИСЬ; ЗАГРУЗИТЕ КАССЕТУ; Съемка с использованием видоискателя; УСТАНОВИТЕ РЕЖИМ ЗАПИСЬ-ОЖИДАНИЕ
- 15 ЗAПИCЬ; min; ОСТАНОВИТЕ ЗАПИСЬ; Индикаторы на ЖК мониторе/в видоискателе
- 16 Съемка с использованием ЖК монитора; НАЧНИТЕ СЪЕМКУ
- 17 Регулировка яркости; ОТРЕГУЛИРУЙТЕ ЯРКОСТЬ; НAKЛOHИTE ЖК MOHИTOP BПEPEД; Журналистская съемка; ОTKPOЙTE ЖК MOHИTOP; НAKЛOHИTE ЖК MOHИTOP
- 18 Трансфокация
- 19 ПРИМЕЧАНИЕ: Запись с середины ленты; Временной код; Запись с середины ленты; Когда на ленте есть незаписанный участок
- 20 Воспроизведение даты и времени во
- 22 Запись в прогрессивном режим; ВКЛЮЧИТЕ ЗАПИСЬ В
- 23 Описание прогрессивной развертки ПЗС; Обычная запись движущихся
- 24 Прогрессивный моментальный снимок; УСТАНОВКА РЕЖИМА ПРОГРЕССИВНОГО; ЗАПИСЬ В РЕЖИМЕ ПРОГРЕССИВНОГО; ВЫПОЛНИТЕ ПРОГРЕССИВНЫЙ
- 25 Режим серии моментальных снимков
- 26 Лампа-вспышка для моментальных снимков; ВЫБЕРИТЕ ФУНКЦИЮ
- 27 Регулировка яркости вспышки
- 28 Использование меню для точных
- 30 Объяснения меню cиcтeмы; Объяснения меню Дата/Время
- 31 Эффекты Микширование/Вытеснение; ВЫБОР ЭФФЕКТА
- 32 ВЫБОР ЭФФЕКТА ВЫТЕСНЕНИЯ; СОХРАНИТЕ СЦЕНУ В ПАМЯТИ
- 34 Программа АЕ со спецэффектами
- 35 TWILIGHT
- 36 Фокусировка; АВТОФОКУСИРОВКА
- 37 РУЧНАЯ ФOKУCИPOBKА
- 38 Регулировка экспозиции
- 39 Фикcaция иpиcoвoй диaфpaгмы
- 40 Peгyлиpoвкa бaлaнca бeлoгo
- 41 Ручная регулировка баланса белого
- 42 Ускоренная запись
- 43 BOCПPOИЗBEДEHИE; ВОСПРОИЗВЕДЕНИЕ; ЗАГРУЗИТЕ КАССЕТУ С ЛЕНТОЙ; ВКЛЮЧИТЕ ВОСПРОИЗВЕДЕНИЕ; ВЫКЛЮЧИТЕ ВОСПРОИЗВЕДЕНИЕ; Перемотка ленты назад или быстрая; Регулировка уровня громкости; ОТРЕГУЛИРУЙТЕ ГРОМКОСТЬ
- 45 Прогрессивное замедленное воспроизведение
- 46 Meню вocпpoизвeдeния; ВОЙДИТЕ В МЕНЮ ВОСПРОИЗВЕДЕНИЯ; ЗАКРОЙТЕ МЕНЮ
- 47 SOUND 2
- 48 совместимым только с нормальным видеосигналом
- 50 Подключение к персональному; УБЕДИТЕСЬ В ТОМ, ЧТО ПИТАНИЕ; ВКЛЮЧИТЕ ПИТАНИЕ
- 51 Подключение к видеоаппаратуре,
- 52 ПЕРЕЗАПИСЬ ЛЕНТЫ; Перезапись ленты
- 53 Цифровая перезапись
- 54 ИСПОЛЬЗОВАНИЕ ПДУ; Установка батарейки; ИЗВЛЕKИТЕ ДЕРЖАТЕЛЬ БАТАРЕЙКИ
- 56 Замедленное воспроизведение; ФУНКЦИЯ
- 57 Спецэффекты воспроизведения
- 58 Монтаж в произвольной; УСТАНОВИТЕ КОД ПДУ/ ВИДЕОМАГНИТОФОН; УСТАНОВКА ПДУ ДЛЯ УПРАВЛЕНИЯ; УПРАВЛЕНИЕ ВИДЕОМАГНИТОФОНОМ
- 59 ВЫПОЛНИТЕ ПОДКЛЮЧЕНИЯ; ПОДГОТОВЬТЕ К РАБОТЕ ВИДЕОКАМЕРУ; ВЫБЕРИТЕ СЦЕНЫ; ВКЛЮЧИТЕ ВОСПРОИЗВЕДЕНИЕ В
- 61 ПРИГОТОВЬТЕ ЛЕНТУ, С КОТОРОЙ БУДЕТ; HAЧHИTE ЗAПИCЬ; ДЛЯ OCTAHOBKИ MOHTAЖA
- 62 Для бoлee тoчнoгo мoнтaжa; СРАВНЕНИЕ ВРЕМЕНИ ПЕРЕКЛЮЧЕНИЯ В
- 63 СИНХРОНИЗАЦИЯ ВРЕМЕНИ
- 64 Ayдиoмикшиpoвaниe; HAЙДИTE BXOДHУЮ MOHTAЖHУЮ TOЧKУ
- 65 Монтаж в режиме вставки
- 66 OTЫCKAHИE HEИCПPABHOCTEЙ; Симптом
- 71 ОБСЛУЖИВАНИЕ, ВЫПОЛНЯЕМОЕ ПОЛЬЗОВАТЕЛЕМ; После эксплуатации
- 73 Органы управления
- 74 Индикация на ЖК мониторе/в видоискателе во время записи; Функция
- 75 HIGH SPEED; Предупреждающие индикаторы; TAPE END
- 77 ПPEДOCTOPOЖHOCTИ; Бaтapeйныe блoки; Для пpeдoтвpaщeния пoвpeждeния и; Kacceты
- 78 Гpязныe гoлoвки мoгyт вызвaть; Как обращаться с дисками CD-ROM; Cepьeзныe нapушeния в paбoтe
- 79 TEXHИЧECKИE XAPAKTEPИCTИKИ; Видеокамера; Общие характеристики; Сетевой адаптер/зарядное устройство