Видеокамеры JVC GR-DVL9200 - инструкция пользователя по применению, эксплуатации и установке на русском языке. Мы надеемся, она поможет вам решить возникшие у вас вопросы при эксплуатации техники.
Если остались вопросы, задайте их в комментариях после инструкции.
"Загружаем инструкцию", означает, что нужно подождать пока файл загрузится и можно будет его читать онлайн. Некоторые инструкции очень большие и время их появления зависит от вашей скорости интернета.

38
РУ
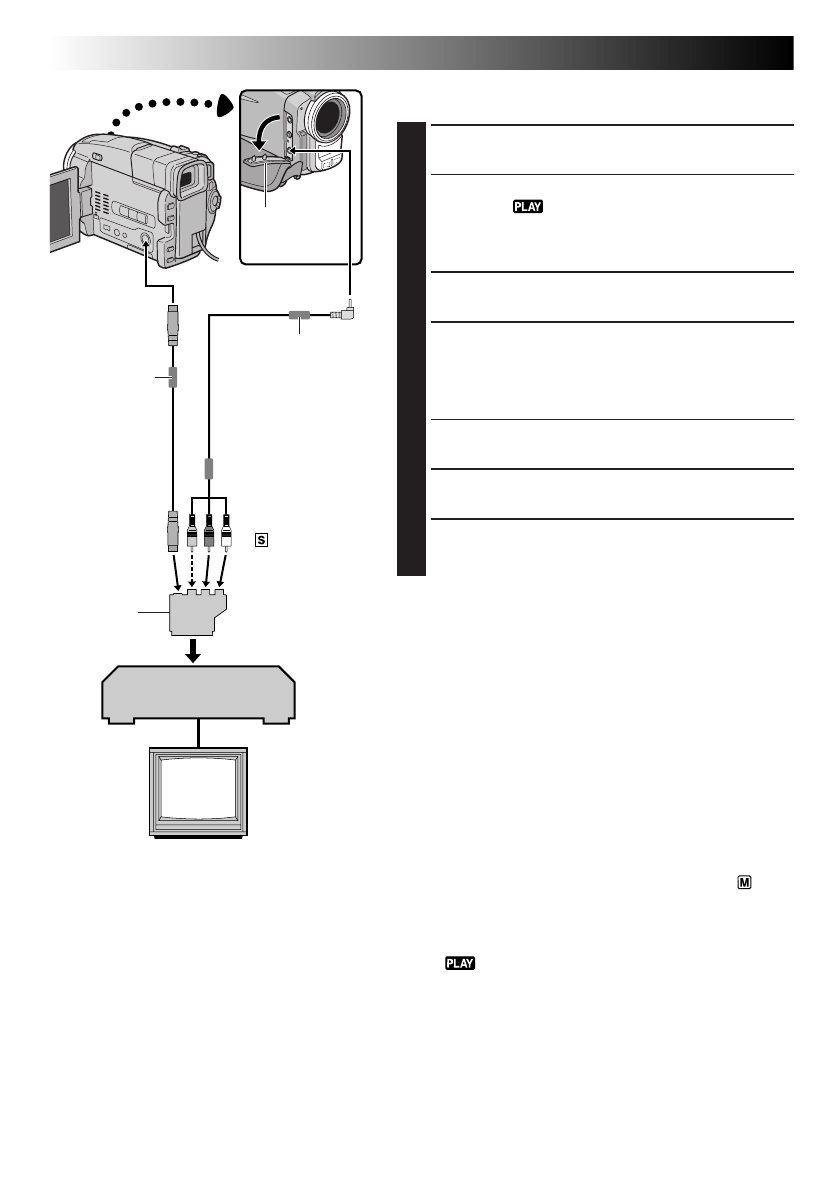
ПЕРЕЗАПИСЬ ЛЕНТЫ
Крышка
разъема*
K AV
* Подсоедините, если кабель S-Video не
используется.
** При подключении кабелей откройте эту
крышку.
Фильтр с
сердечником
Фильтр с
сердечником
Кабель Audio/Video
[миништекер - штекер
RCA (тюльпан)]
(входит в комплект)
Кабель
S-Video
(входит в
комплект)
К S-Video
Видеомагнитофон
(пишущий плеер)
Телевизор
Если ваш телевизор
имеет разъем SCART,
используйте
входящий в комплект
видеокамеры
переходник кабеля.
Переключатель
видеовыходов
“Y/C”/“CVBS”
К разъемам
AUDIO, VIDEO*
и
-IN
Перезапись ленты
1
Соедините видеокамеру с видеомагнитофоном, как
показано на рисунке слева. См. также стр. 34 и 35.
2
Установите переключатель питания видеокамеры в
положение “
”, удерживая при этом в нажатом
положении расположенную на нем кнопку фиксатора,
включите питание видеомагнитофона и вставьте
нужные кассеты в видеокамеру и в видеомагнитофон.
3
Установите в видеомагнитофоне режимы AUX
(дополнительный вход) и Запись-Пауза.
4
Включите в видеокамере режим воспроизведения для
того, чтобы найти точку, расположенную
непосредственно перед началом вставляемой сцены.
Когда эта точка будет найдена, нажмите кнопку
4
/
6
на
видеокамере.
5
Нажмите кнопку
4
/
6
на видеокамере и включите
режим записи в видеомагнитофоне.
6
Установите в видеомагнитофоне режим Запись-Пауза
и нажмите кнопку
4
/
6
на видеокамере.
7
Для выполнения монтажа остальных сцен повторите
шаги с
4
по
6
, после окончания монтажа выключите
видеомагнитофон и видеокамеру.
Перед началом перезаписи проверьте, что на экране
подключенного телевизора не воспроизводятся индикаторы.
Если индикаторы воспроизводятся во время выполнения
перезаписи, то они записываются на новую ленту.
Для выбора того, будет или не будет воспроизводиться
следующая информация на экране подключенного
телевизора . . .
•
Дата/Время
......
в экран меню (
Z
стр. 32) выберите для пункта “DISPLAY”
(“ДИСПЛЕЙ”) “ON” (“ВКЛ.”) или “OFF” (“ВЫКЛ.”).
•
Временной код
......
в экран меню (
Z
стр. 32) выберите для пункта “TIME
CODE” (“ВРЕМЕННОЙ КОД”) “ON” или “OFF”.
•
Режим звука воспроизведения и Вывод на экран скорости пленки
......
установите "INDICATION" (ИНДИЦИРОВАНИЕ) в позицию
"ON" или "OFF" на экране меню (
Z
стр. 32).
•
Выводит режим звука вопроизведения, скорость пленки и ее
прогон
......
установите переключатель питания в положение "
" или
"5S". Нажмите на
MENU/BRIGHT
(МЕНЮ/ЯРКОСТЬ), в
меню экрана (
Z
стр. 20) выберите "ON SCREEN" ("НА
ЭКРАНЕ") и установите в положение "ON" или "OFF". Затем
переведите переключатель питания назад в положение
"
" ("ВОСПРОИЗВЕДЕНИЕ"). Или нажмите "
DISPLAY
"
на пульте дистанционного управления RM-V716U.
ПРИМЕЧАНИЯ:
●
При использовании кабелей, конец кабеля, на котором находится фильтр с сердечником, должен
подключаться к видеокамере. Фильтр с сердечником снижает помехи.
●
В шаге
5
вы можете использовать функцию трансфокатора воспроизведения (
Z
стр. 42) или спецэффекты
воспроизведения (
Z
стр. 43).
●
Установите переключатель видеовыходов на адаптере кабеля в следующие положения:
Y/C
: При выполнении подключения к телевизору или видеомагнитофону, на которые могут подаваться
сигналы Y/C и используется кабель S-Video.
CVBS : При выполнении подключения к телевизору или видеомагнитофону, на которые не могут подаваться
сигналы Y/C и используется кабель Audio/Video.
Содержание
- 2 РУ; MEPЫ ПPEДOCTOPOЖHOCTИ; ДЛЯ ПPEДOTPAЩEHИЯ OПACHOCTИ BOCПЛAMEHEHИЯ ИЛИ ЗЛEKTPИЧECKOГO; Увaжaeмый пoкyпaтeль,
- 4 ПPИЛAГAEMЫE ПPИHAДЛEЖHOCTИ
- 5 Как присоединить фильтр с сердечником.
- 6 ПOДГOTOBKA K ЗKCПЛУATAЦИИ; Питание; ЗАРЯДКА АККУМУЛЯТОРНОЙ БАТАРЕИ; Информация об аккумуляторных батареях
- 7 ПOДГO; РАБОТА ОТ АККУМУЛЯТОРНОЙ БАТАРЕИ; Приблизительное время записи; РАБОТА ОТ ЭЛЕКТРОСЕТИ
- 8 Выполнение установок даты и времени; Встроенная подзаряжаемая литиевая
- 9 Bcтaвкa/yдaлeниe кacceты
- 10 Установка режима записи
- 11 Крепление наплечного ремня; Установка на штативе
- 12 ЗАПИСЬ; Основной Режим Записи; Положение переключателя питания
- 13 ЗAПИCЬ; ЖУРНАЛИСТСКАЯ СЪЕМКА; ИНТЕРФЕЙСНАЯ СЪЕМКА
- 14 Трансфокация
- 15 ПРИМЕЧАНИЕ: Запись с середины ленты; Временной код; Запись с середины ленты; Когда на ленте есть незаписанный участок
- 16 Моментальный снимок; УСТАНОВКА РЕЖИМА МОМЕНТАЛЬНОГО СНИМКА; ЗАПИСЬ В РЕЖИМЕ МОМЕНТАЛЬНОГО СНИМКА; Режим серии моментальных снимков
- 17 Мультиэкранный режим
- 18 Использование меню для детального
- 19 Объяснение меню экрана; MODE MENU
- 20 SYS
- 21 Таймер автоспуска
- 22 моментальных снимков
- 23 Регулировка яркости
- 25 Программа АЕ со спецэффектами
- 26 Эффекты Микширование/; ВЫБОР ЭФФЕКТА МИКШИРОВАНИЯ/
- 27 Меню микширования и вытеснения; DISSOLVE
- 28 Фокусировка; АВТОФОКУСИРОВКА
- 29 Регулировка экспозиции; Фикcaция иpиcoвoй диaфpaгмы
- 30 Ручная регулировка баланса; Peгyлиpoвкa бaлaнca бeлoгo
- 31 ВОСПРОИЗВЕДЕНИЕ; Основной Режим Воспроизведения; Для регулировки уровня громкости
- 32 BOCПPOИЗBEДEHИE; Уcoвepшeнcтвoвaнныe Фyнкции; Meню вocпpoизвeдeния
- 33 Bocпpoизвoдимый звyк; Эаводская установка; Дисплей
- 34 Оcнoвныe Сoeдинeния; SCART, совместимым только с нормальным видеосигналом
- 36 Подключения Для Опытного Оператора; Подключение к персональному
- 37 Подключение к видеоаппаратуре,
- 38 ПЕРЕЗАПИСЬ ЛЕНТЫ; Перезапись ленты
- 39 Цифровая перезапись
- 40 ИСПОЛЬЗОВАНИЕ ПДУ; Установка батарейки
- 41 Функции; Кнопки
- 42 Замедленное воспроизведение; ФУНКЦИЯ
- 43 Спецэффекты воспроизведения
- 44 Монтаж в произвольной; ВИДЕОМАГНИТОФОН; ВНИМАНИЕ
- 45 ВЫПОЛНИТЕ ПОДКЛЮЧЕНИЯ; ВНИМАНИЕ ПРИ ИСПОЛЬЗОВАНИИ
- 46 ВЫБЕРИТЕ СЦЕНЫ
- 47 АВТОМАТИЧЕСКИЙ МОНТАЖ НА
- 48 Для бoлee тoчнoгo мoнтaжa; ПРОВЕРКА СИНХРОНИЗАЦИИ
- 49 РЕГУЛИРОВКА СИНХРОНИЗАЦИИ
- 50 Ayдиoмикшиpoвaниe
- 51 Симптом; OTЫCKAHИE HEИCПPABHOCTEЙ
- 57 ОБСЛУЖИВАНИЕ, ВЫПОЛНЯЕМОЕ ПОЛЬЗОВАТЕЛЕМ; После эксплуатации
- 59 Органы управления
- 60 И ндикаторы; I T; Индикация на ЖК мониторе/в видоискателе во время записи
- 61 Индикаторы; TAPE END; Предупреждающие индикаторы
- 62 Общие предосторожности при; Бaтapeйныe блoки; ПPEДOCTOPOЖHOCTИ; Kacceты
- 63 Глaвный aппapaт; Как обращаться с дисками CD-ROM; Cepьeзныe нapушeния в paбoтe
- 64 ТЕРМИНЫ
- 66 TEXHИЧECKИE XAPAKTEPИCTИKИ; Видеокамера; Общие характеристики
- 67 Сетевой адаптер/зарядное устройство AA-V67EG