Видеокамеры JVC GR-DVL309 - инструкция пользователя по применению, эксплуатации и установке на русском языке. Мы надеемся, она поможет вам решить возникшие у вас вопросы при эксплуатации техники.
Если остались вопросы, задайте их в комментариях после инструкции.
"Загружаем инструкцию", означает, что нужно подождать пока файл загрузится и можно будет его читать онлайн. Некоторые инструкции очень большие и время их появления зависит от вашей скорости интернета.

РУ
69
Индикация на ЖК мониторе/в видоискателе во время записи в
режиме видеокамеры и в режиме цифровой фотокамеры
F .
2
AU
P
T
H
O
4
O
B
0
T
R
x
O
I
W
GH T –
T
1
+
.
1
1
2
.
:
0
0
0
0
1
*
2
4
6
7
3
5
8
!
0
@
*
#
9
1
*
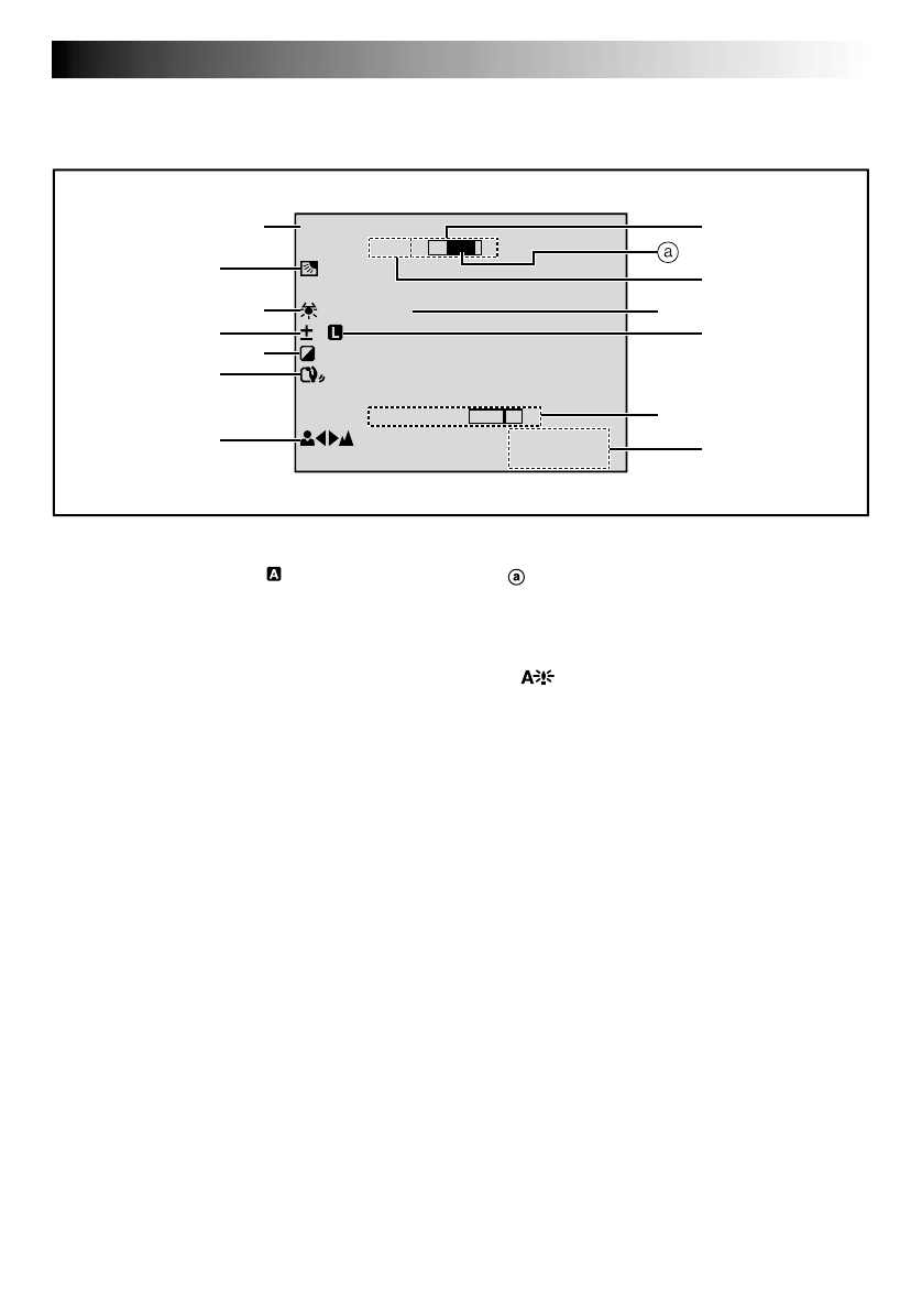
Появляется, когда переключатель питания
установлен в положение “
”.(
стр. 13)
2
Появляется, когда применяется компенсация
задней подсветки.(
стр. 29)
3
Появляется во время регулировки баланса
белого.(
стр. 30)
4
Появляется во время регулировки экспозиции.
(
стр. 29)
5
Показывает выбранную Программу АЕ со
спецэффектами.(
стр. 28)
6
Появляется, когда включен стабилизатор
изображения (“DIS”).(
стр. 24)
7
Появляется во время регулировки фокуса.
(
стр. 21)
*
При установке позиции “ON SCREEN” на параметр “SIMPLE” в экран меню вы убираете с экрана
индикаторы
*
, отмеченные звездочкой (
стр. 25, 32)
8
Появляется при использовании трансфокатора.
Индикатор увеличения трансфокатора
(
стр. 18)
9
• Приблизительное значение увеличения
трансфокатора: Появляется при использовании
трансфокатора.(
стр. 18)
•
: появляется, когда указатель “GAIN UP”
установлен в положение “AUTO”, и скорость
затвора регулируется автоматически.
(
стр. 23)
0
Появляется при выполнении моментального
снимка.(
стр. 16, 17)
!
Появляется, когда фиксируется ирисовая
диафрагма.(
стр. 29)
@
*
Показывает яркость ЖК монитора.(
стр. 14)
#
Показывает дату/время.(
стр. 9)
Содержание
- 2 РУ; MEPЫ ПPEДOCTOPOЖHOCTИ; Увaжaeмый пoкyпaтeль,
- 4 ПPИЛAГAEMЫE ПPИHAДЛEЖHOCTИ
- 5 Как присоединить фильтр с сердечником; АВТОМАТИЧЕСКАЯ ДЕМОНСТРАЦИЯ; ” или “
- 6 ПOДГOTOBKA K ЗKCПЛУATAЦИИ; Питание; ЗАРЯДКА АККУМУЛЯТОРНОЙ БАТАРЕИ; Информация об аккумуляторных батареях
- 7 РАБОТА ОТ АККУМУЛЯТОРНОЙ БАТАРЕИ; Приблизительное время записи; РАБОТА ОТ ЭЛЕКТРОСЕТИ
- 8 Регулировка ручного захвата; Крепление наплечного ремня; Установка на штативе
- 10 Bcтaвкa/yдaлeниe кacceты
- 11 Загрузка карты MultiMediaCard; ВНИМАНИЕ
- 12 Установка режима записи
- 13 Режим работы
- 14 ЗАПИСЬ; Основной Режим Записи для Видеокамеры
- 15 СЪЕМКА НАВСТРЕЧУ
- 16 УСТАНОВКА РЕЖИМА МОМЕНТАЛЬНОГО СНИМКА; ЗАПИСЬ В РЕЖИМЕ МОМЕНТАЛЬНОГО СНИМКА
- 17 ВЫБОР РЕЖИМА ФОТОСЪЕМКИ; ЗАПИСЬ ФОТОСНИМКОВ; Основной Режим Записи для Цифровой Фотокамеры
- 18 Трансфокация; Основной Режим Записи для Видеокамеры и Цифровой Фотокамеры
- 19 ПРИМЕЧАНИЕ: Запись с середины ленты; Временной код; Запись с середины ленты; Когда на ленте есть незаписанный участок
- 20 Осветительная лампа
- 21 Автофокусировка; ЗAПИCЬ; Современные Функции для Видеокамеры и Цифровой Фотокамеры
- 22 Современные Функции для Видеокамеры и Цифровой Фотокамеры (прод.)
- 23 Объяснение меню экрана; AMER
- 24 MANU
- 25 MENU
- 26 Эффекты Микширование/Вытеснение
- 27 Меню микширования и вытеснения; DISSOLVE
- 28 Программа АЕ со спецэффектами
- 29 Регулировка экспозиции; Фикcaция иpиcoвoй диaфpaгмы
- 30 Peгyлиpoвкa бaлaнca бeлoгo; Ручная регулировка баланса белого
- 31 Остановка Изображения:; Поиск в режиме Shuttle:; Покадровое Воспроизведение:; ВОСПРОИЗВЕДЕНИЕ; Основной Режим Воспроизведения для Видеокамеры
- 32 BOCПPOИЗBEДEHИE; Современные Функции для Видеокамеры; Использование меню для; VIDEO
- 33 Эаводская установка
- 34 Нормальное воспроизведение; Основной Режим Воспроизведения для Цифровой фотокамеры
- 35 E X I T; Выбранное изображение
- 36 Показ слайдов; Современные Функции для Цифровой Фотокамеры
- 37 Защита изображений; ЗАЩИТА ИЗОБРАЖЕНИЯ
- 38 Стирание изображений; СТИРАНИЕ ВСЕХ ИЗОБРАЖЕНИЙ
- 39 Инициализация карты MultiMediaCard
- 40 РАЗЪЕМЫ; Основные Соединения; совместимым только с нормальным видеосигналом
- 42 Подключения для Опытного Оператора
- 44 ПЕРЕЗАПИСЬ; Перезапись на видеомагнитофон
- 48 ИСПОЛЬЗОВАНИЕ ПДУ; Установка батарейки
- 50 Замедленное воспроизведение; ФУНКЦИЯ; Покадровое воспроизведение; Воспроизведение с трансфокацией
- 51 Спецэффекты воспроизведения
- 53 ВЫПОЛНИТЕ ПОДКЛЮЧЕНИЯ
- 54 ВЫБЕРИТЕ СЦЕНЫ
- 56 Для бoлee тoчнoгo мoнтaжa
- 58 Ayдиoмикшиpoвaниe
- 59 OTЫCKAHИE HEИCПPABHOCTEЙ; Симптом
- 65 ОБСЛУЖИВАНИЕ, ВЫПОЛНЯЕМОЕ ПОЛЬЗОВАТЕЛЕМ; После эксплуатации; Чистка видеокамеры
- 67 Разъемы
- 68 Индикаторы; T C
- 71 Предупреждающие индикаторы; TAPE END
- 73 ПPEДOCTOPOЖHOCTИ
- 74 Kacceты; ЖК монитор; Глaвный aппapaт
- 75 Как обращаться с дисками CD-ROM
- 76 ТЕРМИНЫ
- 78 TEXHИЧECKИE XAPAKTEPИCTИKИ; Видеокамера; Общие характеристики; Цифровая видеокамера
- 79 Цифровая фотокамера; Для соединений; Сетевой адаптер/зарядное устройство AA-V40EG