Варочная панель WEISSGAUFF HIF 643 BFZ - инструкция пользователя по применению, эксплуатации и установке на русском языке. Мы надеемся, она поможет вам решить возникшие у вас вопросы при эксплуатации техники.
Если остались вопросы, задайте их в комментариях после инструкции.
"Загружаем инструкцию", означает, что нужно подождать пока файл загрузится и можно будет его читать онлайн. Некоторые инструкции очень большие и время их появления зависит от вашей скорости интернета.

12
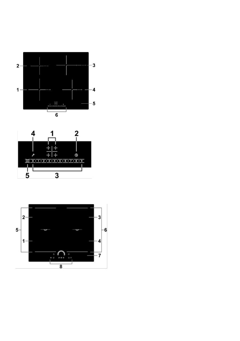
Модель HIF 641 BS / HIF 641 GS
Панель управления
Модель HIF 642 BFZ
1. Индукционная зона нагрева, макс. 2000 Вт
2. Индукционная зона нагрева, макс. 1500 Вт
3. Индукционная зона нагрева, макс. 2000 Вт
4. Индукционная зона нагрева, макс. 1500 Вт
5. Стеклянная панель
6. Панель управления
1.
Кнопки выбора варочной зоны
2.
Таймер
3.
Кнопки регулировки мощности /
времени
4.
Кнопка блокировки
5.
Кнопка включения / выключения
1. Индукционная зона нагрева, макс. 2000 Вт,
Power Boost макс 2600 Вт
2. Индукционная зона нагрева, макс. 1500 Вт,
Power Boost макс 2000 Вт
3. Индукционная зона нагрева, макс. 2000 Вт,
Power Boost макс 2600 Вт
4. Индукционная зона нагрева, макс. 1500 Вт,
Power Boost макс 2000 Вт
5,6. Границы Flex зоны. Макс. мощность Flex
зоны 2600 Вт, Power Boost макс 3000 Вт
7. Стеклянная панель
8. Панель управления
Содержание
- 2 характеристики модели.
- 5 Опасность получения порезов
- 10 Использование сенсорной панели управления; Касайтесь элементов управления подушечкой пальца, а не кончиком.; Поздравляем Вас; с приобретением новой стеклокерамической варочной панели!
- 11 Описание прибора; Панель управления
- 15 Вт
- 19 Для моделей без слайдера:; Выберите степень нагрева,; Для моделей со слайдером:; Проведите вдоль слайдера.
- 20 Для моделей с зонами расширения:; коснитесь кнопки управления зоной расширения,; Окончание приготовления; Для моделей без слайдера:; Выключите зону нагрева касанием символа «-» и проведите
- 21 зону расширения, нажав на этот значок еще раз.; Функция Power Boost; появится значок
- 22 Flex зона; с Вашими потребностями.
- 23 Как 2 отдельные зоны:; предыдущей настройке.; Включение блокировки
- 24 Степень нагрева; Таймер можно использовать двумя разными способами:; Использование таймера в функции напоминания
- 26 Настройка таймера на отключение одной зоны нагрева; Коснитесь кнопки выбора зоны нагрева
- 27 Настройка таймера на отключение нескольких зон нагрева; (заданное время — 6 минут)
- 28 Когда блюдо начнет кипеть, уменьшите степень нагрева.; Томление, приготовление риса; Чтобы приготовить сочный, ароматный стейк:
- 29 Быстрое обжаривание при постоянном помешивании; Настройка температуры; Степень
- 32 Код
- 33 Установка; Выбор места установки
- 36 Не используйте пароочистители для очистки прибора.; Подключение варочной панели к электросети; Перед подключением варочной панели к электросети убедитесь, что:
- 37 Кабель электропитания изделия не должен быть согнут или сжат.
- 38 Основной импортер товара Weissgauff