Варочная панель Bertazzoni P784IC1B2NEE - инструкция пользователя по применению, эксплуатации и установке на русском языке. Мы надеемся, она поможет вам решить возникшие у вас вопросы при эксплуатации техники.
Если остались вопросы, задайте их в комментариях после инструкции.
"Загружаем инструкцию", означает, что нужно подождать пока файл загрузится и можно будет его читать онлайн. Некоторые инструкции очень большие и время их появления зависит от вашей скорости интернета.

8
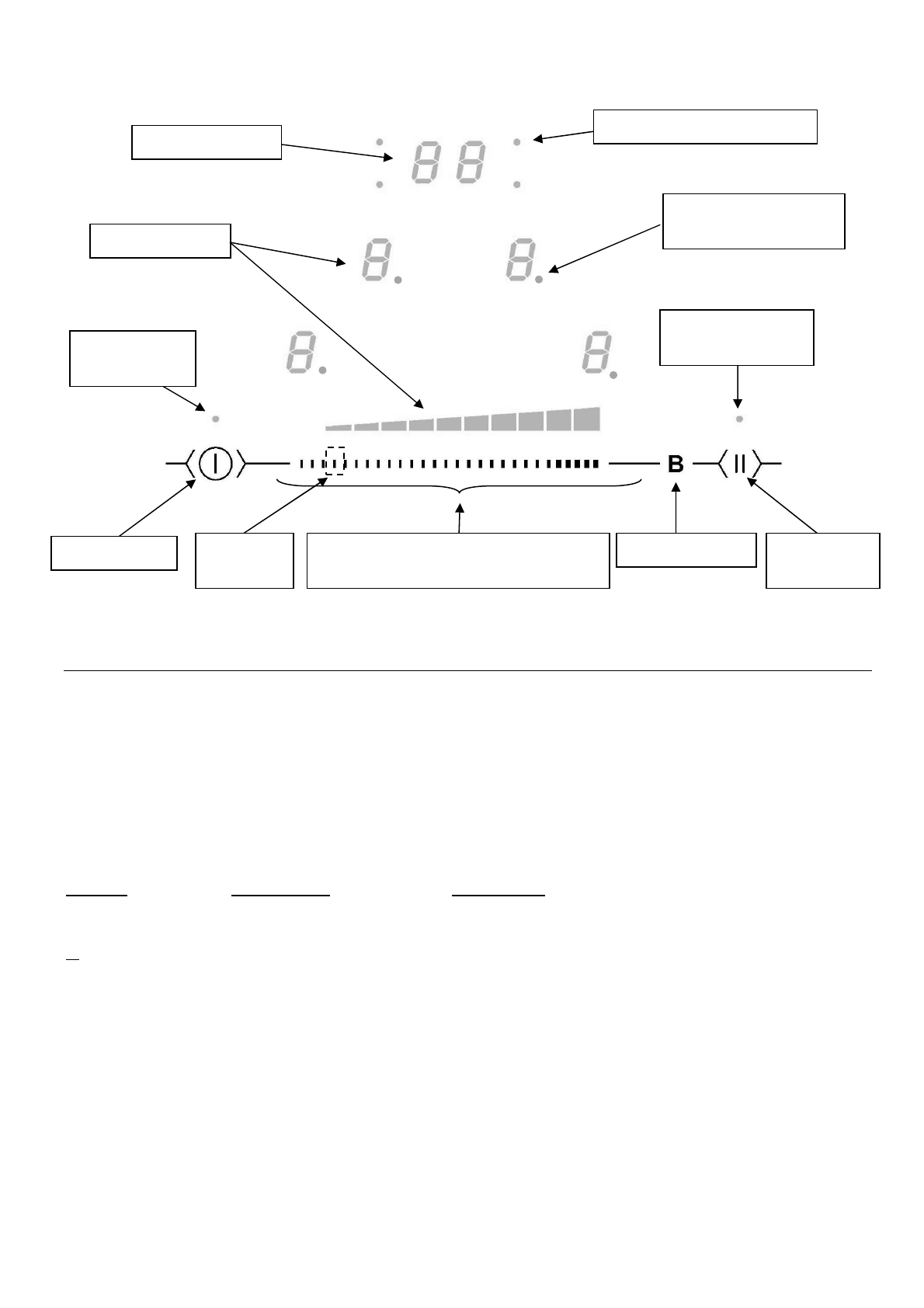
Control panel
USE OF THE APPLIANCE
Sensitive touch
Your ceramic hob is equipped with electronic controls with sensitive touch keys. When your finger
presses the key, the corresponding command is activated. This activation is validated by a
control light, a letter or a number in the display and/or a “beep” sound.
In the case of a general use press only one key at the same time.
Display
Display
Designation
Description
0.
Zero
The heating zone is activated.
1…9
Power level
Selection of the cooking level.
U
No pan detection
No pan or inadequate pan.
A
Heat accelerator
Automatic cooking.
E
Error message
Electronic failure.
H
Residual heat
The heating zone is hot.
P
Power
The boosted power is activated.
L
Locking
Control panel locking.
U
Keep warm
Maintain automatically of 70°C.
II
Stop&Go
The hob is in pause.
Ventilation
The cooling system is fully automatic. The cooling fan starts with a low speed when the calories
brought out by the electronic system reach a certain level. The ventilation starts his high speed
when the hob is intensively used. The cooling fan reduces his speed and stops automatically
when the electronic circuit is cooled enough.
Keep
warm key
Power key
Power display
Control light
cooking zone
Control light timer
Timer display
Power selection zone “SLIDER”
and timer setting zone
Control light
on/off
Control light
Stop & Go
On/off key
Stop & Go
key
Характеристики
Остались вопросы?Не нашли свой ответ в руководстве или возникли другие проблемы? Задайте свой вопрос в форме ниже с подробным описанием вашей ситуации, чтобы другие люди и специалисты смогли дать на него ответ. Если вы знаете как решить проблему другого человека, пожалуйста, подскажите ему :)













