Варочная панель Bertazzoni P784IC1B2NEE - инструкция пользователя по применению, эксплуатации и установке на русском языке. Мы надеемся, она поможет вам решить возникшие у вас вопросы при эксплуатации техники.
Если остались вопросы, задайте их в комментариях после инструкции.
"Загружаем инструкцию", означает, что нужно подождать пока файл загрузится и можно будет его читать онлайн. Некоторые инструкции очень большие и время их появления зависит от вашей скорости интернета.

28
Pannello comandi
USO DELL'APPARECCHIO
Comandi a sfioramento
L'apparecchio è dotato di comandi a sfioramento per la regolazione delle varie funzioni. La
funzione si attiva toccando il relativo tasto. L'attivazione viene segnalata da una spia,
un'indicazione e/o un segnale acustico.
Non premere contemporaneamente più comandi nell'uso normale.
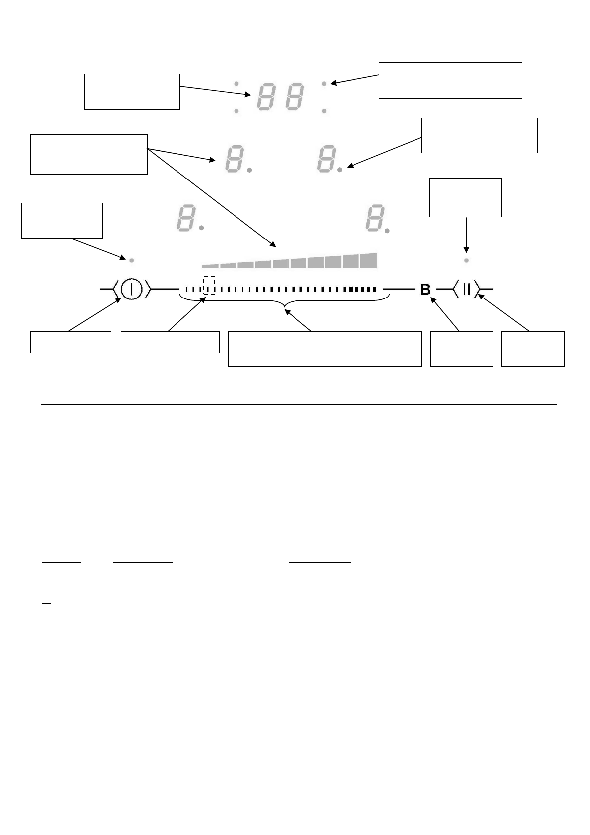
Display
Display
Indicazione
Descrizione
0.
Zero
Zona cottura attivata
1…9
Livello di potenza
Scelta del livello di cottura
U
Rilevazione pentola
Nessuna pentola idonea
A
Riscaldamento immediato
Avviamento rapido
E
Segnalazione errore
Avaria circuito elettronico
H
Calore residuo
La zona di cottura è calda
P
Power
È attiva la modalità turbo
U
Scaldavivande
Mantenimento automatico a 70°
II
Stop&Go
Lo Stop & Go è attivo
L
Blocco
Il pannello comandi è bloccato
Ventilazione
La ventola funziona in modo completamente automatico. Essa si attiva lentamente quando la
quantità di calore rilasciata dall'elettronica supera una determinata soglia. La ventilazione passa
alla velocità superiore quando la superficie di cottura è utilizzata intensamente. La velocità del
ventilatore diminuisce automaticamente fino all'arresto completo quando il circuito elettronico si è
sufficientemente raffreddato.
On/Off
Tasto
Indicazione del
livello di potenza
Spia per la scelta
della zona
Spie per la scelta della
zona per il timer
Indicatore del
timer
Zona "CURSORE" di regolazione
della potenza e impostazione del
Stop & Go
spia
Spia di
accensione
Tasto
Power
Tasto
Stop & Go
Характеристики
Остались вопросы?Не нашли свой ответ в руководстве или возникли другие проблемы? Задайте свой вопрос в форме ниже с подробным описанием вашей ситуации, чтобы другие люди и специалисты смогли дать на него ответ. Если вы знаете как решить проблему другого человека, пожалуйста, подскажите ему :)













