Варочная панель Bertazzoni P784IC1B2NEE - инструкция пользователя по применению, эксплуатации и установке на русском языке. Мы надеемся, она поможет вам решить возникшие у вас вопросы при эксплуатации техники.
Если остались вопросы, задайте их в комментариях после инструкции.
"Загружаем инструкцию", означает, что нужно подождать пока файл загрузится и можно будет его читать онлайн. Некоторые инструкции очень большие и время их появления зависит от вашей скорости интернета.

49
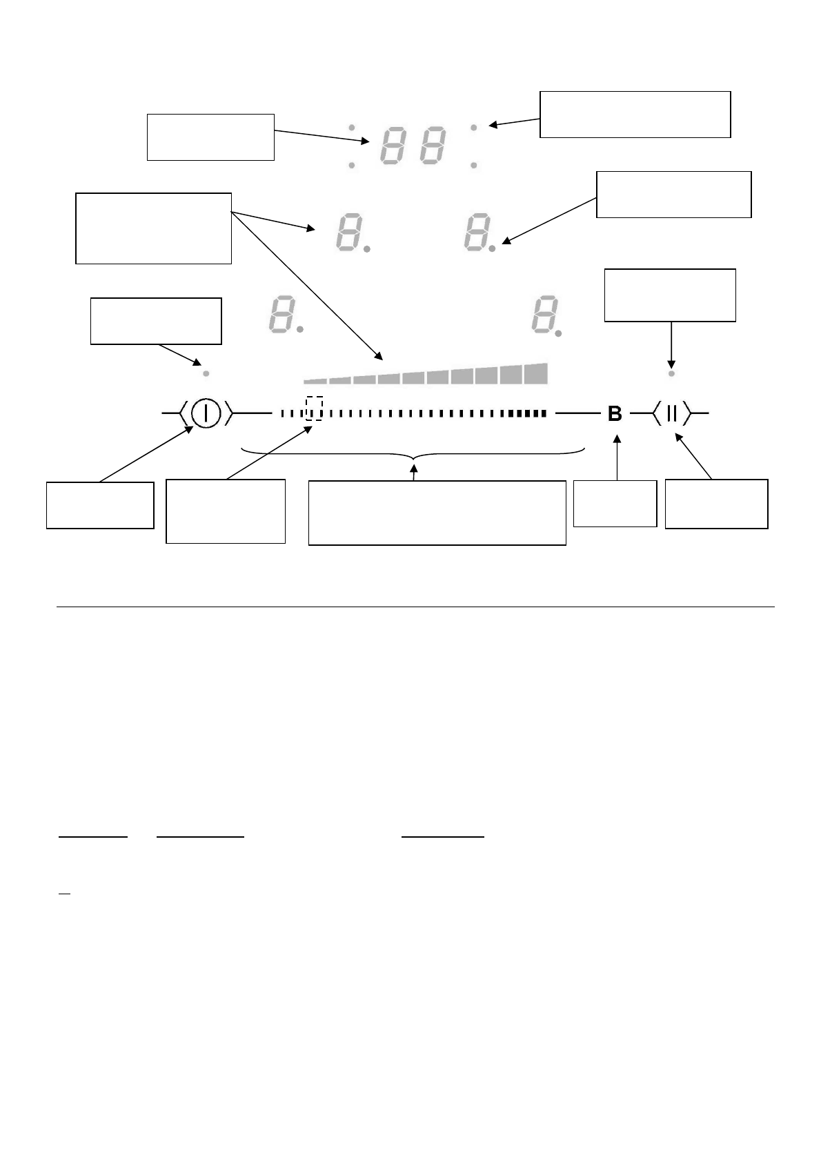
Bandeau de commande de la table
UTILISATION DE L’APPAREIL
Touches sensitives
Votre appareil est équipé de touches sensitives permettant de commander les différentes
fonctions. Un effleurage de la touche active leur fonctionnement. Cette activation est validée par
un voyant, un affichage et/ou par un signal sonore. Dans le cas d’une utilisation générale
n’appuyez que sur une seule touche à la fois.
Affichage
Affichage
Désignation
Description
0.
Zéro
La zone de chauffe est activée.
1…9
Niveau de puissance
Choix du niveau de cuisson.
U
Non détection de casserole
Récipient manquant ou inapproprié.
A
Accélérateur de chauffe
Cuisson automatique.
E
Message d’erreur
Défaut de circuit électronique.
H
Chaleur résiduelle
La zone de cuisson est chaude.
P
Power
La puissance turbo est activée.
L
Verrouillage
La table est sécurisée.
U
Maintien Chaud
La cuisson est maintenue à 70°C.
II
Stop&Go
La table est en pause.
Touche
Marche/Arrêt
Touche
Power
Affichage du
niveau de
puissance
Voyant de
sélection de foyer
Voyants de sélection
du foyer pour
Affichage de la
minuterie
Zone de sélection de puissance
“SLIDER“ et de réglage de la
minuterie
Voyant Stop
&Go
Voyant de mise
en marche
Touche
Maintien au
chaud
Touche
Stop & Go
Характеристики
Остались вопросы?Не нашли свой ответ в руководстве или возникли другие проблемы? Задайте свой вопрос в форме ниже с подробным описанием вашей ситуации, чтобы другие люди и специалисты смогли дать на него ответ. Если вы знаете как решить проблему другого человека, пожалуйста, подскажите ему :)













