Варочная панель Maunfeld EVI.594.FL2(S)-BK - инструкция пользователя по применению, эксплуатации и установке на русском языке. Мы надеемся, она поможет вам решить возникшие у вас вопросы при эксплуатации техники.
Если остались вопросы, задайте их в комментариях после инструкции.
"Загружаем инструкцию", означает, что нужно подождать пока файл загрузится и можно будет его читать онлайн. Некоторые инструкции очень большие и время их появления зависит от вашей скорости интернета.

9
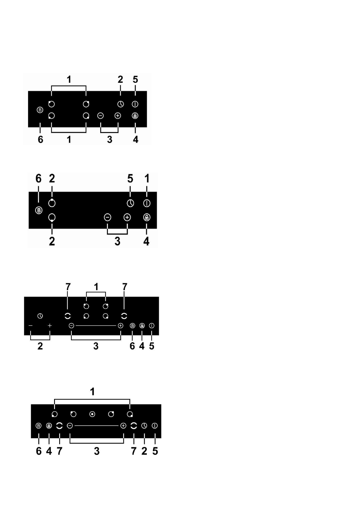
Панель управления
(1)EVI.594-BK/WH
(2)EVI.292-BK/WH
(3)EVI.594.FL2-BK
(4)EVI.775.FL2-BK
1.
Выбор варочной зоны
2. Таймер
3.
Регулировка мощности или настройка таймера
4.
Блокировка
5.
Вкл./Выкл.
6. Функция контроля бустера (разгонного блока)
1.
Выбор
варочной зоны
2.
Таймер
3.
Регулировка
мощности
или настройка
таймера
4.
Блокировка
5.
Вкл
.
/Выкл
.
6.
Функция
контроля
бустера
(
разгонного
блок
1.
Выбор
варочной зоны
2.
Регулировка
таймера
3.
Регулировка
мощности
4.
Блокировка
5.
Вкл
.
/Выкл
.
6.
Функция
контроля
бустера
(
разгонного
блока
)
7.
Выбор
Flex Zone («
моста»
)
1.
Выбор
варочной зоны
2.
Установка
таймера
3.
Регулировка
мощности
/
таймера
4.
Блокировка
5.
Вкл
.
/Выкл.
6.
Функция
контроля
бустера
(
разгонного блока
)
7.
Выбор
Flex Zone («
моста»
)