Варочная панель Haier HHY-Y53NVB - инструкция пользователя по применению, эксплуатации и установке на русском языке. Мы надеемся, она поможет вам решить возникшие у вас вопросы при эксплуатации техники.
Если остались вопросы, задайте их в комментариях после инструкции.
"Загружаем инструкцию", означает, что нужно подождать пока файл загрузится и можно будет его читать онлайн. Некоторые инструкции очень большие и время их появления зависит от вашей скорости интернета.

HHY-Y64FFVB
& HHY-Y64FFVW
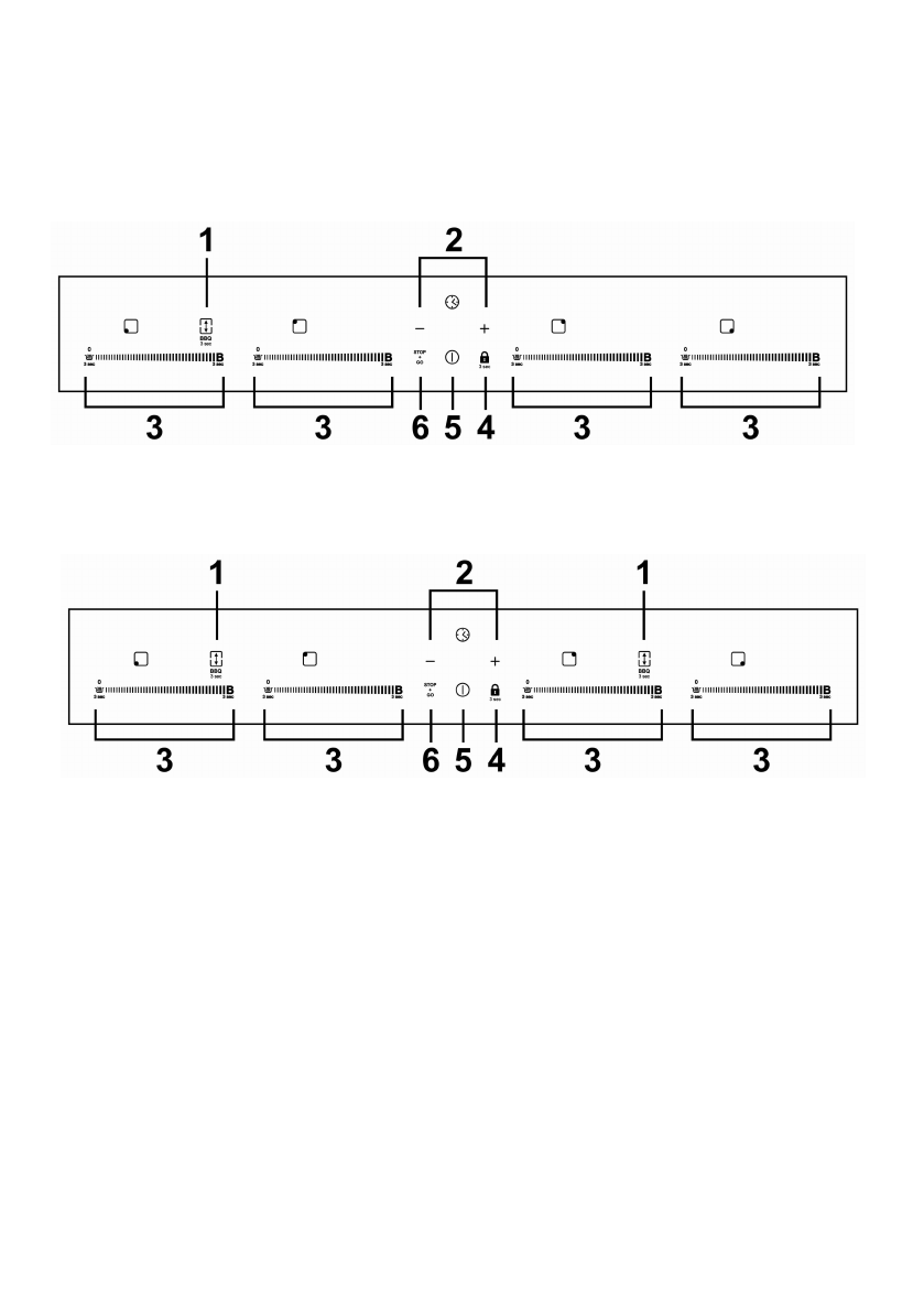
1. Иілгіш аймақты және барбекюді басқару
2. Таймерді басқару батырмасы
3. Қыздыру аймағын таңдау батырмалары
Қуатты реттеу кілті және күшейту
функциясын басқару және жылу басқару
4. пернетақтаны бұғаттау
5. Қосу/Өшіру батырмасы
6. Тоқтату және бару басқару элементі
Басқару
HHY-Y64FVB