Варочная панель Haier HHY-Y53NVB - инструкция пользователя по применению, эксплуатации и установке на русском языке. Мы надеемся, она поможет вам решить возникшие у вас вопросы при эксплуатации техники.
Если остались вопросы, задайте их в комментариях после инструкции.
"Загружаем инструкцию", означает, что нужно подождать пока файл загрузится и можно будет его читать онлайн. Некоторые инструкции очень большие и время их появления зависит от вашей скорости интернета.

Застосування зони розширення
Функція Flex zone (Зона розширення) передбачена в моделях
HHY-Y64FVB
,
HHY-
Y64FFVB и HHY
-Y64FFVW
:
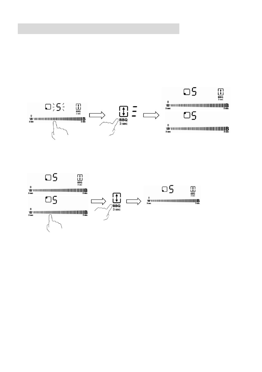
1. Оберіть одну зону, яку ви бажаєте використовувати в якості зони
розширення, потім натисніть на кнопку
Flex між індикатором зон
розширення. На дисплеї відобразиться «
三
», активізується функція
зони розширення.
2. Щоб вимкнути зону розширення, торкніться кнопки групи зони
розширення, і пристрій вийде з цього режиму.