Варочная панель Haier HHY-Y53NVB - инструкция пользователя по применению, эксплуатации и установке на русском языке. Мы надеемся, она поможет вам решить возникшие у вас вопросы при эксплуатации техники.
Если остались вопросы, задайте их в комментариях после инструкции.
"Загружаем инструкцию", означает, что нужно подождать пока файл загрузится и можно будет его читать онлайн. Некоторые инструкции очень большие и время их появления зависит от вашей скорости интернета.

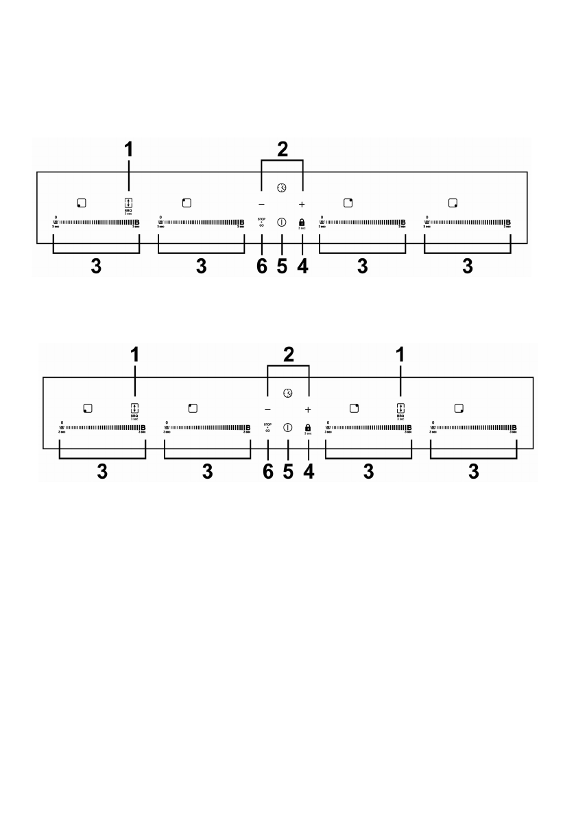
Панель керування
HHY-Y64FVB
HHY-
Y64FFVB & HHY
-Y64FFVW
1. Зона розширення та керування BBQ
2. Керування за допомогою таймера
3. Елементи керування зоною приготування,
Кнопка регулювання потужності, Керування
функцією підвищення потужності, Керування
збереженням тепла
4. Керування блокуванням
5. Керування ВМК/ВИМК
6. Керування припиненням