Варочная панель Electrolux EHF 6342 XOK - инструкция пользователя по применению, эксплуатации и установке на русском языке. Мы надеемся, она поможет вам решить возникшие у вас вопросы при эксплуатации техники.
Если остались вопросы, задайте их в комментариях после инструкции.
"Загружаем инструкцию", означает, что нужно подождать пока файл загрузится и можно будет его читать онлайн. Некоторые инструкции очень большие и время их появления зависит от вашей скорости интернета.

õli või rasvu, hoidke need eemal lahtisest lee‐
gist või kuumadest esemetest.
• Väga kuumast õlist eralduvad aurud võivad
iseeneslikult süttida.
• Kasutatud õli, milles võib leiduda toidujääke,
võib süttida madalamal temperatuuril kui ka‐
sutamata õli.
• Ärge pange süttivaid või süttiva ainega määr‐
dunud esemeid seadmesse, selle lähedusse
või peale.
• Ärge püüdke leeki kustutada veega! Lülitage
seade vooluvõrgust lahti ja summutage leek
potikaane või kustutustekiga.
HOIATUS
Seadme vigastamise või kahjustamise
oht!
• Ärge pange tuliseid nõusid juhtpaneelile.
• Ärge laske keedunõudel kuivaks keeda.
• Olge ettevaatlik ja ärge laske nõudel ega
muudel esemetel seadmele kukkuda. Pliidi
pind võib puruneda.
• Ärge lülitage keeduvälju sisse tühjade nõude‐
ga või ilma nõudeta.
• Ärge asetage seadmele alumiiniumfooliumit.
• Malmist, alumiiniumist või katkise põhjaga
nõud võivad klaaskeraamilist pinda kriimusta‐
da. Kui teil on vaja nõusid pliidil liigutada, tõst‐
ke need alati üles.
2.3 Hooldus ja puhastus
HOIATUS
Seadme vigastamise või kahjustamise
oht!
• Puhastage seadet regulaarselt, et vältida plii‐
dipinna materjali kahjustumist.
• Ärge kasutage seadme puhastamiseks vee-
või aurupihustit.
• Puhastage seadet pehme niiske lapiga. Kasu‐
tage ainult neutraalseid puhastusaineid. Ärge
kasutage abrasiivseid tooteid, küürimisšvam‐
me, lahusteid ega metallist esemeid.
2.4 Jäätmekäitlus
HOIATUS
Lämbumis- või vigastusoht!
• Seadme õige kõrvaldamise kohta saate täpse‐
maid juhiseid kohalikust omavalitsusest.
• Eemaldage seade vooluvõrgust.
• Lõigake toitekaabel seadme küljest lahti ja vi‐
sake ära.
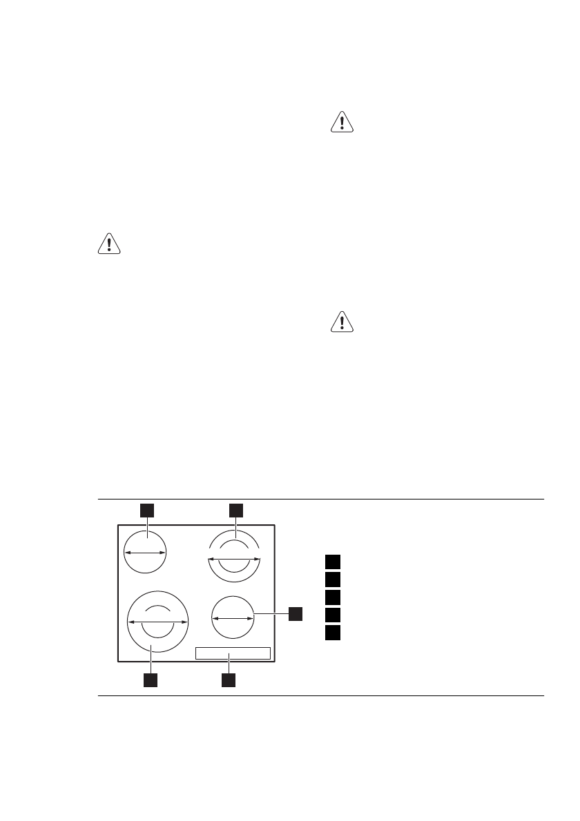
3. SEADME KIRJELDUS
1
2
4
5
3
120/180 mm
120/210 mm
145 mm
145 mm
1
Keeduväli
2
Keeduväli
3
Keeduväli
4
Juhtpaneel
5
Keeduväli
EESTI
5