Варочная панель Electrolux EGT 6345 YOK - инструкция пользователя по применению, эксплуатации и установке на русском языке. Мы надеемся, она поможет вам решить возникшие у вас вопросы при эксплуатации техники.
Если остались вопросы, задайте их в комментариях после инструкции.
"Загружаем инструкцию", означает, что нужно подождать пока файл загрузится и можно будет его читать онлайн. Некоторые инструкции очень большие и время их появления зависит от вашей скорости интернета.

• Не встановлюйте розсіювач полум’я на кон‐
форку.
2.3 Догляд та чистка
Попередження!
Існує ризик пошкодження приладу.
• Регулярно очищуйте прилад, щоб запобігти
погіршенню матеріалу поверхні.
• Не використовуйте воду з пульверизатора
або пар для чищення приладу.
• Не слід мити конфорки в посудомийній ма‐
шині.
• Протріть прилад вологою м’якою ганчіркою.
Застосовуйте лише нейтральні миючі засо‐
би. Не застосовуйте абразивні засоби,
абразивні серветки, розчинники або мета‐
леві предмети.
2.4 Утилізація
Попередження!
Існує небезпека травмування або за‐
душення.
• Щоб отримати інформацію про належну
утилізацію приладу, слід звернутися до ор‐
ганів муніципальної влади.
• Відключіть прилад від електромережі.
• Відріжте кабель живлення і викиньте його.
• Сплющте зовнішні газові труби.
Цей продукт по змісту небезпечних речовин
відповідає вимогам Технічного регламенту
обмеження використання деяких небезпечних
речовин в електричному та електронному
обладнанні (постанова Кабінета Міністрів
України №1057 від 3 грудня 2008р.)
3. ОПИС ВИРОБУ
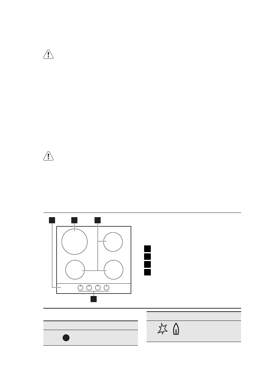
3.1 Оснащення варильної поверхні
1
2
3
4
1
Варильна поверхня
2
Швидка конфорка
3
Конфорка середньої швидкості
4
Ручки керування
3.2 Ручки керування
Символ
Опис
газ не подається /
вимкнено
Символ
Опис
положення розпа‐
лювання / макси‐
мальна подача газу
Українська
49
Содержание
- 30 ПОДДЕРЖКА ПОТРЕБИТЕЛЕЙ И СЕРВИСНОЕ ОБСЛУЖИВАНИЕ
- 32 УКАЗАНИЯ ПО БЕЗОПАСНОСТИ
- 35 Функциональные элементы варочной панели; ЕЖЕДНЕВНОЕ ИСПОЛЬЗОВАНИЕ
- 36 Выключение горелки
- 38 Очистка свечи зажигания
- 39 техобслуживание; ПОИСК И УСТРАНЕНИЕ НЕИСПРАВНОСТЕЙ; принадлежностями
- 40 Подключение к газовой; Сжиженный газ
- 43 Кухонный шкаф с духовым шкафом; ТЕХНИЧЕСКИЕ ДАННЫЕ
- 44 ОХРАНА ОКРУЖАЮЩЕЙ СРЕДЫ