Тепловые завесы Ballu BHC-M25T12-PS - инструкция пользователя по применению, эксплуатации и установке на русском языке. Мы надеемся, она поможет вам решить возникшие у вас вопросы при эксплуатации техники.
Если остались вопросы, задайте их в комментариях после инструкции.
"Загружаем инструкцию", означает, что нужно подождать пока файл загрузится и можно будет его читать онлайн. Некоторые инструкции очень большие и время их появления зависит от вашей скорости интернета.

10
Подготовка к работе
Подключение к электрической сети
ВНИМАНИЕ!
Тепловая завеса должна подключаться специали-
стами, имеющими соответствующую группу допу-
ска по электробезопасности.
Подключение к электросети осуществляется че-
рез автоматический выключатель в соответствии
с «Правилами эксплуатации электроустановок».
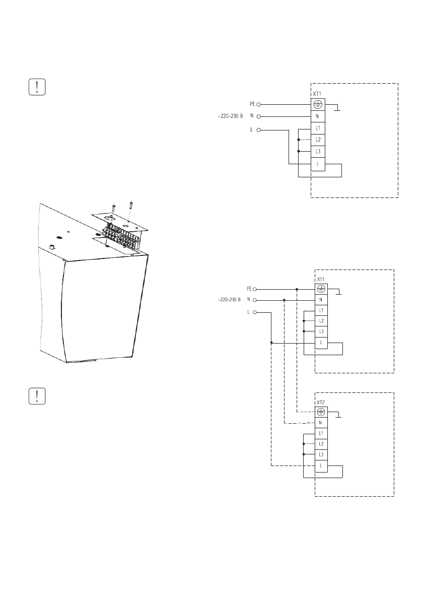
Необходимо снять крышку на верхней стенке
корпуса, завести шнур питания и подключить его
к клеммной колодке. Расположение клеммной ко-
лодки приведено на рисунке:
Далее приведены электрические схемы завес:
ВНИМАНИЕ!
Завеса BHC-M10T06-PS изначально предназна-
чена для подключения к однофазной сети 220 В.
Также завесу BHC-M10T06-PS можно подключить
и к трехфазной сети 380 В. Для этого необходимо
удалить перемычку между клеммами L, L1, L2 и L3.
Ниже указаны схемы электрические принципи-
альные силовой части завесы BHC-M10T06-PS для
подключения к однофазной сети 220 В, в соот-
ветствии со схемами для завес, соединенные для
трезфазной сети.
Схема электрическая принципиальная
ВHC-М10Т06-PS при подключении на 230 B.
XT1 - колодка клеммная.
Схема электрическая принципиальная при
групповом соединении ВHC-М10Т06-PS при
подключении на 230 B.
XT1, XT2 - колодка клеммная.












