Тепловые пушки THERMEX Bazooka 2 - инструкция пользователя по применению, эксплуатации и установке на русском языке. Мы надеемся, она поможет вам решить возникшие у вас вопросы при эксплуатации техники.
Если остались вопросы, задайте их в комментариях после инструкции.
"Загружаем инструкцию", означает, что нужно подождать пока файл загрузится и можно будет его читать онлайн. Некоторые инструкции очень большие и время их появления зависит от вашей скорости интернета.

20
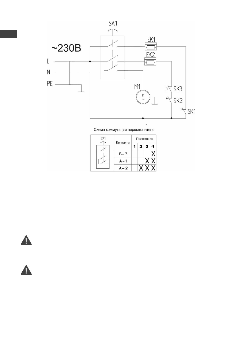
4-сур. Электр схемасы Bazooka 4.5
9.
КҮТІМІ ЖӘНЕ ҚЫЗМЕТ КӨРСЕТУ
Қалыпты пайдалану кезінде аспап техникалық қызмет көрсетуді талап етпейді, тек желдеткіш
торын және аспаптың бет жағындағы торды шаңнан тазарту және жұмысқа қабілеттілікті бақылау
керек. Аспаптың жарамдылығы сыртқы қараумен, содан кейін ауа ағынының қызуын қосу және
тексеру арқылы анықталады. Ықтимал ақаулар және оларды жою әдістері 6-бөлімнің кестесінде
берілген.
Пайдалану, сақтау және ақауларды уақтылы жою шарттарын сақтаған кезде аспап 7 жылдан
астам уақыт пайдаланылуы мүмкін.
Техникалық қызмет көрсету алдында аспапты желіден ажырату және оны суыту
керек.
Аспаптың бетін тазалау үшін жұмсақ ылғалды матаны пайдалану қажет. Тазалаудан кейін
құралды құрғақ шүберекпен сүртіп, қосу алдында 24 сағат құрғату керек.
Аспаптың сыртқы беттерінің зақымдануын болдырмау мақсатында тазалау кезінде
абразивті тазалау құралдарын, жылтырататын құралдарды, бензинді, еріткіштерді
және басқа да химикаттарды пайдаланбау керек.
ы
KZ
Содержание
- 3 RU
- 9 прибор может эксплуатироваться более 7 лет.; ЭЛЕКТРИЧЕСКИЕ СХЕМЫ
- 10 УХОД И ОБСЛУЖИВАНИЕ
- 11 ными знаками на упаковке:
- 12 ГАРАНТИЯ ИЗГОТОВИТЕЛЯ; Изготовитель устанавливает срок гарантии на прибор; СЕРТИФИКАЦИЯ
- 13 Представник виробника в Украiнi:
- 14 ОТМЕТКА О ПРОДАЖЕ; Подпись представителя; продавца
- 25 СЕРТИФИКАТТАУ; Тауар Кедендік одақ аумағында сертификатталған.
Характеристики
Остались вопросы?Не нашли свой ответ в руководстве или возникли другие проблемы? Задайте свой вопрос в форме ниже с подробным описанием вашей ситуации, чтобы другие люди и специалисты смогли дать на него ответ. Если вы знаете как решить проблему другого человека, пожалуйста, подскажите ему :)