Телевизоры Telefunken TF-LED22S24T2 - инструкция пользователя по применению, эксплуатации и установке на русском языке. Мы надеемся, она поможет вам решить возникшие у вас вопросы при эксплуатации техники.
Если остались вопросы, задайте их в комментариях после инструкции.
"Загружаем инструкцию", означает, что нужно подождать пока файл загрузится и можно будет его читать онлайн. Некоторые инструкции очень большие и время их появления зависит от вашей скорости интернета.

Before you start
4
4
Before you start
product. If the liquid is spilt, it may cause the
fire, electric shock or breakdown.
• Do not install it at the place on the strong
magnetic field or current field. It may cause
break down. This equipment may be observed
deterioration of the picture by electromagnetic
radiation in electromagnetic environment.
• Fasten the wheel of the product or shelf
with wheels when installing this product. If it
moves or is tipped over, it may be damaged.
• Do not place any fire source such as
candlelight close to this product or place it on
this product. If it is tipped over or fallen down, it
may cause damage or fire.
• Do not place the unit into closed space
of TV for better ventilation; it can reduce the
product lifetime. Keep a space at least 10 cm
at above, left, and right of the TV.
• Please place all the signal cords behind of
rear panel.
• Do not overexert or touch the panel when
you convey the product. Do not transfer the
LED TV up or down display direction.
• Do not transport it with the power cord
or the connection cable connected. If you
move this product with the power cord or the
connection cable connected, damaged power
cord, connection cable or connection terminal
may cause fire, electric shock or breakdown.
• 2 persons or more shall transport the
device, which is heavier than 18 kg. If you drop
or tip over the device, it may damage it.
• The temperature of the product’s body
becomes a little higher after a long period use.
This phenomenon indicates that heat exchange
in normal working mode, thus please do not
let children or anyone who is sensitive of
temperature to touch.
All images provided herein are schematic
drawings and may differ from real objects.
Installation
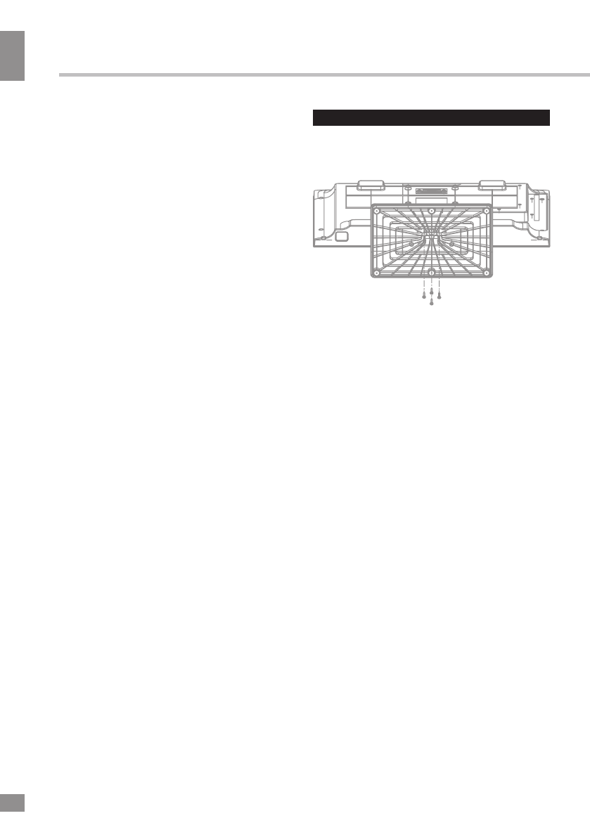
Base instalation
Cover a flat stable surface with a soft cloth.
Place the TV unit facedown on the cloth. Align
the holes in the stand with the fixing pins in the
bottom of the base and fix it with 4 screws.
Wall mounting
• For wall mounting the back panel of
this unit is equipped with 4 screw holes. A
wall-mount bracket should be used for wall
mounting (the bracket is not included and
should be acquired separately). Manufacturer
is not responsible for improper mounting
resulting in damage of the unit.
Wall or ceiling mounting implements
must be durable and sufficient enough to
support the weight of the unit.
Содержание
- 18 Перед началом эксплуатации; Утилизация изделия
- 20 Установка/Подключение; Установка; Крепление на стену; Средства для монтажа аппаратуры на
- 21 Подключение
- 22 Управление устройством; Элементы управления
- 23 Пульт дистанционного управления; Установка батареек
- 24 Общие операции
- 25 Экранное меню; Антенна
- 26 Настройка изображения
- 27 Настройка звука; Настройка таймера
- 28 Настройка параметров
- 29 Настройка блокировки; Блокировка системы; Режим “Отель”
- 30 Операции c USB
- 31 Воспроизведение файлов
- 32 Общая информация; Руководство по устранению; Неисправность; Подсоедините шнур питания.; Источники помех
- 33 Комплект поставки












