Телевизоры кинескопные Sony KV-29LS60K - инструкция пользователя по применению, эксплуатации и установке на русском языке. Мы надеемся, она поможет вам решить возникшие у вас вопросы при эксплуатации техники.
Если остались вопросы, задайте их в комментариях после инструкции.
"Загружаем инструкцию", означает, что нужно подождать пока файл загрузится и можно будет его читать онлайн. Некоторые инструкции очень большие и время их появления зависит от вашей скорости интернета.

15
HU
A képernyőn megjelenő menürendszerek
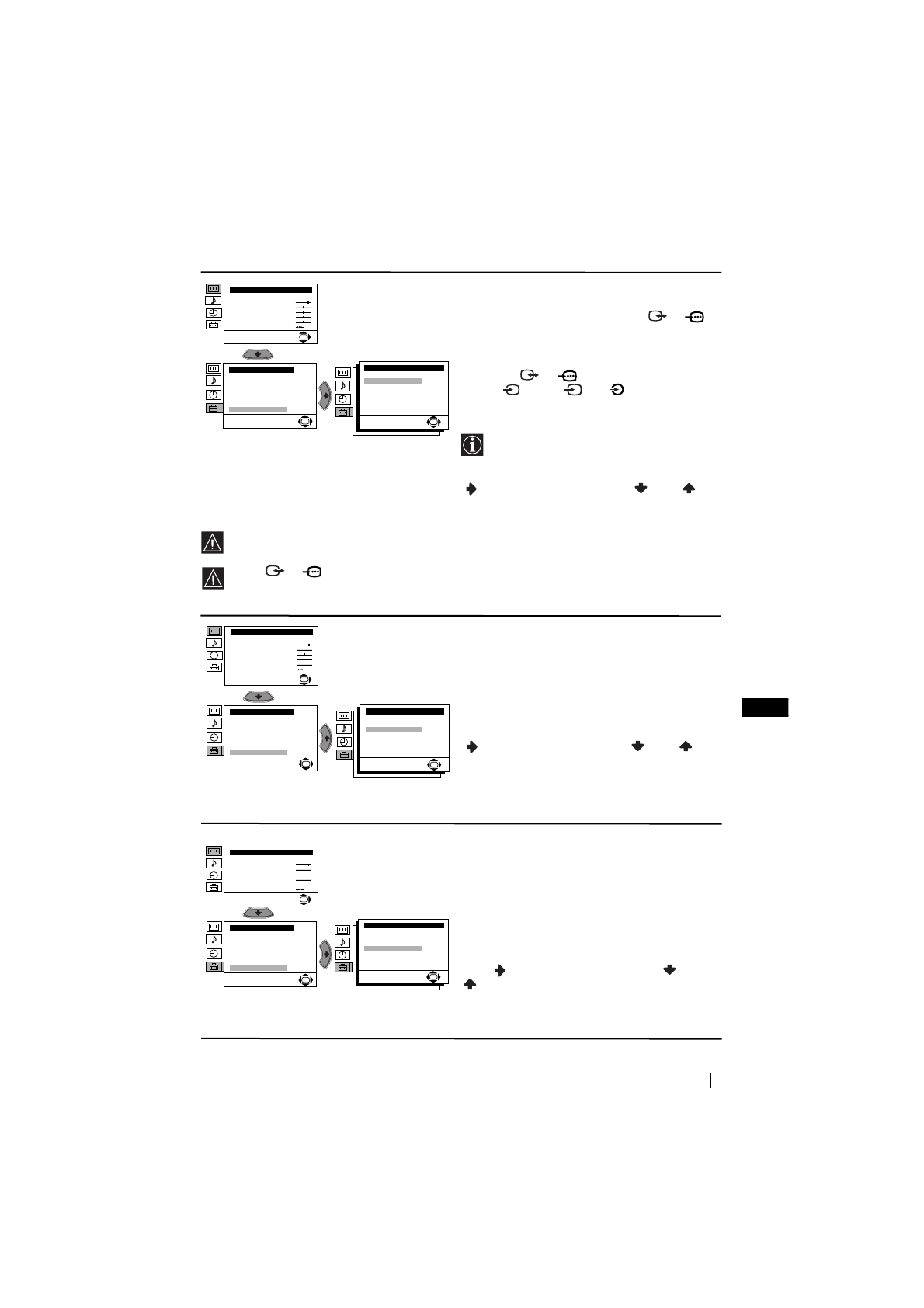
AV2 KIMENET
A “Részlet beállítása” menün belüli “AV2
kimenet” opció lehetővé teszi az
2
/
2
eurocsatlakozó kimeneti forrásának
kiválasztását, hogy ily módon rögzíthessen az
eurocsatlakozóról bármely, a televízióból vagy
egyéb, az
1
/
1
eurocsatlakozóhoz
vagy a
3
vagy
3
és
3
elülső
aljzatokhoz csatlakoztatott külső készülékből
jövő jelet.
Ha videomagnója rendelkezik
Smartlinkkel, ez az eljárás szükségtelen.
Ehhez, az opció kiválasztása után, nyomja meg
. Ezt követően nyomja meg
vagy
a
kívánt
TV, AV1, AV3, YC3
vagy
AUTO
kimeneti
jel kiválasztásához.
Ha az “AUTO”-t választja, a kimeneti jel mindig megegyezik majd a TV képernyőjén
megjelenővel.
Ha az
2
/
2
eurocsatlakozóhoz vagy egy, az eurocsatlakozóhoz csatlakoztatott
videomagnóhoz egy dekódert csatlakoztat, ne feledje az “AUTO”-ban vagy a “TV”-ben az
“AV2 kimenetet” kiválasztani a megfelelő dekódoláshoz.
TV HANGSZÓRÓI
A “Részlet beállítása” menün belüli “TV
hangszóró” opció lehetővé teszi,a televízió
hangszórói hangjának törlését, hogy így azt
csak a televízió hátlapján lévő
audiokimenetekhez csatlakoztatott külső
erősítőn keresztül hallja.
Ehhez az opció kiválasztása után nyomja meg
. Ezt követően nyomja meg
vagy
a
Ki
kiválasztásához, majd végezetül nyomja meg
az
OK
-t a rögzítéshez.
Ha a későbbiekben ezt a funkciót törölni kívánja,
válassza újból a “Be”-t a “Ki” helyett.
RGB POCIONÁLÁS
RGB jelforrás csatlakoztatásakor, mint pl. egy
“Playstation”, előfordulhat, hogy szükséges a
vízszintes képközép beállítása. Ebben az
esetben ezt a “Részlet beállítása” menün belüli
“RGB pozicionálás” opció használatával
állíthatja be.
Ehhez az RGB jelforrás nézése közben
válassza ki az “RGB Közép” opciót és nyomja
meg
. Ezt követően nyomja meg
vagy
a képközepelés -10 és +10 közötti
beállításához. Végezetül nyomja meg az
OK
-t a
rögzítéshez.
S
1. szint
2. szint
3. szint / funkció
Képbeállítás
Üzemmód: Egyéni
Kontraszt
Fényer
ő
Színtelítetség
Képélesség
Színárnyalat
Törlés
OK
Beállítás
Nyelv/Ország
Automatikus hangolás
Programhely-átrendezés
Programnevek
AV beállítás
Kézi hangolás
Részlet beállítása
OK
Részlet beállítása
OK
Zajzár:
AV2 kimenet:
TV hangszóró:
RGB pozionálás:
Képelforgatás:
Auto
TV
Be
0
0
folytatódik...
Képbeállítás
Üzemmód: Egyéni
Kontraszt
Fényer
ő
Színtelítetség
Képélesség
Színárnyalat
Törlés
OK
Beállítás
Nyelv/Ország
Automatikus hangolás
Programhely-átrendezés
Programnevek
AV beállítás
Kézi hangolás
Részlet beállítása
OK
Részlet beállítása
OK
Zajzár:
AV2 kimenet:
TV hangszóró:
RGB pozionálás:
Képelforgatás:
Auto
TV
Be
0
0
Képbeállítás
Üzemmód: Egyéni
Kontraszt
Fényer
ő
Színtelítetség
Képélesség
Színárnyalat
Törlés
OK
Beállítás
Nyelv/Ország
Automatikus hangolás
Programhely-átrendezés
Programnevek
AV beállítás
Kézi hangolás
Részlet beállítása
OK
Részlet beállítása
OK
Zajzár:
AV2 kimenet:
TV hangszóró:
RGB pozionálás:
Képelforgatás:
Auto
TV
Be
0
0
Содержание
- 104 Назначение кнопок на пульте дистанционного управления; Общее описание
- 105 Подключение антенны и видеомагнитофона; Общее описание - Установка; выключение; видеомагнитофон
- 106 Включение и автоматическая настройка телевизора; Первое включение телевизора в работу
- 108 Введение и работа с системой меню; Вывод системы меню на экран; Схема меню; Уровень; Резкость; можно изменить только в том случае, если Вы; Цветовой Тон; можно изменять только в системе цвета NTSC (например, видеопленки; Сброс; и нажмите на
- 109 Dolby
- 110 ТАЙМЕР ВЫКЛЮЧЕНИЯ; После этого нажмите; отключения, нажмите на кнопку; АВТОНАСТРОЙКА; продолжeниe
- 112 Повторите все эти шаги для настройки и
- 113 Если Вы захотите отменить эту функцию в
- 115 ПОBОPОT ИЗОБРАЖЕНИЯ
- 116 В этом случае введите другой номер страницы.; Фастекст
- 117 Подключение дополнительных устройств; Подключение видеомагнитофона:; Дополнительная информация; KBM
- 118 Подключение внeшнeй звyкoвocпpoизвoдящeй aппapaтypы:; ìcÚaÌoÇÍa; Вы также можете получить звуковой эффект; Использование
- 119 Cписок марок видеомагнитофонов
- 120 Спецификации; Otæezataho b Ncæahnn
- 121 Выявление неисправностей; нарушений качества изображения и звука.; Неисправность












