Телевизоры кинескопные Sony KV-29LS60K - инструкция пользователя по применению, эксплуатации и установке на русском языке. Мы надеемся, она поможет вам решить возникшие у вас вопросы при эксплуатации техники.
Если остались вопросы, задайте их в комментариях после инструкции.
"Загружаем инструкцию", означает, что нужно подождать пока файл загрузится и можно будет его читать онлайн. Некоторые инструкции очень большие и время их появления зависит от вашей скорости интернета.

16
Система от менюта на екрана
ВЪРТЕНЕ НА КАРТИНАТА
Възможно е, вследствие на земния
магнетизъм, образа да се появи наклонен. В
този случай настройването се извършва
избирайки «Въртене на Карт.» в менюто
«
èoÀpoÄÌa ÌaäaÎÌa ÌacÚp.
».
За целта: след като изберете тази опция,
натиснете
. След което натиснете
или
за да настроите наклона на образа
между -5 и +5. Накрая натиснете
ОК
за
запаметяване.
Ниво
1
Ниво
2
Ниво 3 / Функция
HacÚpoÈÍa Ìa KapÚËÌaÚa
PeÊËÏ: ãËäeÌ
KoÌÚpacÚ
üpÍÌocÚ
ñÇeÚÌocÚ
OcÚpoÚa
ToÌaÎÌocÚ
HyÎËpaÌe
OK
OK
Инcтaлиpaнe
Eзик/Дъpжaвa
Aвтoм. Зaxвaщaнe
Пoдpeждaнe нa Пpoгpaми
HaÑÔËcÇaÌe Ìa ÔpoÖpaÏË
ÂaÔaÏeÚeÌË AV ÌacÚpoÈÍË
Пpoгpaмa Pъчeн Избop
èoÀpoÄÌa ÌaäaÎÌa ÌacÚp
OK
èoÀpoÄÌa ÌaäaÎÌa ÌacÚp
Пoтиcкaнe нa Шyмa
:
AV2 ËÁxoÑ
:
TeÎeÇ. ÖoÇopËÚeÎ
:
RGB Цeнтъp
:
Bъpтeнe нa Kapт.
:
Auto
TV
BkÎ
0
0
Содержание
- 104 Назначение кнопок на пульте дистанционного управления; Общее описание
- 105 Подключение антенны и видеомагнитофона; Общее описание - Установка; выключение; видеомагнитофон
- 106 Включение и автоматическая настройка телевизора; Первое включение телевизора в работу
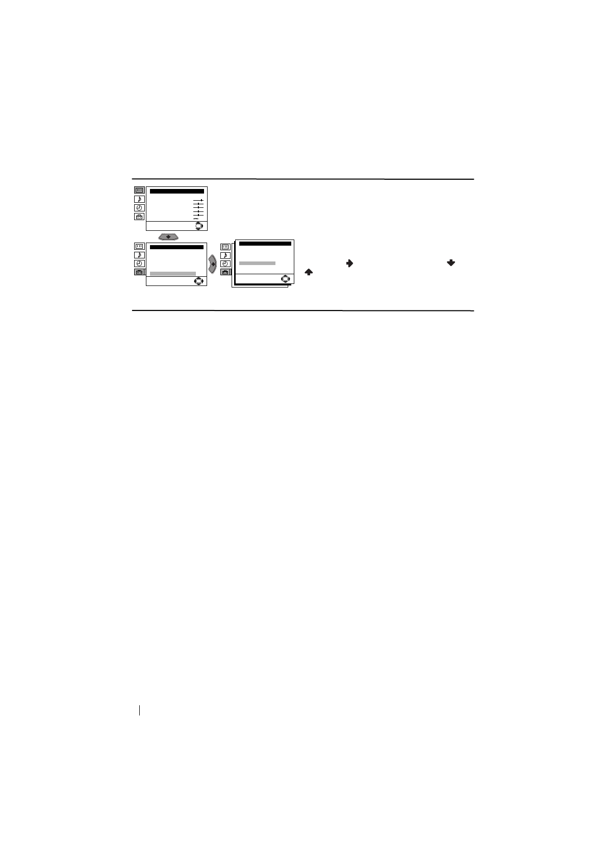
- 108 Введение и работа с системой меню; Вывод системы меню на экран; Схема меню; Уровень; Резкость; можно изменить только в том случае, если Вы; Цветовой Тон; можно изменять только в системе цвета NTSC (например, видеопленки; Сброс; и нажмите на
- 109 Dolby
- 110 ТАЙМЕР ВЫКЛЮЧЕНИЯ; После этого нажмите; отключения, нажмите на кнопку; АВТОНАСТРОЙКА; продолжeниe
- 112 Повторите все эти шаги для настройки и
- 113 Если Вы захотите отменить эту функцию в
- 115 ПОBОPОT ИЗОБРАЖЕНИЯ
- 116 В этом случае введите другой номер страницы.; Фастекст
- 117 Подключение дополнительных устройств; Подключение видеомагнитофона:; Дополнительная информация; KBM
- 118 Подключение внeшнeй звyкoвocпpoизвoдящeй aппapaтypы:; ìcÚaÌoÇÍa; Вы также можете получить звуковой эффект; Использование
- 119 Cписок марок видеомагнитофонов
- 120 Спецификации; Otæezataho b Ncæahnn
- 121 Выявление неисправностей; нарушений качества изображения и звука.; Неисправность












