Телевизоры кинескопные Sony KV-29LS60K - инструкция пользователя по применению, эксплуатации и установке на русском языке. Мы надеемся, она поможет вам решить возникшие у вас вопросы при эксплуатации техники.
Если остались вопросы, задайте их в комментариях после инструкции.
"Загружаем инструкцию", означает, что нужно подождать пока файл загрузится и можно будет его читать онлайн. Некоторые инструкции очень большие и время их появления зависит от вашей скорости интернета.

11
HU
A képernyőn megjelenő menürendszerek
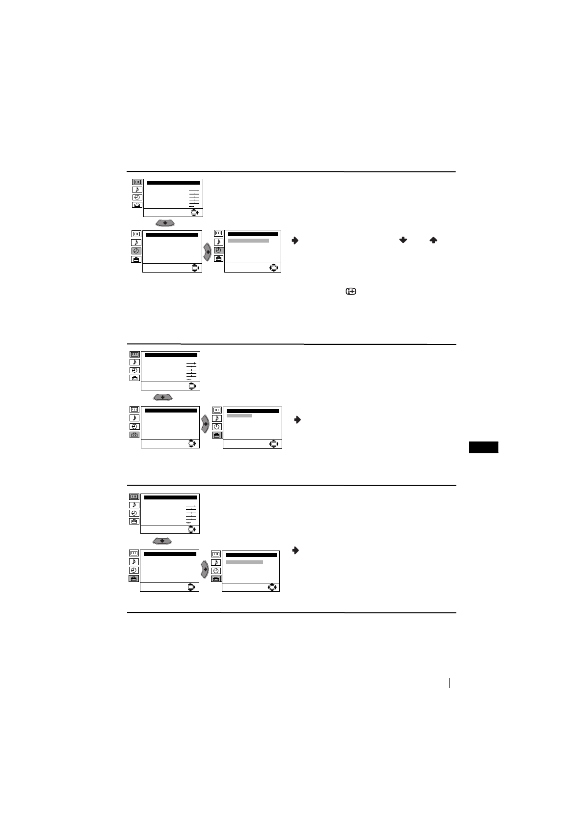
KIKAPCSOLÁS IDŐZÍTŐ
Az “Időzítő” menün belüli “Kikapcs. Időzítő”
opció lehetővé teszi egy olyan időtartam
kiválasztását, melynek elteltével a televízió
automatikusan készenléti üzemmódba
(standby) kapcsol.
Ehhez az opció kiválasztása után nyomja meg
. Ezt követően nyomja meg
vagy
az
időtartam kiválasztásához (legfeljebb 4 óra),
majd végezetül nyomja meg az
OK
-t ennek
rögzítéséhez.
•
Ha meg kívánja tekinteni a kikapcsolásig
fennmaradó időt miközben a televíziót nézi,
nyomja meg a
gombot.
•
Egy perccel a televízió készenléti üzemmódba
kapcsolása előtt a fennmaradó idő megjelenik
a képernyőn.
NYELV/ ORSZÁG
A “Beállítás” menün belüli “Nyelv/ Ország”
opció lehetővé teszi a képernyőn megjelenő
menük nyelvének kiválasztását. Lehetővé teszi
azon ország kiválasztását is, ahol a televíziót
használni kívánja.
Ehhez az opció kiválasztása után nyomja meg
, majd ezt követően járjon el a “A TV
bekapcsolása és automatikus hangolás” c.
fejezet 2. és 3. (a 7. oldalon) lépéseiben leírtak
szerint.
AUTOMATIKUS HANGOLÁS
A “Beállítás” menün belüli “Automatikus
hangolás” opció lehetővé teszi, hogy a
televízió az összes rendelkezésre álló csatornát
(televízióadót) megkeresse és elraktározza.
Ehhez az opció kiválasztása után nyomja meg
, majd ezt követően járjon el a “A TV
bekapcsolása és automatikus hangolás” c.
fejezet 5. és 6. (a 8. oldalon) lépéseiben leírtak
szerint.
1. szint
2. szint
3. szint / funkció
Képbeállítás
Üzemmód: Egyéni
Kontraszt
Fényer
ő
Színtelítetség
Képélesség
Színárnyalat
Törlés
OK
Id
ő
zít
ő
Kikapcs. id
ő
zít
ő
:
OK
Ki
Id
ő
zít
ő
Kikapcs. id
ő
zít
ő
:
OK
Ki
folytatódik...
Képbeállítás
Üzemmód: Egyéni
Kontraszt
Fényer
ő
Színtelítetség
Képélesség
Színárnyalat
Törlés
OK
Beállítás
Nyelv/Ország
Automatikus hangolás
Programhely-átrendezés
Programnevek
AV beállítás
Kézi hangolás
Részlet beállítása
OK
Beállítás
Nyelv/Ország
Automatikus hangolás
Programhely-átrendezés
Programnevek
AV beállítás
Kézi hangolás
Részlet beállítása
OK
Képbeállítás
Üzemmód: Egyéni
Kontraszt
Fényer
ő
Színtelítetség
Képélesség
Színárnyalat
Törlés
OK
Beállítás
Nyelv/Ország
Automatikus hangolás
Programhely-átrendezés
Programnevek
AV beállítás
Kézi hangolás
Részlet beállítása
OK
Beállítás
Nyelv/Ország
Automatikus hangolás
Programhely-átrendezés
Programnevek
AV beállítás
Kézi hangolás
Részlet beállítása
OK
Содержание
- 104 Назначение кнопок на пульте дистанционного управления; Общее описание
- 105 Подключение антенны и видеомагнитофона; Общее описание - Установка; выключение; видеомагнитофон
- 106 Включение и автоматическая настройка телевизора; Первое включение телевизора в работу
- 108 Введение и работа с системой меню; Вывод системы меню на экран; Схема меню; Уровень; Резкость; можно изменить только в том случае, если Вы; Цветовой Тон; можно изменять только в системе цвета NTSC (например, видеопленки; Сброс; и нажмите на
- 109 Dolby
- 110 ТАЙМЕР ВЫКЛЮЧЕНИЯ; После этого нажмите; отключения, нажмите на кнопку; АВТОНАСТРОЙКА; продолжeниe
- 112 Повторите все эти шаги для настройки и
- 113 Если Вы захотите отменить эту функцию в
- 115 ПОBОPОT ИЗОБРАЖЕНИЯ
- 116 В этом случае введите другой номер страницы.; Фастекст
- 117 Подключение дополнительных устройств; Подключение видеомагнитофона:; Дополнительная информация; KBM
- 118 Подключение внeшнeй звyкoвocпpoизвoдящeй aппapaтypы:; ìcÚaÌoÇÍa; Вы также можете получить звуковой эффект; Использование
- 119 Cписок марок видеомагнитофонов
- 120 Спецификации; Otæezataho b Ncæahnn
- 121 Выявление неисправностей; нарушений качества изображения и звука.; Неисправность












