Телевизоры кинескопные Sony KV-29CL10K - инструкция пользователя по применению, эксплуатации и установке на русском языке. Мы надеемся, она поможет вам решить возникшие у вас вопросы при эксплуатации техники.
Если остались вопросы, задайте их в комментариях после инструкции.
"Загружаем инструкцию", означает, что нужно подождать пока файл загрузится и можно будет его читать онлайн. Некоторые инструкции очень большие и время их появления зависит от вашей скорости интернета.

16
System menu na ekranie
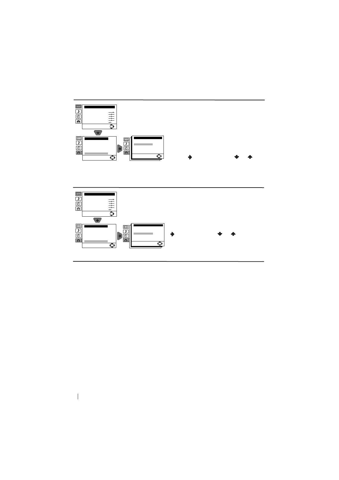
CENTROWANIE RGB
Gdy podłączone jest źródło sygnałów RGB,
jak np. konsola “PlayStation”, może się okazać
niezbędna regulacja poziomego centrowania
obrazu. Można jej dokonać przy użyciu opcji
“Centrowanie RGB” w menu “Ustawienia
szczególów”.
W tym celu: widząc sygnał wejściowy RGB,
wybierz opcję “Centrowanie RGB” i naciśnij
przycisk
. Następnie naciśnij
lub
by
ustawić centrowanie obrazu między -10 i +10.
Na zakończenie naciśnij
OK
by zapisać
ustawienie.
OBRÓT OBRAZU
Z powodu magnetyzmu ziemskiego istnieje
możliwość, że obraz będzie przechylony.
Można go wówczas uregulować przy użyciu
opcji “Obrót obrazu” w menu “Ustawienia szc-
zególów”.
W tym celu: po wybraniu opcji naciśnij przycisk
. Następnie naciśnij
lub
by ustawić
przechylenie obrazu między -5 i +5. Na
zakończenie naciśnij
OK
by zapisać
ustawienie.
Poziom 1
Poziom 2
Poziom 3 / Funkcja
Regulacja Obrazu
Tryb: W
ł
asny
Kontrast
Jasno
ść
Kolor
Ostro
ść
Odcie
ń
Zerowanie
OK
Ustawienia szczególów
Redukcja zak
ł
óce
ń
:
Wyj
ś
cie AV2:
Centrowanie RGB:
Obrót Obrazu:
Auto
TV
0
0
OK
Ustawianie
J
ę
zyk/Kraj
Autoprogramowanie
Sortowanie Programów
Nazwy Programów
Ustawienia A/V
Programowanie R
ę
czne
Ustawienia szczególów
OK
Regulacja Obrazu
Tryb: W
ł
asny
Kontrast
Jasno
ść
Kolor
Ostro
ść
Odcie
ń
Zerowanie
OK
Ustawianie
J
ę
zyk/Kraj
Autoprogramowanie
Sortowanie Programów
Nazwy Programów
Ustawienia A/V
Programowanie R
ę
czne
Ustawienia szczególów
OK
Ustawienia szczególów
Redukcja zak
ł
óce
ń
:
Wyj
ś
cie AV2:
Centrowanie RGB:
Obrót Obrazu:
Auto
TV
0
0
OK
Содержание
- 105 Когда MENU выключено:; Эта кнопка работает только в режиме; Общее описание
- 106 Общее описание кнопок телевизора; выключение; Индикатор режима
- 107 Подключение антенны и видеомагнитофона; Провода для подключения не входят в комплект поставки.; Установка
- 108 Включение и автоматическая настройка телевизора; Первое включение телевизора в работу
- 110 Введение и работа с системой меню; Вывод системы меню на экран; Схема меню; НАСТРОЙКА ИЗОБРАЖЕНИЯ; Уровень; (для прямых трансляций, a тaкжe cигнaлoв c DVD и
- 112 ТАЙМЕР ВЫКЛЮЧЕНИЯ; отключения, нажмите на кнопку; АВТОНАСТРОЙКА
- 114 продолжeниe; РУЧНАЯ НАСТРОЙКА ПРОГРАММ; Программа
- 115 ШУMOПОНИЖЕНИЕ; BЫXOД AV2; BêxoÀ AV2; BêxoÀ AV2
- 117 В этом случае введите другой номер страницы.; Фастекст
- 118 Подключение дополнительных устройств; Подключение видеомагнитофона:; Дополнительная информация
- 119 Использование дополнительных устройств
- 120 Спецификации
- 121 Уcтpaнeниe нeпoлaдoк; Неисправность; peмoнтa Baшeгo тeлeвизopa.












