Телевизоры кинескопные Sony KV-29CL10K - инструкция пользователя по применению, эксплуатации и установке на русском языке. Мы надеемся, она поможет вам решить возникшие у вас вопросы при эксплуатации техники.
Если остались вопросы, задайте их в комментариях после инструкции.
"Загружаем инструкцию", означает, что нужно подождать пока файл загрузится и можно будет его читать онлайн. Некоторые инструкции очень большие и время их появления зависит от вашей скорости интернета.

16
Система от менюта на екрана
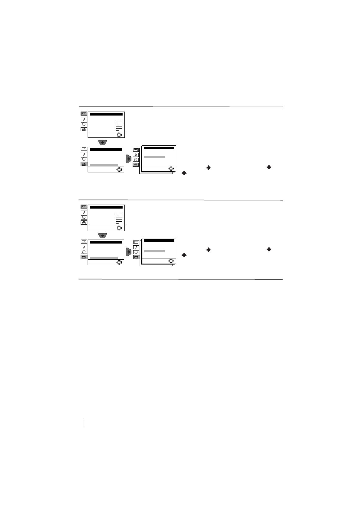
RGB ЦЕНТЪР
При включване на източник на сигнали
RGB, напр. «PlayStation», може да е
необходимо хоризонтално центриране на
образа. Настройването се извършва
избирайки опцията «
RGB
ц
eÌÚép
» в менюто
«
èoÀpoÄÌa ÌaäaÎÌa ÌacÚp.
».
За целта: докато гледате входния сигнал на
RGB, изберете опцията «RGB център» и
натиснете
. След което натиснете
или
за да настроите центъра на образа
между -10 и +10. Накрая натиснете
ОК
за
запаметяване.
ВЪРТЕНЕ НА КАРТИНАТА
Възможно е, вследствие на земния
магнетизъм, образа да се появи наклонен. В
този случай настройването се извършва
избирайки «Въртене на Карт.» в менюто
«
èoÀpoÄÌa ÌaäaÎÌa ÌacÚp.
».
За целта: след като изберете тази опция,
натиснете
. След което натиснете
или
за да настроите наклона на образа
между -5 и +5. Накрая натиснете
ОК
за
запаметяване.
Ниво
1
Ниво
2
Ниво 3 / Функция
HacÚpoÈÍa Ìa KapÚËÌaÚa
PeÊËÏ: ãËäeÌ
KoÌÚpacÚ
üpÍÌocÚ
ñÇeÚÌocÚ
OcÚpoÚa
ToÌaÎÌocÚ
HyÎËpaÌe
OK
OK
Инcтaлиpaнe
Eзик/Дъpжaвa
Aвтoм. Зaxвaщaнe
Пoдpeждaнe нa Пpoгpaми
HaÑÔËcÇaÌe Ìa ÔpoÖpaÏË
ÂaÔaÏeÚeÌË AV ÌacÚpoÈÍË
Пpoгpaмa Pъчeн Избop
èoÀpoÄÌa ÌaäaÎÌa ÌacÚp
OK
èoÀpoÄÌa ÌaäaÎÌa ÌacÚp
Пoтиcкaнe нa Шyмa:
AV2 ËÁxoÑ
:
RGB Цeнтъp:
Bъpтeнe нa Kapт.:
Auto
TV
0
0
HacÚpoÈÍa Ìa KapÚËÌaÚa
PeÊËÏ: ãËäeÌ
KoÌÚpacÚ
üpÍÌocÚ
ñÇeÚÌocÚ
OcÚpoÚa
ToÌaÎÌocÚ
HyÎËpaÌe
OK
OK
Инcтaлиpaнe
Eзик/Дъpжaвa
Aвтoм. Зaxвaщaнe
Пoдpeждaнe нa Пpoгpaми
HaÑÔËcÇaÌe Ìa ÔpoÖpaÏË
ÂaÔaÏeÚeÌË AV ÌacÚpoÈÍË
Пpoгpaмa Pъчeн Избop
èoÀpoÄÌa ÌaäaÎÌa ÌacÚp
OK
èoÀpoÄÌa ÌaäaÎÌa ÌacÚp
Пoтиcкaнe нa Шyмa:
AV2 ËÁxoÑ
:
RGB Цeнтъp:
Bъpтeнe нa Kapт.:
Auto
TV
0
0
Содержание
- 105 Когда MENU выключено:; Эта кнопка работает только в режиме; Общее описание
- 106 Общее описание кнопок телевизора; выключение; Индикатор режима
- 107 Подключение антенны и видеомагнитофона; Провода для подключения не входят в комплект поставки.; Установка
- 108 Включение и автоматическая настройка телевизора; Первое включение телевизора в работу
- 110 Введение и работа с системой меню; Вывод системы меню на экран; Схема меню; НАСТРОЙКА ИЗОБРАЖЕНИЯ; Уровень; (для прямых трансляций, a тaкжe cигнaлoв c DVD и
- 112 ТАЙМЕР ВЫКЛЮЧЕНИЯ; отключения, нажмите на кнопку; АВТОНАСТРОЙКА
- 114 продолжeниe; РУЧНАЯ НАСТРОЙКА ПРОГРАММ; Программа
- 115 ШУMOПОНИЖЕНИЕ; BЫXOД AV2; BêxoÀ AV2; BêxoÀ AV2
- 117 В этом случае введите другой номер страницы.; Фастекст
- 118 Подключение дополнительных устройств; Подключение видеомагнитофона:; Дополнительная информация
- 119 Использование дополнительных устройств
- 120 Спецификации
- 121 Уcтpaнeниe нeпoлaдoк; Неисправность; peмoнтa Baшeгo тeлeвизopa.












