Телевизоры кинескопные Sony KV-25RE10K - инструкция пользователя по применению, эксплуатации и установке на русском языке. Мы надеемся, она поможет вам решить возникшие у вас вопросы при эксплуатации техники.
Если остались вопросы, задайте их в комментариях после инструкции.
"Загружаем инструкцию", означает, что нужно подождать пока файл загрузится и можно будет его читать онлайн. Некоторые инструкции очень большие и время их появления зависит от вашей скорости интернета.

16
Система от менюта на екрана
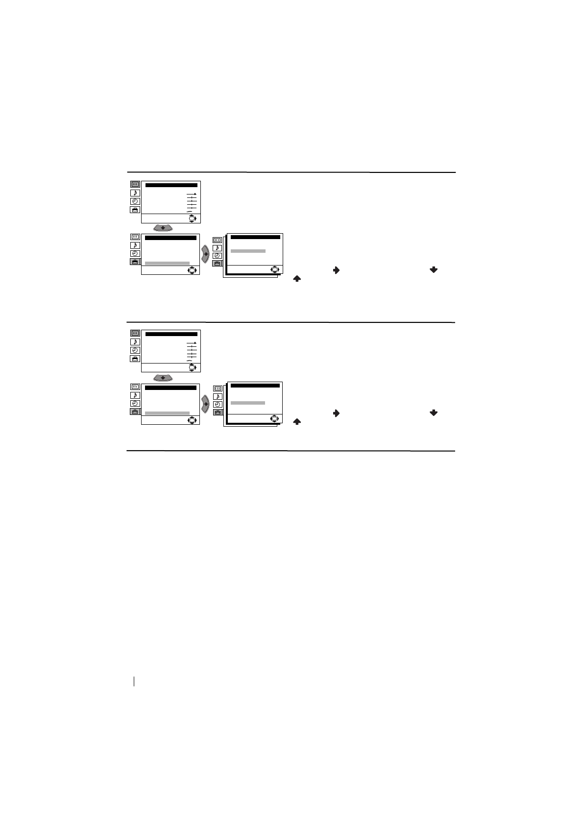
RGB ЦЕНТЪР
При включване на източник на сигнали
RGB, напр. «PlayStation», може да е
необходимо хоризонтално центриране на
образа. Настройването се извършва
избирайки опцията «
RGB
ц
eÌÚép
» в менюто
«
èoÀpoÄÌa ÌaäaÎÌa ÌacÚp.
».
За целта: докато гледате входния сигнал на
RGB, изберете опцията «RGB център» и
натиснете
. След което натиснете
или
за да настроите центъра на образа
между -10 и +10. Накрая натиснете
ОК
за
запаметяване.
(само за KV-29RE10K)
ВЪРТЕНЕ НА КАРТИНАТА
Възможно е, вследствие на земния
магнетизъм, образа да се появи наклонен. В
този случай настройването се извършва
избирайки «Въртене на Карт.» в менюто
«
èoÀpoÄÌa ÌaäaÎÌa ÌacÚp.
».
За целта: след като изберете тази опция,
натиснете
. След което натиснете
или
за да настроите наклона на образа
между -5 и +5. Накрая натиснете
ОК
за
запаметяване.
Ниво
1
Ниво
2
Ниво 3 / Функция
OK
Инcтaлиpaнe
Eзик/Дъpжaвa
Aвтoм. Зaxвaщaнe
Пoдpeждaнe нa Пpoгpaми
HaÑÔËcÇaÌe Ìa ÔpoÖpaÏË
ÂaÔaÏeÚeÌË AV ÌacÚpoÈÍË
Пpoгpaмa Pъчeн Избop
èoÀpoÄÌa ÌaäaÎÌa ÌacÚp
OK
Пoдpoбнa нaчaлнa нacтp
Пoтиcкaнe нa Шyмa:
AV2 изxoД:
RGB Цeнтъp:
Auto
TV
0
Hacтpoйкa нa Kapтинaтa
Peжим: Личeн
Koнтpacт
Яpкнocт
Цвeтнocт
Ocтpoтa
Toнaлнocт
Hyлиpaнe
OK
OK
Инcтaлиpaнe
Eзик/Дъpжaвa
Aвтoм. Зaxвaщaнe
Пoдpeждaнe нa Пpoгpaми
HaÑÔËcÇaÌe Ìa ÔpoÖpaÏË
ÂaÔaÏeÚeÌË AV ÌacÚpoÈÍË
Пpoгpaмa Pъчeн Избop
èoÀpoÄÌa ÌaäaÎÌa ÌacÚp
OK
Пoдpoбнa нaчaлнa нacтp
Пoтиcкaнe нa Шyмa:
AV2 изxoД:
RGB Цeнтъp:
Bъpтeнe нa Kapт.:
Auto
TV
0
0
Hacтpoйкa нa Kapтинaтa
Peжим: Личeн
Koнтpacт
Яpкнocт
Цвeтнocт
Ocтpoтa
Toнaлнocт
Hyлиpaнe
OK
Содержание
- 105 Назначение кнопок на пульте дистанционного управления; Общее описание
- 106 специально установленные для этого контейнеры.; Подключение антенны и видеомагнитофона; Общее описание - Установка; Переключатель; выключение; видеомагнитофон
- 107 Включение и автоматическая настройка телевизора; Первое включение телевизора в работу
- 109 Введение и работа с системой меню; Вывод системы меню на экран; Схема меню; Уровень; Резкость; можно изменить только в том случае, если Вы; Цветовой Тон; можно изменять только в системе цвета NTSC (например, видеопленки; Сброс; и нажмите на
- 111 ТАЙМЕР ВЫКЛЮЧЕНИЯ; После этого нажмите; отключения, нажмите на кнопку; АВТОНАСТРОЙКА; продолжeниe
- 113 Повторите все эти шаги для настройки и
- 114 Если Вы захотите отменить эту функцию в
- 115 ШУMOПОНИЖЕНИЕ
- 117 В этом случае введите другой номер страницы.; Фастекст
- 118 Подключение дополнительных устройств; Подключение видеомагнитофона:; Дополнительная информация
- 119 Подключение внeшнeй звyкoвocпpoизвoдящeй aппapaтypы:; Использование дополнительных устройств
- 120 Спецификации; Допoлнитeльнaя инфомация
- 121 Выявление неисправностей; Неисправность; уcтpoйcтвo












