Телевизоры кинескопные Sony KV-25RE10K - инструкция пользователя по применению, эксплуатации и установке на русском языке. Мы надеемся, она поможет вам решить возникшие у вас вопросы при эксплуатации техники.
Если остались вопросы, задайте их в комментариях после инструкции.
"Загружаем инструкцию", означает, что нужно подождать пока файл загрузится и можно будет его читать онлайн. Некоторые инструкции очень большие и время их появления зависит от вашей скорости интернета.

16
System menu na ekranie
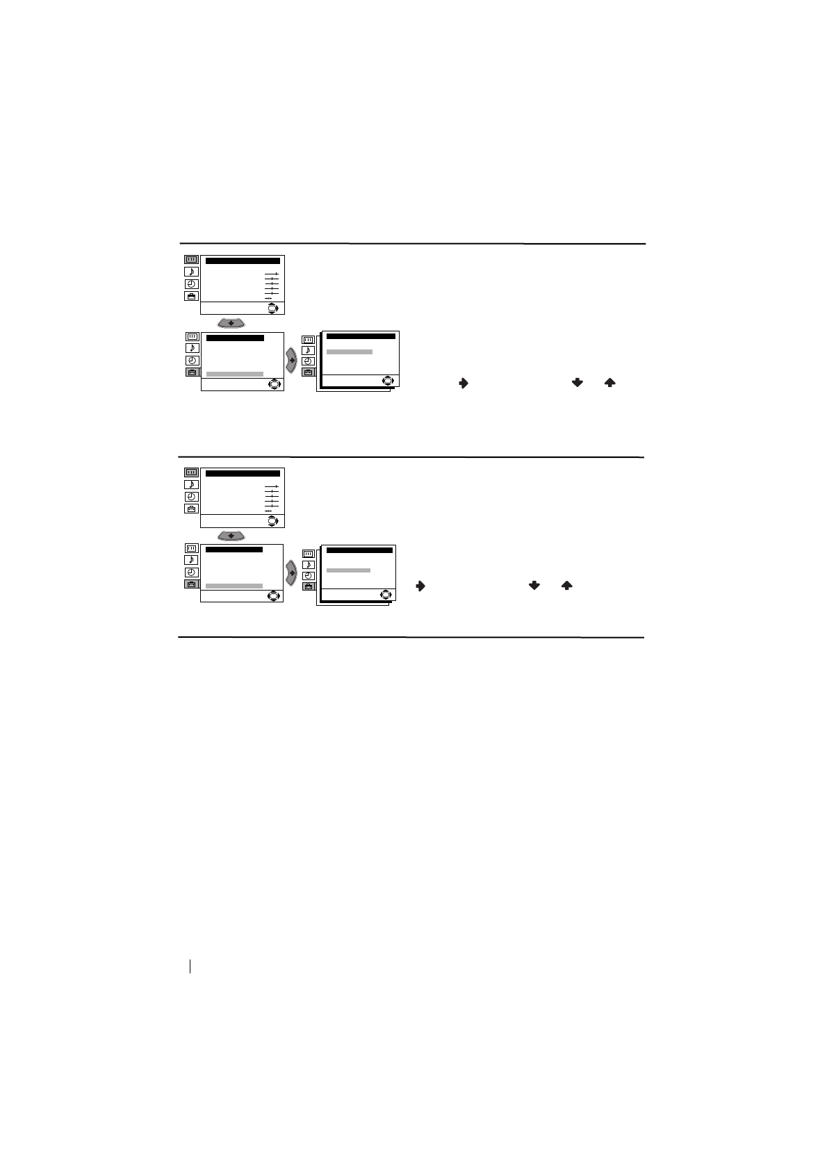
CENTROWANIE RGB
Gdy podłączone jest źródło sygnałów RGB,
jak np. konsola “PlayStation”, może się okazać
niezbędna regulacja poziomego centrowania
obrazu. Można jej dokonać przy użyciu opcji
“Centrowanie RGB” w menu “Ustawienia
szczególów”.
W tym celu: widząc sygnał wejściowy RGB,
wybierz opcję “Centrowanie RGB” i naciśnij
przycisk
. Następnie naciśnij
lub
by
ustawić centrowanie obrazu między -10 i +10.
Na zakończenie naciśnij
OK
by zapisać
ustawienie.
(tylko dla KV-29RE10K)
OBRÓT OBRAZU
Z powodu magnetyzmu ziemskiego istnieje
możliwość, że obraz będzie przechylony.
Można go wówczas uregulować przy użyciu
opcji “Obrót obrazu” w menu “Ustawienia szc-
zególów”.
W tym celu: po wybraniu opcji naciśnij przycisk
. Następnie naciśnij
lub
by ustawić
przechylenie obrazu między -5 i +5. Na
zakończenie naciśnij
OK
by zapisać
ustawienie.
Poziom 1
Poziom 2
Poziom 3 / Funkcja
Regulacja Obrazu
Tryb: W
ł
asny
Kontrast
Jasno
ść
Kolor
Ostro
ść
Odcie
ń
Zerowanie
OK
Ustawienia szczególów
Redukcja zak
ł
óce
ń
:
Wyj
ś
cie AV2:
Centrowanie RGB:
Auto
TV
0
OK
Ustawianie
J
ę
zyk/Kraj
Autoprogramowanie
Sortowanie Programów
Nazwy Programów
Ustawienia A/V
Programowanie R
ę
czne
Ustawienia szczególów
OK
Regulacja Obrazu
Tryb: W
ł
asny
Kontrast
Jasno
ść
Kolor
Ostro
ść
Odcie
ń
Zerowanie
OK
Ustawianie
J
ę
zyk/Kraj
Autoprogramowanie
Sortowanie Programów
Nazwy Programów
Ustawienia A/V
Programowanie R
ę
czne
Ustawienia szczególów
OK
Ustawienia szczególów
Redukcja zak
ł
óce
ń
:
Wyj
ś
cie AV2:
Centrowanie RGB:
Obrót Obrazu:
Auto
TV
0
0
OK
Содержание
- 105 Назначение кнопок на пульте дистанционного управления; Общее описание
- 106 специально установленные для этого контейнеры.; Подключение антенны и видеомагнитофона; Общее описание - Установка; Переключатель; выключение; видеомагнитофон
- 107 Включение и автоматическая настройка телевизора; Первое включение телевизора в работу
- 109 Введение и работа с системой меню; Вывод системы меню на экран; Схема меню; Уровень; Резкость; можно изменить только в том случае, если Вы; Цветовой Тон; можно изменять только в системе цвета NTSC (например, видеопленки; Сброс; и нажмите на
- 111 ТАЙМЕР ВЫКЛЮЧЕНИЯ; После этого нажмите; отключения, нажмите на кнопку; АВТОНАСТРОЙКА; продолжeниe
- 113 Повторите все эти шаги для настройки и
- 114 Если Вы захотите отменить эту функцию в
- 115 ШУMOПОНИЖЕНИЕ
- 117 В этом случае введите другой номер страницы.; Фастекст
- 118 Подключение дополнительных устройств; Подключение видеомагнитофона:; Дополнительная информация
- 119 Подключение внeшнeй звyкoвocпpoизвoдящeй aппapaтypы:; Использование дополнительных устройств
- 120 Спецификации; Допoлнитeльнaя инфомация
- 121 Выявление неисправностей; Неисправность; уcтpoйcтвo












