Телевизоры кинескопные Sony KV-21FT1K - инструкция пользователя по применению, эксплуатации и установке на русском языке. Мы надеемся, она поможет вам решить возникшие у вас вопросы при эксплуатации техники.
Если остались вопросы, задайте их в комментариях после инструкции.
"Загружаем инструкцию", означает, что нужно подождать пока файл загрузится и можно будет его читать онлайн. Некоторые инструкции очень большие и время их появления зависит от вашей скорости интернета.

61
PL
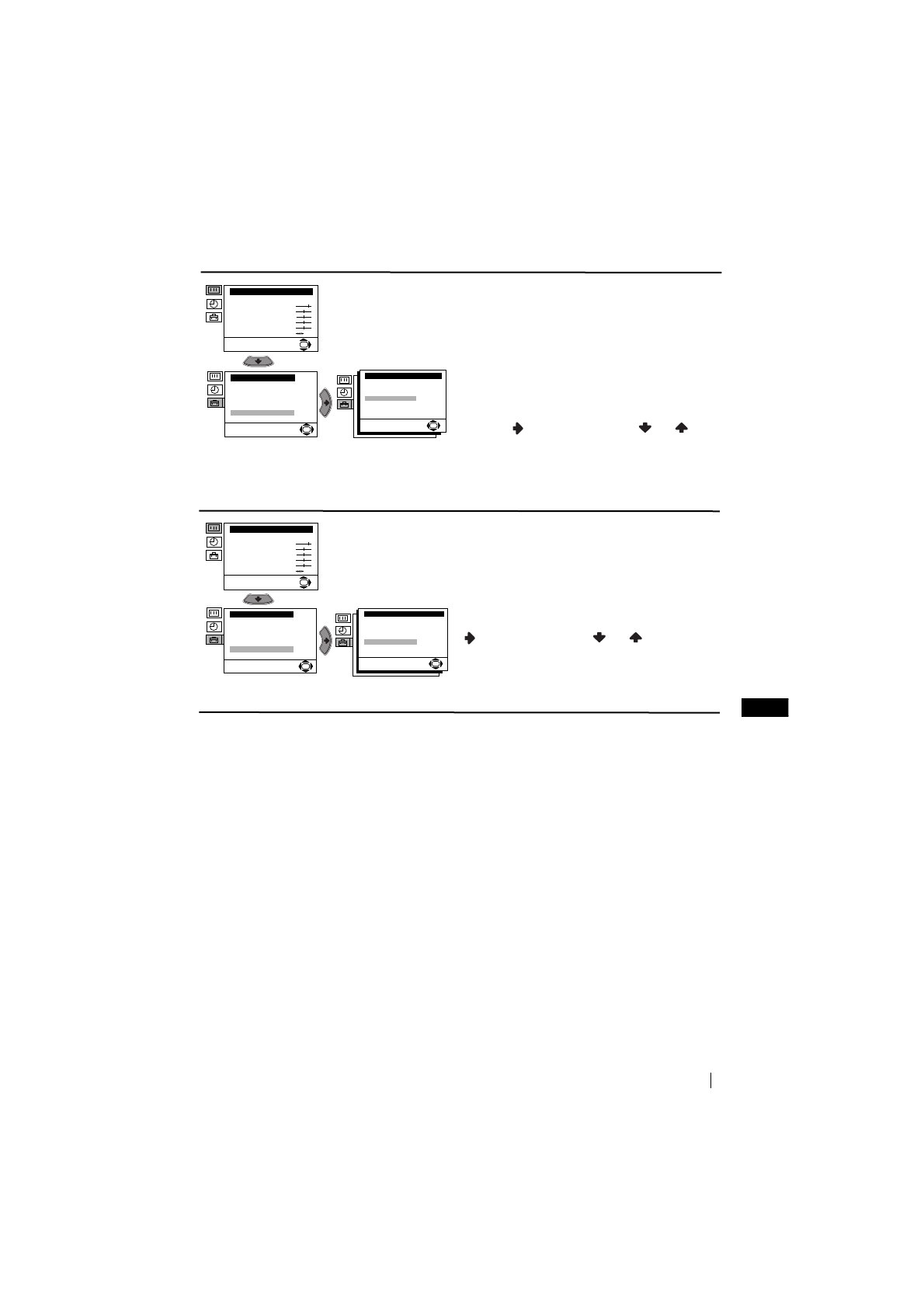
System menu na ekranie
CENTROWANIE RGB
Gdy podłączone jest źródło sygnałów RGB, jak
np. konsola “PlayStation”, może się okazać
niezbędna regulacja centrowania obrazu.
Można jej dokonać przy użyciu opcji
“Centrowanie RGB” w menu “Zaawansowane
Funkcje”.
W tym celu: widząc sygnał wejściowy RGB,
wybierz opcję “Centrowanie RGB” i naciśnij
przycisk
. Następnie naciśnij
lub
by
ustawić centrowanie obrazu między -10 i +10.
Na zakończenie naciśnij
OK
by zapisać
ustawienie.
OBRÓT OBRAZU
Z powodu magnetyzmu ziemskiego istnieje
możliwość, że obraz będzie przechylony.
Można go wówczas uregulować przy użyciu
opcji “Obrót obrazu” w menu “Zaawansowane
Funkcje”.
W tym celu: po wybraniu opcji naciśnij przycisk
. Następnie naciśnij
lub
by ustawić
przechylenie obrazu między -5 i +5. Na
zakończenie naciśnij
OK
by zapisać
ustawienie.
Poziom 1
Poziom 2
Poziom 3 / Funkcja
Regulacja Obrazu
Tryb: Własny
Kontrast
Jasność
Kolor
Ostrość
Odcień
Zerowanie
OK
Zaawansowane Funkcje
Blokada:
Redukcja zakłóceń:
Autoregulacja Dźw.:
Centrowanie RGB:
Obrót Obrazu:
Wył.
Wł.
Wł.
0
0
OK
Ustawianie
Język/Kraj
Autoprogramowanie
Sortowanie Programów
Programowanie Ręczne
Zaawansowane Funkcje
OK
Regulacja Obrazu
Tryb: Własny
Kontrast
Jasność
Kolor
Ostrość
Odcień
Zerowanie
OK
Ustawianie
Język/Kraj
Autoprogramowanie
Sortowanie Programów
Programowanie Ręczne
Zaawansowane Funkcje
OK
Zaawansowane Funkcje
Blokada:
Redukcja zakłóceń:
Autoregulacja Dźw.:
Centrowanie RGB:
Obrót Obrazu:
Wył.
Wł.
Wł.
0
0
OK
Содержание
- 84 Назначение кнопок на пульте дистанционного управления; Общее описание
- 85 выключение; Общее описание - Установка
- 86 Включение и автоматическая настройка телевизора; Первое включение телевизора в работу
- 87 Телевизор готов к работе.
- 88 Введение и работа с системой меню; Вывод системы меню на экран; Схема меню; Уровень; четкость; можно изменить только в том случае, если Вы выбрали; Цветовой тон; можно изменять только в системе цвета NTSC (например, видеопленки; Cтaндapт; и нажмите на
- 89 ТАЙМЕР ВЫКЛЮЧЕНИЯ; За одну минуту до временного; ТАЙМЕР ВКЛЮЧЕНИЯ; Индикатор
- 90 АВТОНАСТРОЙКА
- 93 RGB Чeнтpиpoвaниe
- 94 настроена. В этом случае введите другой номер страницы.; Фастекст
- 95 Подключение дополнительных устройств; Подключение; Использование дополнительных устройств; Дополнительная информация
- 96 Спецификации; Допoлнитeльнaя инфомация; Otæezataho b Cjobaknn
- 97 Выявление неисправностей; Неисправность












