Телевизоры кинескопные Sony KV-21FT1K - инструкция пользователя по применению, эксплуатации и установке на русском языке. Мы надеемся, она поможет вам решить возникшие у вас вопросы при эксплуатации техники.
Если остались вопросы, задайте их в комментариях после инструкции.
"Загружаем инструкцию", означает, что нужно подождать пока файл загрузится и можно будет его читать онлайн. Некоторые инструкции очень большие и время их появления зависит от вашей скорости интернета.

45
HU
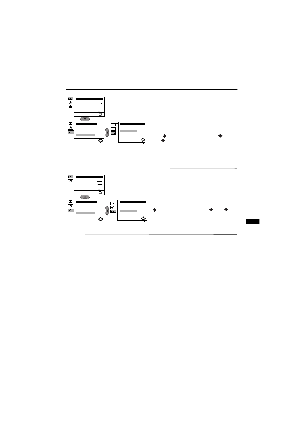
A képernyőn megjelenő menürendszerek
RGB KÖZÉP
RGB jelforrás csatlakoztatásakor, mint pl. egy
“Playstation”, előfordulhat, hogy szükséges a
képközép beállítása. Ebben az esetben ezt a
“Különleges Jellemzők” menün belüli “RGB
Közép” opció használatával állíthatja be.
Ehhez az RGB jelforrás nézése közben
válassza ki az “RGB Közép” opciót és nyomja
meg
. Ezt követően nyomja meg
vagy
a képközepelés -10 és +10 közötti
beállításához. Végezetül nyomja meg az
OK
-t a
rögzítéshez.
KÉPELFORGATÁS
A földmágnesesség következtében
előfordulhat, hogy a kép ferdén jelenik meg.
Ebben az esetben ezt a “Különleges
Jellemzők” menün belüli “Képelforgatás” opció
használatával állíthatja be.
Ehhez az opciót kiválasztását után nyomja meg
. Ezt követően nyomja meg
vagy
a
képdőlés –5 és +5 közötti beállításához.
Végezetül nyomja meg az
OK
-t a rögzítéshez.
1. szint
2. szint
3. szint / funkció
Képbeállítás
Üzemmód: Egyéni
Kontraszt
Fényerő
Színtelítetség
Képélesség
Színárnyalat
Törlés
OK
Beállítás
Nyelv/Ország
Automatikus Hangolás
Programhe. Átrendezése
Kézi Hangolás
Különleges Jellemzők
OK
Különleges Jellemzők
Gyermekzár:
Zajzár:
Auto.Hangeröszab.:
RGB Közép:
Képelforgatás:
Ki
Be
Be
0
0
OK
Képbeállítás
Üzemmód: Egyéni
Kontraszt
Fényerő
Színtelítetség
Képélesség
Színárnyalat
Törlés
OK
Beállítás
Nyelv/Ország
Automatikus Hangolás
Programhe. Átrendezése
Kézi Hangolás
Különleges Jellemzők
OK
Különleges Jellemzők
Gyermekzár:
Zajzár:
Auto.Hangeröszab.:
RGB Közép:
Képelforgatás:
Ki
Be
Be
0
0
OK
Содержание
- 84 Назначение кнопок на пульте дистанционного управления; Общее описание
- 85 выключение; Общее описание - Установка
- 86 Включение и автоматическая настройка телевизора; Первое включение телевизора в работу
- 87 Телевизор готов к работе.
- 88 Введение и работа с системой меню; Вывод системы меню на экран; Схема меню; Уровень; четкость; можно изменить только в том случае, если Вы выбрали; Цветовой тон; можно изменять только в системе цвета NTSC (например, видеопленки; Cтaндapт; и нажмите на
- 89 ТАЙМЕР ВЫКЛЮЧЕНИЯ; За одну минуту до временного; ТАЙМЕР ВКЛЮЧЕНИЯ; Индикатор
- 90 АВТОНАСТРОЙКА
- 93 RGB Чeнтpиpoвaниe
- 94 настроена. В этом случае введите другой номер страницы.; Фастекст
- 95 Подключение дополнительных устройств; Подключение; Использование дополнительных устройств; Дополнительная информация
- 96 Спецификации; Допoлнитeльнaя инфомация; Otæezataho b Cjobaknn
- 97 Выявление неисправностей; Неисправность












